TOP
|
特許
|
意匠
|
商標
特許ウォッチ
Twitter
他の特許を見る
公開番号
2025158621
公報種別
公開特許公報(A)
公開日
2025-10-17
出願番号
2024061343
出願日
2024-04-05
発明の名称
電池パック
出願人
トヨタ自動車株式会社
代理人
個人
主分類
H01M
50/242 20210101AFI20251009BHJP(基本的電気素子)
要約
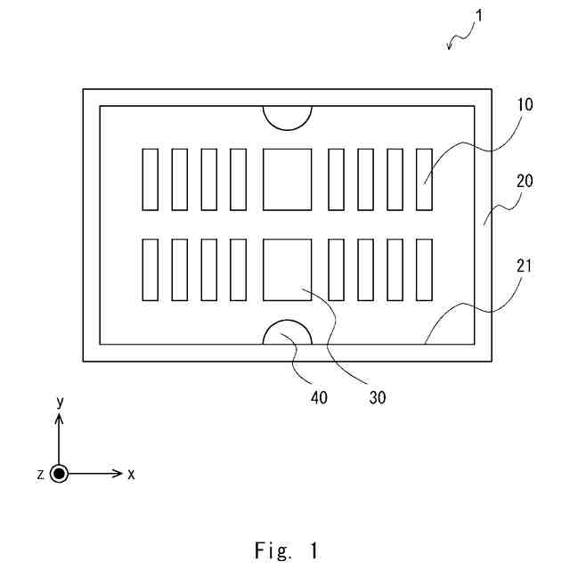
【課題】本開示により、外部より衝撃を受けた際、電池セルへ加わる衝撃荷重を好適に抑制可能な電池パックを提供できる。
【解決手段】本開示に係る電池パックは、配列された複数の電池セル10と、一対の隣り合う電池セル10の間に配置された第一部材30と、複数の電池セル10と第一部材30とを収容するケース20と、ケース20の内壁21においてケース20の内側に突出する第二部材40と、を備え、第二部材40は、第一部材30と対向する位置に配置される。
【選択図】図1
特許請求の範囲
【請求項1】
配列された複数の電池セルと、
一対の隣り合う前記電池セルの間に配置された第一部材と、
複数の前記電池セルと前記第一部材とを収容するケースと、
前記ケースの内壁において前記ケースの内側に突出する第二部材と、を備え、
前記第二部材は、前記第一部材と対向する位置に配置される、
電池パック。
発明の詳細な説明
【技術分野】
【0001】
本開示は、電池パックに関する。
続きを表示(約 1,300 文字)
【背景技術】
【0002】
複数の電池セルを搭載した電池パックが外部より衝撃を受けると、電池パック内の電池セル10に変形や位置ずれが発生する。これにより、電池パックの内部において短絡が発生する虞がある。例えば、特許文献1には、凸形状を有するバスパにより電池セル同士を電気的に接続することで、電池パックに衝撃を受けても当該凸形状の弾性変形により、電池セル10に加わる衝撃荷重を緩和する電池パックが開示されている。
【先行技術文献】
【特許文献】
【0003】
特開2021-089900号公報
【発明の概要】
【発明が解決しようとする課題】
【0004】
特許文献1に開示された電池パックに関し、発明者は以下の問題点を見出した。バスバ自体が耐えることができる荷重には限界がある。よって、バスバが耐えることができる荷重以上の衝撃荷重が電池パックに加わると、バスバは破損する。すると、電池セルに衝撃荷重が加わり、電池パックの内部において短絡が発生する虞がある。
【0005】
本開示は、このような課題を解決するためになされたものであり、外部より衝撃を受けた際、電池セルへ加わる衝撃荷重を好適に抑制可能な電池パックを提供する。
【課題を解決するための手段】
【0006】
本開示に係る電池パックは、配列された複数の電池セルと、一対の隣り合う前記電池セルの間に配置された第一部材と、複数の前記電池セルと前記第一部材とを収容するケースと、前記ケースの内壁において前記ケースの内側に突出する第二部材と、を備え、前記第二部材は、前記第一部材と対向する位置に配置される。
【発明の効果】
【0007】
本開示により、外部より衝撃を受けた際、電池セルへ加わる衝撃荷重を好適に抑制可能な電池パックを提供できる。
【図面の簡単な説明】
【0008】
図1は、本開示に係る電池パックの内部構成の説明図である。
図2は、比較例に係る電池パックに衝撃荷重が加わった際の電池パック内部の説明図である。
図3は、本開示に係る電池パックに衝撃荷重が加わった際の電池パック内部の説明図である。
【発明を実施するための形態】
【0009】
以下、発明の実施の形態を通じて本発明を説明するが、特許請求の範囲に係る発明を以下の実施形態に限定するものではない。また、実施形態で説明する構成の全てが課題を解決するための手段として必須であるとは限らない。説明の明確化のため、以下の記載及び図面は、適宜、省略、及び簡略化がなされている。各図面において、同一の要素には同一の符号が付されており、必要に応じて重複説明は省略されている。
【0010】
実施の形態1
<電池パック>
まず、図1を参照して、本開示に係る電池パックの構成について説明する。図1は、本開示に係る電池パックの内部構成の説明図である。
(【0011】以降は省略されています)
この特許をJ-PlatPat(特許庁公式サイト)で参照する
関連特許
トヨタ自動車株式会社
車両
5日前
トヨタ自動車株式会社
車両
10日前
トヨタ自動車株式会社
車両
3日前
トヨタ自動車株式会社
電池
12日前
トヨタ自動車株式会社
車両
11日前
トヨタ自動車株式会社
椅子
6日前
トヨタ自動車株式会社
電池
3日前
トヨタ自動車株式会社
方法
6日前
トヨタ自動車株式会社
方法
6日前
トヨタ自動車株式会社
モータ
4日前
トヨタ自動車株式会社
固定子
11日前
トヨタ自動車株式会社
加熱器
10日前
トヨタ自動車株式会社
飛行体
3日前
トヨタ自動車株式会社
電磁弁
6日前
トヨタ自動車株式会社
ケース
12日前
トヨタ自動車株式会社
電動車
6日前
トヨタ自動車株式会社
二次電池
11日前
トヨタ自動車株式会社
端末装置
3日前
トヨタ自動車株式会社
監視装置
11日前
トヨタ自動車株式会社
塗工装置
11日前
トヨタ自動車株式会社
電動車両
4日前
トヨタ自動車株式会社
路側装置
12日前
トヨタ自動車株式会社
製造装置
11日前
トヨタ自動車株式会社
充電設備
3日前
トヨタ自動車株式会社
蓄電装置
10日前
トヨタ自動車株式会社
判定装置
6日前
トヨタ自動車株式会社
制御装置
12日前
トヨタ自動車株式会社
駆動装置
3日前
トヨタ自動車株式会社
搬送装置
3日前
トヨタ自動車株式会社
蓄電装置
12日前
トヨタ自動車株式会社
バッテリ
11日前
トヨタ自動車株式会社
制御装置
10日前
トヨタ自動車株式会社
車両構造
10日前
トヨタ自動車株式会社
車載装置
10日前
トヨタ自動車株式会社
乾燥装置
3日前
トヨタ自動車株式会社
バッテリ
11日前
続きを見る
他の特許を見る