TOP
|
特許
|
意匠
|
商標
特許ウォッチ
Twitter
他の特許を見る
公開番号
2025160809
公報種別
公開特許公報(A)
公開日
2025-10-23
出願番号
2024063610
出願日
2024-04-10
発明の名称
バッテリーケース
出願人
三協立山株式会社
代理人
個人
主分類
H01M
10/6556 20140101AFI20251016BHJP(基本的電気素子)
要約
【課題】 バッテリーを効率よく冷却することのできるバッテリーケースの提供。
【解決手段】 複数の仕切壁材1,1,…と底板材2a,2b,2c,2dと一と他の側壁材3a,3bとを備え、仕切壁材1,1,…は、複数の中空部4a,4b,4c,4d,4eが上下に並べて設けてあり、長手方向の両端面を一と他の側壁材3a,3bに突き当ててあり、冷媒が上下方向にジグザグ状に流れるように冷媒の流路5が形成してあり、一の側壁材3aは、上部と下部に冷媒が流れる中空部6a,6cを有し、上部の中空部6aが仕切壁材1の上の中空部4aと連通し、下部の中空部6cが仕切壁材の下の中空部4dと連通している。
【選択図】 図3
特許請求の範囲
【請求項1】
複数の仕切壁材と底板材と一と他の側壁材とを備え、仕切壁材は、複数の中空部が上下に並べて設けてあり、長手方向の両端面を一と他の側壁材に突き当ててあり、冷媒が上下方向にジグザグ状に流れるように冷媒の流路が形成してあり、一の側壁材は、上部と下部に冷媒が流れる中空部を有し、上部の中空部が仕切壁材の上の中空部と連通し、下部の中空部が仕切壁材の下の中空部と連通していることを特徴とするバッテリーケース。
続きを表示(約 260 文字)
【請求項2】
複数の仕切壁材と底板材と一と他の側壁材とを備え、底板材は、複数の中空部が側壁材の長手方向に並べて設けてあり、長手方向の両端面を一と他の側壁材に突き当ててあり、一と他の側壁材は、冷媒が流れる中空部を有し、中空部が底板材の中空部と連通しており、一の側壁材の中空部から他の側壁材の中空部に向けて底板材の複数の中空部を通じて流れた冷媒が、他の側壁材の中空部から一の側壁材の中空部に向けて底板材の複数の中空部を通じて流れるように底板材に冷媒の流路がジグザグ状に設けてあることを特徴とするバッテリーケース。
発明の詳細な説明
【技術分野】
【0001】
本発明は、電気自動車等に搭載されるバッテリーケースに関する。
続きを表示(約 2,100 文字)
【背景技術】
【0002】
電気自動車のバッテリーは、バッテリーケースに収容されて車体の床下等に設置されている。かかるバッテリーケースにおいては、バッテリーを効率よく冷却できるものが求められている。
【発明の概要】
【発明が解決しようとする課題】
【0003】
本発明は以上に述べた実情に鑑み、バッテリーを効率よく冷却することのできるバッテリーケースの提供を目的とする。
【課題を解決するための手段】
【0004】
上記の課題を達成するために請求項1記載の発明によるバッテリーケースは、複数の仕切壁材と底板材と一と他の側壁材とを備え、仕切壁材は、複数の中空部が上下に並べて設けてあり、長手方向の両端面を一と他の側壁材に突き当ててあり、冷媒が上下方向にジグザグ状に流れるように冷媒の流路が形成してあり、一の側壁材は、上部と下部に冷媒が流れる中空部を有し、上部の中空部が仕切壁材の上の中空部と連通し、下部の中空部が仕切壁材の下の中空部と連通していることを特徴とする。
【0005】
請求項2記載の発明によるバッテリーケースは、複数の仕切壁材と底板材と一と他の側壁材とを備え、底板材は、複数の中空部が側壁材の長手方向に並べて設けてあり、長手方向の両端面を一と他の側壁材に突き当ててあり、一と他の側壁材は、冷媒が流れる中空部を有し、中空部が底板材の中空部と連通しており、一の側壁材の中空部から他の側壁材の中空部に向けて底板材の複数の中空部を通じて流れた冷媒が、他の側壁材の中空部から一の側壁材の中空部に向けて底板材の複数の中空部を通じて流れるように底板材に冷媒の流路がジグザグ状に設けてあることを特徴とする。
【発明の効果】
【0006】
請求項1記載の発明によるバッテリーケースは、複数の仕切壁材と底板材と一と他の側壁材とを備え、仕切壁材は、複数の中空部が上下に並べて設けてあり、長手方向の両端面を一と他の側壁材に突き当ててあり、冷媒が上下方向にジグザグ状に流れるように冷媒の流路が形成してあり、一の側壁材は、上部と下部に冷媒が流れる中空部を有し、上部の中空部が仕切壁材の上の中空部と連通し、下部の中空部が仕切壁材の下の中空部と連通していることで、バッテリーを効率よく冷却することができる。
【0007】
請求項2記載の発明によるバッテリーケースは、複数の仕切壁材と底板材と一と他の側壁材とを備え、底板材は、複数の中空部が側壁材の長手方向に並べて設けてあり、長手方向の両端面を一と他の側壁材に突き当ててあり、一と他の側壁材は、冷媒が流れる中空部を有し、中空部が底板材の中空部と連通しており、一の側壁材の中空部から他の側壁材の中空部に向けて底板材の複数の中空部を通じて流れた冷媒が、他の側壁材の中空部から一の側壁材の中空部に向けて底板材の複数の中空部を通じて流れるように底板材に冷媒の流路がジグザグ状に設けてあることで、バッテリーを効率よく冷却することができる。
【図面の簡単な説明】
【0008】
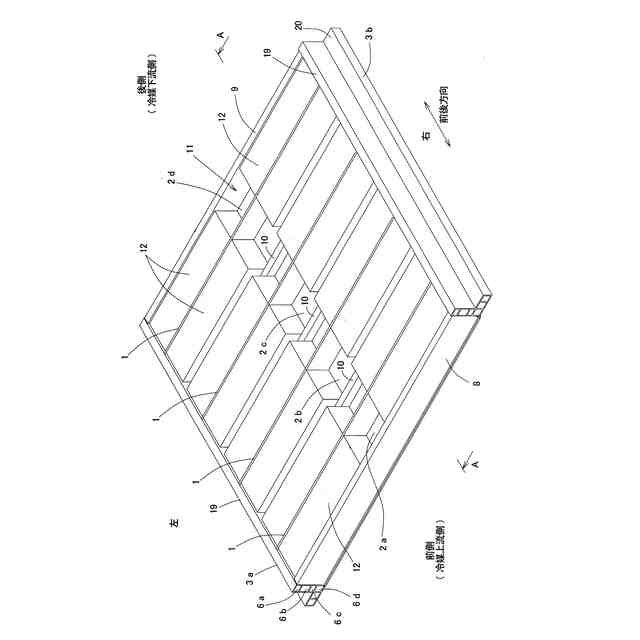
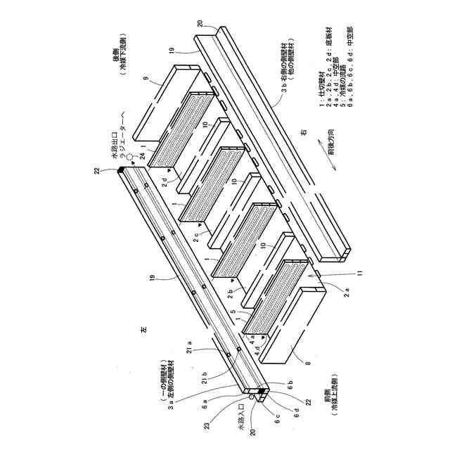
本発明のバッテリーケースの第1実施形態を示す斜視図である。
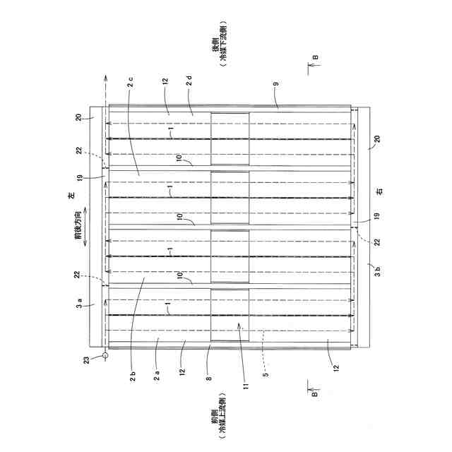
図1のA-A断面図である。
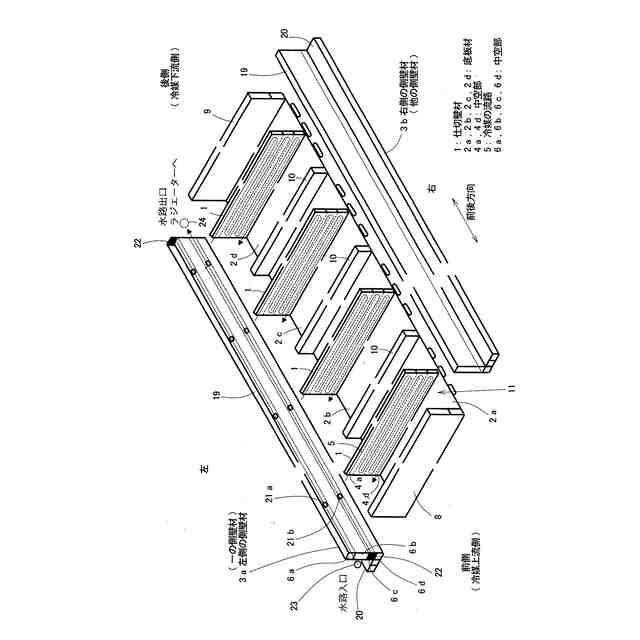
同バッテリーケースの冷媒流路を示す斜視図である。
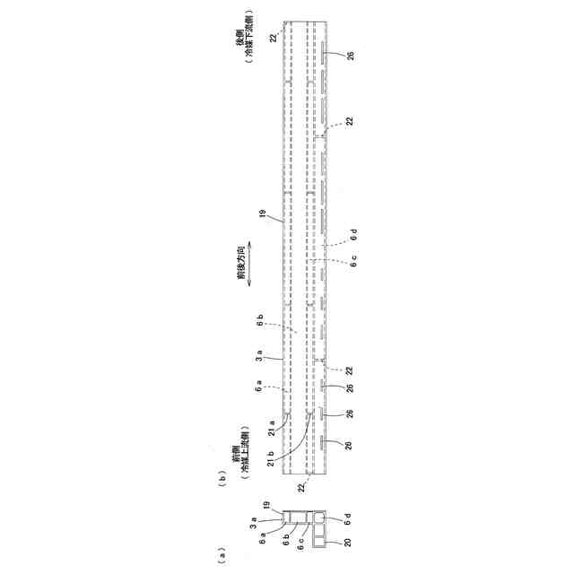
(a)は同バッテリーケースの仕切壁材の正面図、(b)は同側面図である。
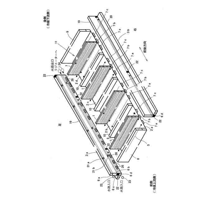
本発明のバッテリーケースの第2実施形態を示す平面図である。
図5のB-B断面図である。
同バッテリーケースの冷媒流路を示す斜視図である。
(a)は同バッテリーケースの左側の側壁材の正面図、(b)は同側面図である。
【発明を実施するための形態】
【0009】
以下、本発明の実施の形態を図面に基づいて説明する。図1~4は、本発明のバッテリーケースの一実施形態を示している。本バッテリーケースは、電気自動車の床下に搭載されるものである。
【0010】
本バッテリーケースは、図1~3に示すように、前壁材8及び後壁材9と、前壁材8と後壁材9との間に前後方向に間隔をおいて交互に配置された仕切壁材1,1,…及び連結材10,10,…と、前壁材8と連結材10との間、連結材10同士の間、連結材10と後壁材9との間とにそれぞれ設けた底板材2a,2b,2c,2dと、前壁材8、後壁材9、仕切壁材1,1,…、連結材10,10,…及び底板材2a,2b,2c,2dの長手方向の両端面に当接して固定した左右の側壁材3a,3bとで構成されている。前壁材8、後壁材9、仕切壁材1,1,…、連結材10,10,…、底板材2a,2b,2c,2d及び左右の側壁材3a,3bは、アルミニウム合金の押出形材で形成されている。
本バッテリーケースは、仕切壁材1,1,…と連結材10,10,…によって仕切られてバッテリー収容部11が前後方向に8列形成され、各バッテリー収容部11にバッテリー12が2個ずつ横に並べて収容してある。
(【0011】以降は省略されています)
この特許をJ-PlatPat(特許庁公式サイト)で参照する
関連特許
三協立山株式会社
構造体
4日前
三協立山株式会社
構造体
27日前
三協立山株式会社
構造体
27日前
三協立山株式会社
構造体
27日前
三協立山株式会社
構造体
27日前
三協立山株式会社
構造体
27日前
三協立山株式会社
構造体
27日前
三協立山株式会社
開口部装置
19日前
三協立山株式会社
開口部装置
1か月前
三協立山株式会社
水耕栽培装置
17日前
三協立山株式会社
荷物昇降装置
27日前
三協立山株式会社
バッテリーケース
3日前
三協立山株式会社
構造体、構造体の製造方法
27日前
APB株式会社
蓄電セル
2日前
東ソー株式会社
絶縁電線
4日前
個人
フレキシブル電気化学素子
16日前
ローム株式会社
半導体装置
18日前
ローム株式会社
半導体装置
3日前
ローム株式会社
半導体装置
23日前
株式会社ユーシン
操作装置
16日前
日新イオン機器株式会社
イオン源
12日前
太陽誘電株式会社
コイル部品
16日前
株式会社ホロン
冷陰極電子源
10日前
太陽誘電株式会社
全固体電池
23日前
株式会社ホロン
冷陰極電子源
23日前
株式会社GSユアサ
蓄電装置
23日前
株式会社GSユアサ
蓄電設備
16日前
株式会社GSユアサ
蓄電設備
16日前
オムロン株式会社
電磁継電器
17日前
ノリタケ株式会社
熱伝導シート
16日前
サクサ株式会社
電池の固定構造
16日前
トヨタ自動車株式会社
バッテリ
2日前
TDK株式会社
電子部品
23日前
トヨタ自動車株式会社
冷却構造
4日前
北道電設株式会社
配電具カバー
2日前
日本特殊陶業株式会社
保持装置
23日前
続きを見る
他の特許を見る