TOP
|
特許
|
意匠
|
商標
特許ウォッチ
Twitter
他の特許を見る
公開番号
2025167248
公報種別
公開特許公報(A)
公開日
2025-11-07
出願番号
2024071683
出願日
2024-04-25
発明の名称
保持装置
出願人
日本特殊陶業株式会社
代理人
個人
主分類
H01L
21/683 20060101AFI20251030BHJP(基本的電気素子)
要約
【課題】載置面における均熱性を向上させることができる保持装置を提供すること。
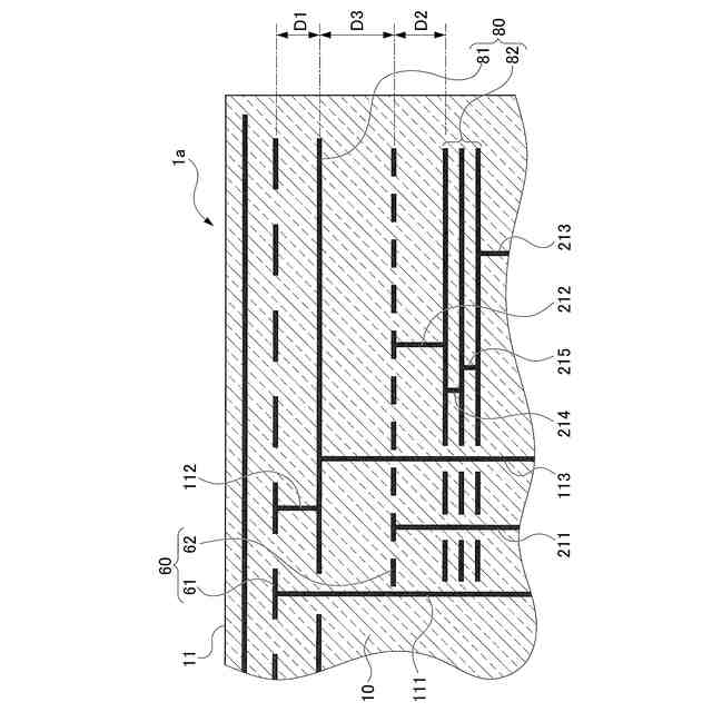
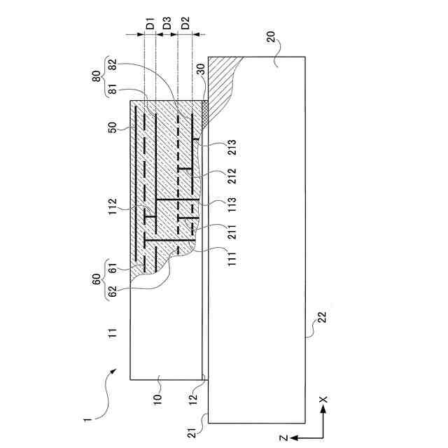
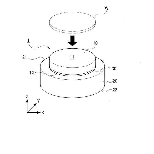
【解決手段】板状部材10と、ヒータ電極60と、ドライバー電極80とを備え、板状部材10の載置面11上に半導体ウエハWを保持する静電チャック1において、ヒータ電極60は、第1ヒータ電極61と、第1ヒータ電極61と下面12の間に配置され、第1ヒータ電極61より発熱抵抗体を多く備える第2ヒータ電極62とを備え、ドライバー電極80は、第1ヒータ電極61に電気的に接続される第1ドライバー電極81と、第2ヒータ電極62に電気的に接続される第2ドライバー電極82とを備え、板状部材10のZ軸方向における各電極間の距離の関係が、第1ヒータ電極61と第1ドライバー電極81との距離をD1、第2ヒータ電極62と第2ドライバー電極82との距離をD2、第1ドライバー電極81と第2ヒータ電極62との距離をD3とすると、D1<D3、かつ、D1<D2を満たしている。
【選択図】図2
特許請求の範囲
【請求項1】
第1の方向に略直交する第1の表面および第2の表面を有する板状部材と、
前記板状部材内に配置され、少なくとも1つ以上の発熱抵抗体を備えるヒータ電極と、
前記発熱抵抗体に導通部材を介して電気的に接続され、面方向へ広がるように形成されたドライバー電極と、を備え、
前記板状部材の前記第1の表面上に対象物を保持する保持装置において、
前記ヒータ電極は、
第1ヒータ電極と、
前記第1ヒータ電極と前記板状部材の前記第2の表面との間に配置され、前記第1ヒータ電極より前記発熱抵抗体を多く備える第2ヒータ電極と、を備え、
前記ドライバー電極は、
前記第1ヒータ電極に電気的に接続される第1ドライバー電極と、
前記第2ヒータ電極に電気的に接続される第2ドライバー電極と、を備え、
前記板状部材の前記第1の方向における各電極間の距離の関係が、
前記第1ヒータ電極と前記第1ドライバー電極との距離をD1、前記第2ヒータ電極と前記第2ドライバー電極との距離をD2、前記第1ドライバー電極と前記第2ヒータ電極との距離をD3とすると、
D1<D3、かつ、D1<D2
を満たすことを特徴とする保持装置。
続きを表示(約 380 文字)
【請求項2】
請求項1に記載する保持装置において、
前記第2ヒータ電極と前記第2ドライバー電極との距離D2と、前記第1ドライバー電極と前記第2ヒータ電極との距離D3とが、
D2≦D3
を満たすことを特徴とする保持装置。
【請求項3】
請求項1又は請求項2に記載する保持装置において、
それぞれの面内における前記第1ドライバー電極の総面積と前記第2ドライバー電極の総面積とを比較すると、前記第1ドライバー電極が前記第2ドライバー電極より大きい
ことを特徴とする保持装置。
【請求項4】
請求項1又は請求項2に記載する保持装置において、
前記第2ドライバー電極は、前記第2ヒータ電極と前記板状部材の前記第2の表面との間に配置されている
ことを特徴とする保持装置。
発明の詳細な説明
【技術分野】
【0001】
本開示は、対象物を保持する保持装置に関する。
続きを表示(約 2,000 文字)
【背景技術】
【0002】
対象物を保持する保持装置として、例えば、静電チャックが知られている。このような静電チャックでは、対象物が載置される載置面における均熱性(温度均一性)が要求されている。温度が均一でないと対象物に熱ひずみ等が発生し、対象物に対する各種処理を高精度に行うことができなくなるからである。
【0003】
そこで、例えば特許文献1に、第1発熱部(局所加熱用で発熱体数が多い方)と第2発熱部(全体加熱用で発熱体数が少ない方)とを備える静電チャックが開示されている。この静電チャックでは、第2発熱部により載置面の全体を均一に加熱するとともに、第1発熱部で局所的に温度調整を行うことにより、載置面における温度分布を均一にするようになっている。
【先行技術文献】
【特許文献】
【0004】
特開2020-115583号公報
【発明の概要】
【発明が解決しようとする課題】
【0005】
しかしながら、上記の静電チャックでは、第1発熱部(局所加熱用)が、第2発熱部(全体加熱用)よりも載置面側に配置されている。そのため、第1発熱部への給電経路(ビア及びパッド)の存在により、第2発熱部の発熱体を面全域に配置することができない。つまり、第1発熱部は発熱体数が多いため、給電経路数も多くなり、これら多数の給電経路を避けて第2発熱部の発熱体を配置する必要があるため、第2発熱部の発熱体を面全域に配置することができなくなるのである。そのため、第2発熱部によって載置面を均一に加熱することが難しくなる。
【0006】
ここで、上記の静電チャックにおいて、第2発熱部により載置面を均一に加熱することができたとしても、第1発熱部によって局所的に加熱されてしまうため、載置面における均熱性が低下するおそれがある。さらに、載置面に近い位置において、第1発熱部への給電経路が多く配置されているため、それらの給電経路からの発熱により、載置面における均熱性をさらに低下させてしまうおそれもある。
【0007】
そこで、本開示は上記した問題点を解決するためになされたものであり、載置面における均熱性を向上させることができる保持装置を提供することを目的とする。
【課題を解決するための手段】
【0008】
上記課題を解決するためになされた本開示の一形態は、
第1の方向に略直交する第1の表面および第2の表面を有する板状部材と、
前記板状部材内に配置され、少なくとも1つ以上の発熱抵抗体を備えるヒータ電極と、
前記発熱抵抗体に導通部材を介して電気的に接続され、面方向へ広がるように形成されたドライバー電極と、を備え、
前記板状部材の前記第1の表面上に対象物を保持する保持装置において、
前記ヒータ電極は、
第1ヒータ電極と、
前記第1ヒータ電極と前記板状部材の前記第2の表面との間に配置され、前記第1ヒータ電極より前記発熱抵抗体を多く備える第2ヒータ電極と、を備え、
前記ドライバー電極は、
前記第1ヒータ電極に電気的に接続される第1ドライバー電極と、
前記第2ヒータ電極に電気的に接続される第2ドライバー電極と、を備え、
前記板状部材の前記第1の方向における各電極間の距離の関係が、
前記第1ヒータ電極と前記第1ドライバー電極との距離をD1、前記第2ヒータ電極と前記第2ドライバー電極との距離をD2、前記第1ドライバー電極と前記第2ヒータ電極との距離をD3とすると、
D1<D3、かつ、D1<D2
を満たすことを特徴とする。
【0009】
この保持装置では、第1ヒータ電極が第2ヒータ電極より第1の表面側に配置されることより、第2ヒータ電極への給電経路となる導通部材が、第1ヒータ電極及び第1ドライバー電極の配置に影響を及ぼすことがないため、第1ヒータ電極及び第1ドライバー電極を面内全域に配置することができる。そのため、第1の表面側に配置される第1ヒータ電極により第1の表面を均一に加熱することができる。従って、対象物が載置される第1の表面(載置面)における均熱性を向上させることができる。
【0010】
そして、各電極間の距離D1~D3が、D1<D3、かつ、D1<D2を満たしているため、第1ヒータ電極と第1ドライバー電極との距離D1が、各電極間では最も小さくなる。そのため、第1ヒータ電極の熱を、第1ドライバー電極によって面方向へ広げることができる。これにより、第1の表面(載置面)における均熱性をより向上させることができる。
(【0011】以降は省略されています)
この特許をJ-PlatPat(特許庁公式サイト)で参照する
関連特許
東ソー株式会社
絶縁電線
16日前
APB株式会社
蓄電セル
14日前
個人
フレキシブル電気化学素子
28日前
日新イオン機器株式会社
イオン源
24日前
ローム株式会社
半導体装置
1か月前
株式会社ユーシン
操作装置
28日前
マクセル株式会社
電源装置
8日前
ローム株式会社
半導体装置
1か月前
株式会社東芝
端子台
8日前
ローム株式会社
半導体装置
15日前
太陽誘電株式会社
コイル部品
28日前
オムロン株式会社
電磁継電器
29日前
株式会社GSユアサ
蓄電装置
9日前
株式会社GSユアサ
蓄電装置
9日前
株式会社GSユアサ
蓄電装置
1日前
太陽誘電株式会社
全固体電池
1か月前
株式会社GSユアサ
蓄電設備
28日前
株式会社GSユアサ
蓄電設備
28日前
株式会社ホロン
冷陰極電子源
22日前
トヨタ自動車株式会社
バッテリ
14日前
トヨタ自動車株式会社
バッテリ
29日前
日東電工株式会社
積層体
29日前
日本特殊陶業株式会社
保持装置
17日前
ノリタケ株式会社
熱伝導シート
28日前
北道電設株式会社
配電具カバー
14日前
日新イオン機器株式会社
基板処理装置
11日前
サクサ株式会社
電池の固定構造
28日前
トヨタ自動車株式会社
蓄電装置
9日前
トヨタ自動車株式会社
冷却構造
16日前
日本特殊陶業株式会社
保持装置
今日
トヨタ自動車株式会社
蓄電装置
28日前
TDK株式会社
電子部品
1か月前
日本特殊陶業株式会社
保持装置
1か月前
日本特殊陶業株式会社
保持装置
1か月前
ローム株式会社
半導体装置
1か月前
住友電装株式会社
コネクタ
16日前
続きを見る
他の特許を見る