TOP
|
特許
|
意匠
|
商標
特許ウォッチ
Twitter
他の特許を見る
公開番号
2025165844
公報種別
公開特許公報(A)
公開日
2025-11-05
出願番号
2024079765
出願日
2024-04-23
発明の名称
変流器及び零相変流器
出願人
甲神電機株式会社
代理人
主分類
H01F
38/28 20060101AFI20251028BHJP(基本的電気素子)
要約
【課題】コの字型リードピンの短手が外ケースの中央開口を通過するように組装すること容易とする変流器及び零相変流器をを提供する。
【解決手段】外ケース1の内側円筒2と外側円筒3のそれぞれに成形樹脂注入口を兼ねたコの字型リードピン10の組装を容易にするための低い箇所7a、7bを設ける。
【選択図】図2-1
特許請求の範囲
【請求項1】
高い比透磁率特性を有する環状磁心に巻線を施したコイルを、底面及び二重円筒状壁を有するケースに収納し、加熱流動化した成形樹脂を成形金型注入口から前記ケースに注ぎ込み前記コイルと一体に加圧成形した変流器もしくは零相変流器であって、
前記ケースは、前記二重円筒状壁の内側と外側のそれぞれの円筒に低い箇所を備えることを特徴とする変流器もしくは零相変流器。
続きを表示(約 280 文字)
【請求項2】
前記二重円筒状壁の内側と外側のそれぞれの円筒に設けられた低い箇所は外側円筒を外周から内側円筒の方向に観測した際に少なくとも1部分が重なることを特徴とする請求項1記載の変流器もしくは零相変流器。
【請求項3】
前記二重円筒状壁に設けられた低い箇所は前記ケースの天面よりも所定以上の低いことを特徴とする請求項1または請求項2に記載の変流器もしくは零相変流器。
【請求項4】
前記二重円筒状壁に設けられた低い箇所は前記の成形金型注入口を基準とした所定の範囲内に設けられることを特徴とする変流器もしくは零相変流器。
発明の詳細な説明
【技術分野】
【0001】
本発明は、交流電流または、直流が重畳した交流電流、例えば半波正弦波交流電流もしくはその漏洩電流を計測するための変流器及び零相変流器に関する。
続きを表示(約 1,600 文字)
【背景技術】
【0002】
図4は、従来の一般的な変流器を示す概略図である。従来の変流器は、環状の磁心からなる閉磁路に2次巻線W2が巻回されており、計測対象の電流の流れる1次巻線W1が閉磁路の中央開口を貫通している。その動作は、1次巻線W1に電流I1が流れると、電磁誘導によって電流I1の大きさに対応した、好ましくは比例した電流I2が2次巻線W2に発生する。このとき2次巻線W2に負担抵抗を接続することによって、電圧信号が2次巻線W2に出力され、その結果、1次巻線W1に流れる電流I1を電圧信号として計測することが可能になる。
【0003】
また従来の変流器の製造方法としては、金属の型を用意し、少なくとも一つの巻線を備えた磁心すなわちコイルを外ケースに組み込んだ状態で型内に挿入し、型を閉鎖して、加熱流動化した成形樹脂を加圧下で型に充填することにより、加圧成形し一体に封止成形する方法がある。(例えば特許文献1参照)
【先行技術文献】
【特許文献】
【0004】
特開平7-183145号
【発明の概要】
【発明が解決しようとする課題】
【0005】
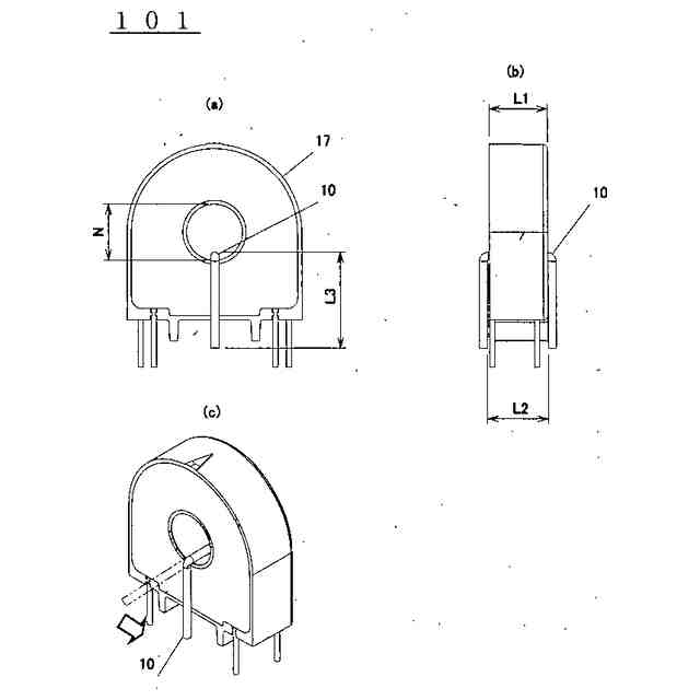
図5は従来の変流器101の構造の一例を示した図である。図5(a)(b)に示すようにコの字型リードピン10を1次巻線として変流器101の中央開口を通過させている。変流器101の外ケース17の高さL1とコの字型リードピン10の短手の長さL2がほぼ同等でかつ外ケース17の中央開口の直径Nがコの字型リードピン10の短手の長さL2および長手の長さL3よりも小さい場合にコの字型リードピン10の短手が中央開口を通過するように組装することは難しく、ストレートなピンを中央開口に通した後、図5(c)の想像線にて示すように曲げ加工を施しコの字型にする必要があり工数が増加するという課題がある。
【課題を解決するための手段】
【0006】
この発明における変流器もしくは零相変流器は、高い比透磁率特性を有する環状磁心に巻線を施したコイルを、底面及び二重円筒状壁を有するケースに収納し、加熱流動化した成形樹脂を成形金型注入口からケースに注ぎ込みコイルと一体に加圧成形する構造であって、ケースは二重円筒状壁に成形樹脂注入口を兼ねたコの字型リードピンを容易に組装するための低い箇所を備えるものである。
【発明の効果】
【0007】
この発明は上記の通り、ケースの二重円筒状壁に備えた周囲より所定以上低い箇所にてコの字型リードピンの端末の一方を中央開口に通した状態での方向転換を可能にして中央開口をコの字型リードピンの短手が通過するような向きに組み付けることおよびケース外部からの成形樹脂注入を容易にする効果を持つ。
【図面の簡単な説明】
【0008】
本発明の実施の形態1における変流器もしくは零相変流器を示す図である。
本発明の実施の形態1における変流器もしくは零相変流器に用いる外ケースを示す図である。
本発明の実施の形態2における変流器もしくは零相変流器に用いる外ケースを示す図である。
一般的な変流器を示す概略図である。
一般的な変流器の構造について一例を示す図である。
【発明を実施するための形態】
【0009】
実施の形態1.
図1はこの発明の実施の形態1における変流器もしくは零相変流器100で、図1(a)は平面図、図1(b)はA-A線断面図、図1(c)は正面図、図1(d)はアイソメ図、図1(e)はコの字型リードピン10の正面図、図1(f)はコイル13のアイソメ図を示す。
【0010】
図1(e)にて示した10は1次電流通電用のコの字型リードピンであり、11は長手、12は短手を示す。
(【0011】以降は省略されています)
この特許をJ-PlatPat(特許庁公式サイト)で参照する
関連特許
甲神電機株式会社
変流器
6か月前
甲神電機株式会社
電流検出装置
3日前
甲神電機株式会社
変流器及び零相変流器
3日前
APB株式会社
蓄電セル
15日前
東ソー株式会社
絶縁電線
17日前
個人
フレキシブル電気化学素子
29日前
マクセル株式会社
電源装置
9日前
株式会社東芝
端子台
9日前
日新イオン機器株式会社
イオン源
25日前
株式会社ユーシン
操作装置
29日前
ローム株式会社
半導体装置
16日前
株式会社GSユアサ
蓄電設備
29日前
株式会社GSユアサ
蓄電設備
29日前
太陽誘電株式会社
コイル部品
29日前
オムロン株式会社
電磁継電器
1か月前
株式会社ホロン
冷陰極電子源
23日前
株式会社GSユアサ
蓄電装置
2日前
株式会社GSユアサ
蓄電装置
10日前
株式会社GSユアサ
蓄電装置
10日前
トヨタ自動車株式会社
冷却構造
17日前
日本特殊陶業株式会社
保持装置
18日前
日東電工株式会社
積層体
1か月前
サクサ株式会社
電池の固定構造
29日前
日本特殊陶業株式会社
保持装置
1日前
北道電設株式会社
配電具カバー
15日前
日新イオン機器株式会社
基板処理装置
12日前
トヨタ自動車株式会社
バッテリ
15日前
トヨタ自動車株式会社
蓄電装置
29日前
トヨタ自動車株式会社
蓄電装置
10日前
ノリタケ株式会社
熱伝導シート
29日前
株式会社トクヤマ
シリコンエッチング液
23日前
トヨタ自動車株式会社
密閉型電池
11日前
甲神電機株式会社
変流器及び零相変流器
3日前
株式会社トクヤマ
シリコンエッチング液
23日前
日亜化学工業株式会社
半導体レーザ素子
12日前
株式会社ダイヘン
搬送装置
29日前
続きを見る
他の特許を見る