TOP
|
特許
|
意匠
|
商標
特許ウォッチ
Twitter
他の特許を見る
公開番号
2025153257
公報種別
公開特許公報(A)
公開日
2025-10-10
出願番号
2024055637
出願日
2024-03-29
発明の名称
加熱器
出願人
トヨタ自動車株式会社
,
パナソニックオートモーティブシステムズ株式会社
代理人
弁理士法人深見特許事務所
主分類
H01M
10/6571 20140101AFI20251002BHJP(基本的電気素子)
要約
【課題】熱媒体が過剰に加熱されて沸騰することを抑制可能な加熱器を提供する。
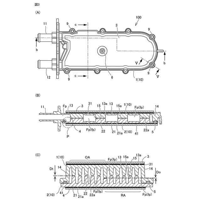
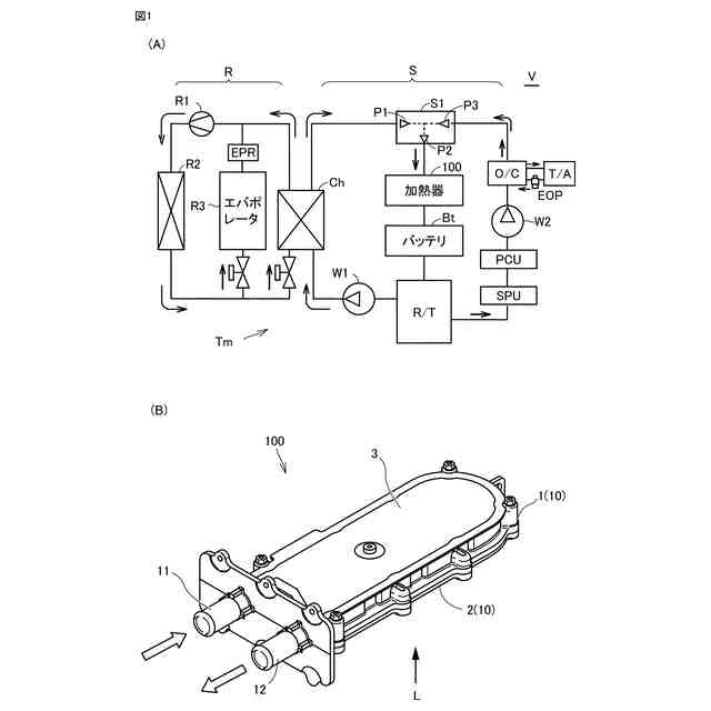
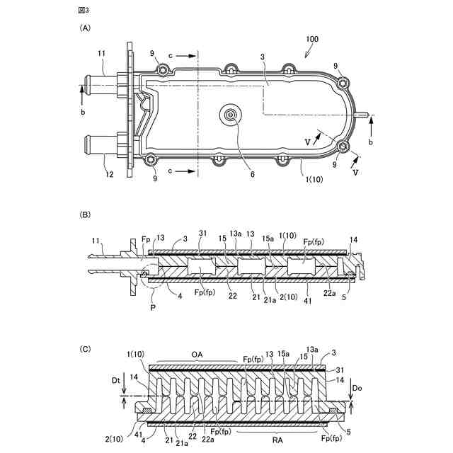
【解決手段】加熱器100のアッパーケース1は、熱媒体が流入する入口パイプ11と熱媒体が流出する出口パイプ12を備える。アッパーケース1にロアケース2が組み付けられることにより、熱媒体の流路Fpが形成される。流路Fpは、アッパーケース1に複数のフィン15の端面15aと、ロアケース2のフィン22の端面22aが対向して形成された、複数の分岐流路fpから構成される。アッパーケース1の設置面13aに電気ヒータ3が設けられ、ロアケースの設置面21aに電気ヒータ4が設けられる。
【選択図】図3
特許請求の範囲
【請求項1】
熱媒体を加熱する加熱器であって、
前記熱媒体が流れる流路を形成するケースを備え、
前記ケースは、
前記流路に突出する複数のフィンと、
前記流路と反対側に形成された設置面と、を有しており、
前記設置面に、加熱部が設けられている、加熱器。
続きを表示(約 780 文字)
【請求項2】
前記ケースは、複数の第1フィンが突出する第1ケース部材と、複数の第2フィンが突出する第2ケース部材を含み、前記第1ケース部材と前記第2ケース部材とによって形成された空間に前記流路を形成し、
前記第1ケース部材および前記第2ケース部材の少なくとも一方に前記加熱部が設けられている、請求項1に記載の加熱器。
【請求項3】
前記ケースの一端側に設けられ、前記熱媒体が流入する流入口と、
前記ケースの前記一端側に設けられ、前記熱媒体が流出する吐出口と、をさらに備え、
前記流路は、前記第1ケース部材から突出する前記第1フィンの端面と前記第2ケース部材から突出する前記第2フィンの端面とが対向して形成された、複数の分岐流路から構成され、
前記分岐流路は、
前記流入口に接続する往路領域と、
前記吐出口に接続する復路領域と、
前記ケースの他端側において、前記往路領域と前記復路領域とを接続する反転領域と、を含み、
前記往路領域と前記復路領域との境界における、前記第1フィンの端面と前記第2フィンの端面との距離は、他の部分における前記第1フィンの端面と前記第2フィンの端面との距離より短い、請求項2に記載の加熱器。
【請求項4】
前記流入口および前記吐出口は、前記第1ケース部材に設けられ、
前記第1ケース部材が、鉛直方向上方に配置される、請求項3に記載の加熱器。
【請求項5】
前記加熱部は、シート状の電気ヒータであり、
前記電気ヒータの中央部が前記設置面に固定され、
前記ケースは、前記電気ヒータの周縁部が前記設置面から離間すると、前記周縁部と当接する係合部を備える、請求項1から請求項4のいずれか一項に記載の加熱器。
発明の詳細な説明
【技術分野】
【0001】
本開示は、加熱器に関し、特に、熱媒体を加熱する加熱器に関する。
続きを表示(約 1,400 文字)
【背景技術】
【0002】
特開2023-122813号公報(特許文献1)には、二次電池スタックの暖機装置が開示されている。この暖機装置は、熱媒体を加熱する加熱器を有する。この加熱器は、熱媒体が通過する容器内に配置された発熱器を備える。発熱器は、低熱容量の導電材料で形成されたメタルハニカムから構成され、電圧が印加されることにより発熱する電気ヒータである。特許文献1の加熱器では、発熱器(電気ヒータ)の表面と熱媒体との間で、直接、熱交換を行い、熱媒体が液体から蒸気に変化する。
【先行技術文献】
【特許文献】
【0003】
特開2023-122813号公報
【発明の概要】
【発明が解決しようとする課題】
【0004】
熱媒体を用いた暖機装置において、液体から蒸気への状態変化を伴わず、暖機を行うことが望まれる場合もある。この場合、熱媒体の沸騰を回避するために、熱媒体の過剰な加熱を抑制することが好ましい。
【0005】
本開示の目的は、熱媒体が過剰に加熱されて沸騰することを抑制可能な加熱器を提供することである。
【課題を解決するための手段】
【0006】
本開示に係る加熱器は、熱媒体を加熱する加熱器である。加熱器は、熱媒体が流れる流路を形成するケースを備える。ケースは、流路に突出する複数のフィンと、流路と反対側に形成された設置面と、を有しており、設置面に、加熱部が設けられている。
【0007】
この構成によれば、ケースは、熱媒体が流れる流路に突出するフィンと、流路と反対側に形成した設置面を有する。そして、ケースの設置面に、加熱部が設けられている。加熱部の熱は、ケースおよびフィンを介して熱媒体に伝わり、熱交換が行われる。熱媒体が加熱部と接触ないので、熱媒体が過剰加熱され沸騰することを抑制できる。
【0008】
好ましくは、ケースは、複数の第1フィンが突出する第1ケース部材と、複数の第2フィンが突出する第2ケース部材を含み、第1ケース部材と第2ケース部材とによって形成された空間に流路を形成する。第1ケース部材および第2ケース部材の少なくとも一方に加熱部が設けられてよい。
【0009】
この構成によれば、第1ケース部材と第2ケース部材を組み付けることにより、比較的容易に、流路を形成できる。加熱部は、第1ケース部材あるいは第2ケース部材の一方のみに設けてもよく、第1ケース部材および第2ケース部材の両方に設けてもよい。
【0010】
好ましくは、加熱器は、ケースの一端側に設けられ熱媒体が流入する流入口と、ケースの一端側に設けられ熱媒体が流出する吐出口と、をさらに備える。流路は、第1ケース部材から突出する第1フィンの端面と第2ケース部材から突出する第2フィンの端面とが対向して形成された、複数の分岐流路から形成される。分岐流路は、流入口に接続する往路領域と、吐出口に接続する復路領域と、ケースの他端側において、往路領域と復路領域とを接続する反転領域と、を含む。往路領域と復路領域との境界における、第1フィンの端面と第2フィンの端面との距離は、他の部分における第1フィンの端面と第2フィンの端面との距離より短くてよい。
(【0011】以降は省略されています)
この特許をJ-PlatPat(特許庁公式サイト)で参照する
関連特許
トヨタ自動車株式会社
電池
6日前
トヨタ自動車株式会社
車両
4日前
トヨタ自動車株式会社
車両
14日前
トヨタ自動車株式会社
車両
10日前
トヨタ自動車株式会社
電池
5日前
トヨタ自動車株式会社
車両
10日前
トヨタ自動車株式会社
車両
3日前
トヨタ自動車株式会社
ロータ
12日前
トヨタ自動車株式会社
電動車
12日前
トヨタ自動車株式会社
加熱器
3日前
トヨタ自動車株式会社
固定子
4日前
トヨタ自動車株式会社
ケース
5日前
トヨタ自動車株式会社
回転子
10日前
トヨタ自動車株式会社
電動車
6日前
トヨタ自動車株式会社
電動車
10日前
トヨタ自動車株式会社
電動車
10日前
トヨタ自動車株式会社
電解液
10日前
トヨタ自動車株式会社
電動車
10日前
トヨタ自動車株式会社
ロボット
6日前
トヨタ自動車株式会社
バッテリ
4日前
トヨタ自動車株式会社
製造装置
4日前
トヨタ自動車株式会社
蓄電装置
14日前
トヨタ自動車株式会社
制御装置
14日前
トヨタ自動車株式会社
二次電池
4日前
トヨタ自動車株式会社
塗工装置
4日前
トヨタ自動車株式会社
蓄電セル
12日前
トヨタ自動車株式会社
蓄電セル
12日前
トヨタ自動車株式会社
蓄電装置
12日前
トヨタ自動車株式会社
蓄電セル
10日前
トヨタ自動車株式会社
塗布装置
12日前
トヨタ自動車株式会社
バッテリ
4日前
トヨタ自動車株式会社
駆動装置
10日前
トヨタ自動車株式会社
切断装置
10日前
トヨタ自動車株式会社
育苗装置
11日前
トヨタ自動車株式会社
蓄電装置
11日前
トヨタ自動車株式会社
蓄電装置
11日前
続きを見る
他の特許を見る