TOP
|
特許
|
意匠
|
商標
特許ウォッチ
Twitter
他の特許を見る
公開番号
2025152711
公報種別
公開特許公報(A)
公開日
2025-10-10
出願番号
2024054745
出願日
2024-03-28
発明の名称
情報処理装置
出願人
トヨタ自動車株式会社
代理人
個人
,
個人
,
個人
主分類
G08G
5/00 20250101AFI20251002BHJP(信号)
要約
【課題】バッテリー駆動の飛行体の充電技術を改善する。
【解決手段】情報処理装置10は、複数の移動型充電装置の位置情報と、バッテリー駆動の飛行体の飛行経路情報とを取得し、取得された位置情報と飛行経路情報とに基づき、複数の移動型充電装置と飛行体とのマッチングを実行し、マッチングの結果に応じて、複数の移動型充電装置の配置場所を決定する制御部を備える。
【選択図】図1
特許請求の範囲
【請求項1】
複数の移動型充電装置の位置情報と、バッテリー駆動の飛行体の飛行経路情報とを取得し、
取得された位置情報と飛行経路情報とに基づき、複数の移動型充電装置と飛行体とのマッチングを実行し、
マッチングの結果に応じて、複数の移動型充電装置の配置場所を決定する制御部、
を備える、
情報処理装置。
発明の詳細な説明
【技術分野】
【0001】
本開示は、情報処理装置に関する。
続きを表示(約 1,000 文字)
【背景技術】
【0002】
従来、飛行体に、磁気共鳴方式の非接触給電により電力を受電する受電装置、及び受電装置により受電した電力によって飛行のための推力を得る推力発生機構を設ける技術が開示されている(例えば特許文献1)。
【先行技術文献】
【特許文献】
【0003】
国際公開第2017/203590号
【発明の概要】
【発明が解決しようとする課題】
【0004】
従来、バッテリー駆動の飛行体の陸上における長距離輸送技術については検討されていなかった。つまりバッテリー駆動の飛行体に係る充電技術には改善の余地があった。
【0005】
かかる事情に鑑みてなされた本開示の目的は、バッテリー駆動の飛行体に係る充電技術を改善することにある。
【課題を解決するための手段】
【0006】
本開示の一実施形態に係る情報処理装置は、
複数の移動型充電装置の位置情報と、バッテリー駆動の飛行体の飛行経路情報とを取得し、
取得された位置情報と飛行経路情報とに基づき、複数の移動型充電装置と飛行体とのマッチングを実行し、
マッチングの結果に応じて、複数の移動型充電装置の配置場所を決定する制御部、
を備える。
【発明の効果】
【0007】
本開示の一実施形態によれば、バッテリー駆動の飛行体に係る充電技術が改善される。
【図面の簡単な説明】
【0008】
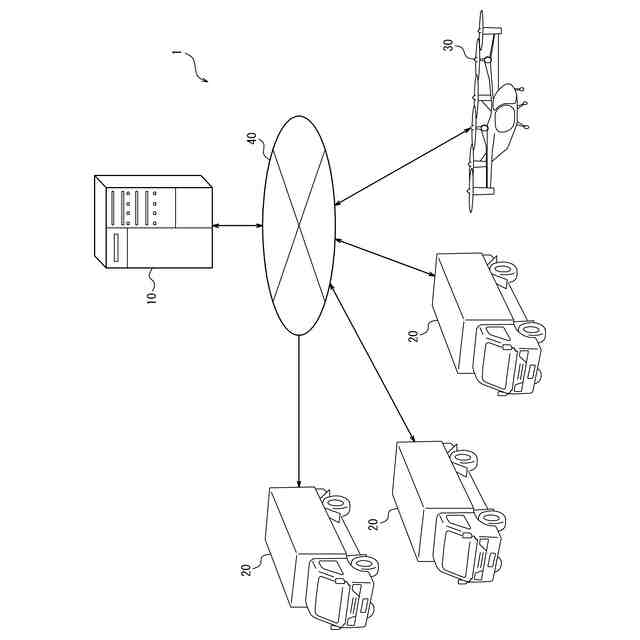
本開示の一実施形態に係るシステムの概略構成を示すブロック図である。
情報処理装置の概略構成を示すブロック図である。
情報処理装置の動作を示すフローチャートである。
【発明を実施するための形態】
【0009】
以下、本開示の実施形態について説明する。
【0010】
(実施形態の概要)
図1を参照して、本実施形態に係るシステム1の概要について説明する。システム1は、情報処理装置10と、複数の移動型充電装置20と、飛行体30と、を備える。情報処理装置10と、複数の移動型充電装置20と、飛行体30とは、例えばインターネット及び移動体通信網等を含むネットワーク40と通信可能に接続される。
(【0011】以降は省略されています)
この特許をJ-PlatPat(特許庁公式サイト)で参照する
関連特許
日本精機株式会社
警報システム
1か月前
株式会社SUBARU
車両
15日前
個人
自動電動車椅子
1か月前
スズキ株式会社
運転支援装置
1か月前
エムケー精工株式会社
車両誘導装置
1か月前
ニッタン株式会社
検知器
1か月前
株式会社国際電気
防災システム
1か月前
ニッタン株式会社
検知器
1か月前
ニッタン株式会社
検知器
22日前
ニッタン株式会社
検知器
1か月前
個人
磁気路上での車両の路線離脱防御
25日前
ニッタン株式会社
発信機
2か月前
ニッタン株式会社
発信機
2か月前
トヨタ自動車株式会社
車両
2か月前
トヨタ自動車株式会社
サーバ
29日前
日本信号株式会社
異常走行検出装置
29日前
株式会社SUBARU
運転支援装置
23日前
ダイハツ工業株式会社
移動支援装置
7日前
株式会社小糸製作所
移動体検出装置
1か月前
大阪瓦斯株式会社
音声出力システム
21日前
日本精機株式会社
報知装置及び報知システム
1か月前
株式会社小糸製作所
車両検出システム
1か月前
三菱自動車工業株式会社
制御システム
21日前
株式会社デンソー
運航管理装置
14日前
株式会社CCT
通信装置及び表示方法
22日前
株式会社 ミックウェア
車内環境制御システム
10日前
能美防災株式会社
火災感知器
1か月前
株式会社SUBARU
事故情報収集装置
15日前
本田技研工業株式会社
情報提供装置
2か月前
本田技研工業株式会社
物体検出装置
2か月前
本田技研工業株式会社
情報提供装置
2か月前
ヨシモトポール株式会社
接近報知システム
1か月前
本田技研工業株式会社
運転評価装置
2か月前
株式会社SUBARU
車室内異常検知装置
15日前
ホーチキ株式会社
火災検出システム
17日前
能美防災株式会社
非常伝達装置
1か月前
続きを見る
他の特許を見る