TOP
|
特許
|
意匠
|
商標
特許ウォッチ
Twitter
他の特許を見る
公開番号
2025152117
公報種別
公開特許公報(A)
公開日
2025-10-09
出願番号
2024053863
出願日
2024-03-28
発明の名称
情報処理装置
出願人
トヨタ自動車株式会社
代理人
弁理士法人秀和特許事務所
主分類
G06T
17/05 20110101AFI20251002BHJP(計算;計数)
要約
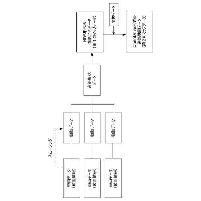
【課題】移動体によって収集されたプローブデータに基づいて、シミュレーション用のマップデータを生成する。
【解決手段】実世界において第1の移動体によってセンシングされたプローブデータに基づいて生成された、実世界の環境マップである第1のマップデータを取得し、前記第1のマップデータを、移動体のシミュレーションを行う仮想空間の環境マップである第2のマップデータに変換するための変換データを取得し、前記変換データを用いて、前記第1のマップデータを、前記仮想空間に対応する前記第2のマップデータに変換する。
【選択図】図3
特許請求の範囲
【請求項1】
実世界において第1の移動体によってセンシングされたプローブデータに基づいて生成された、実世界の環境マップである第1のマップデータを取得することと、
前記第1のマップデータを、移動体のシミュレーションを行う仮想空間の環境マップである第2のマップデータに変換するための変換データを取得することと、
前記変換データを用いて、前記第1のマップデータを、前記仮想空間に対応する前記第2のマップデータに変換することと、
を実行する制御部を有する、情報処理装置。
続きを表示(約 680 文字)
【請求項2】
前記第2のマップデータは、第2の移動体のシミュレーションに利用される道路マップである、
請求項1に記載の情報処理装置。
【請求項3】
前記第1のマップデータは所定の測地系によって表された道路マップであり、
前記第2のマップデータは平面座標系によって表された道路マップであり、
前記変換データは、前記所定の測地系で表された緯度および経度を、平面座標にマッピングするためのデータである、
請求項1に記載の情報処理装置。
【請求項4】
前記プローブデータは位置情報の集合を含み、
前記制御部は、前記位置情報の集合に対してさらにスムージング処理を行い、前記スムージング処理の結果に基づいて、道路の形状を表す道路形状データを取得する、
請求項1に記載の情報処理装置。
【請求項5】
前記制御部は、前記道路形状データに基づいて前記第1のマップデータを生成する、
請求項4に記載の情報処理装置。
【請求項6】
実世界において第1の移動体によってセンシングされた、複数の位置情報を取得することと、
複数の前記位置情報に対してスムージング処理を行い、前記スムージング処理の結果に基づいて、道路の形状を表す道路形状データを取得することと、
前記道路形状データに基づいて生成された第1の道路マップを、シミュレーションを行う仮想空間に対応する第2の道路マップに変換することと、
を実行する制御部を有する、情報処理装置。
発明の詳細な説明
【技術分野】
【0001】
本開示は、道路情報の収集に関する。
続きを表示(約 1,400 文字)
【背景技術】
【0002】
実世界の道路地図データを利用して、車両のシミュレーションを行うための仮想空間を生成する技術がある。これに関連して、例えば、特許文献1には、外部媒体から取得した地図情報を、システムに適合した形式に変換する情報処理装置が開示されている。
【先行技術文献】
【特許文献】
【0003】
特開平8-171570号公報
特開2015-215461号公報
【発明の概要】
【発明が解決しようとする課題】
【0004】
本開示は、移動体によって収集されたプローブデータに基づいて、シミュレーション用のマップデータを生成することを目的とする。
【課題を解決するための手段】
【0005】
本開示の実施形態の一態様は、
実世界において第1の移動体によってセンシングされたプローブデータに基づいて生成された、実世界の環境マップである第1のマップデータを取得することと、前記第1のマップデータを、移動体のシミュレーションを行う仮想空間の環境マップである第2のマップデータに変換するための変換データを取得することと、前記変換データを用いて、前記第1のマップデータを、前記仮想空間に対応する前記第2のマップデータに変換することと、を実行する制御部を有する、情報処理装置である。
【0006】
また、本開示の実施形態の一態様は、
実世界において第1の移動体によってセンシングされた、複数の位置情報を取得することと、複数の前記位置情報に対してスムージング処理を行い、前記スムージング処理の結果に基づいて、道路の形状を表す道路形状データを取得することと、前記道路形状データに基づいて生成された第1の道路マップを、シミュレーションを行う仮想空間に対応する第2の道路マップに変換することと、を実行する制御部を有する、情報処理装置である。
【0007】
また、他の態様として、上記の情報処理装置が実行する方法、当該方法をコンピュータに実行させるためのプログラム、または、該プログラムを非一時的に記憶したコンピュータ可読記憶媒体が挙げられる。
【発明の効果】
【0008】
本開示によれば、移動体によって収集されたプローブデータに基づいて、シミュレーション用のマップデータを生成することができる。
【図面の簡単な説明】
【0009】
実施形態に係るシステムの概要を説明するための図。
サーバ装置10および車両1の構成を説明する図。
データの流れを説明する図。
位置情報から軌跡データを生成する処理を説明する図。
軌跡データから道路形状データを生成する処理を説明する図。
サーバ装置10が実行する処理のフローチャート。
【発明を実施するための形態】
【0010】
デジタルツインを利用して車両の開発を行う動きがある。デジタルツインとは、実世界の事象をデータ化し、仮想空間に実世界を再現することを指す。デジタルツインを利用することで、仮想空間において、開発対象である車両の走行シミュレーション等を行うことが可能になる。
(【0011】以降は省略されています)
この特許をJ-PlatPat(特許庁公式サイト)で参照する
関連特許
トヨタ自動車株式会社
車両
3日前
トヨタ自動車株式会社
固定子
4日前
トヨタ自動車株式会社
加熱器
3日前
トヨタ自動車株式会社
車両構造
3日前
トヨタ自動車株式会社
製造装置
4日前
トヨタ自動車株式会社
蓄電装置
3日前
トヨタ自動車株式会社
車載装置
3日前
トヨタ自動車株式会社
通話装置
3日前
トヨタ自動車株式会社
監視装置
4日前
トヨタ自動車株式会社
制御装置
3日前
トヨタ自動車株式会社
三角表示板
3日前
トヨタ自動車株式会社
ガスタンク
3日前
トヨタ自動車株式会社
情報処理装置
3日前
トヨタ自動車株式会社
情報処理装置
3日前
トヨタ自動車株式会社
車載システム
3日前
トヨタ自動車株式会社
情報処理装置
4日前
トヨタ自動車株式会社
電池システム
3日前
トヨタ自動車株式会社
被膜形成装置
4日前
トヨタ自動車株式会社
制御システム
3日前
トヨタ自動車株式会社
電極の製造方法
4日前
トヨタ自動車株式会社
熱管理システム
3日前
トヨタ自動車株式会社
車両の制御装置
3日前
トヨタ自動車株式会社
車両の制御装置
3日前
トヨタ自動車株式会社
燃料電池システム
3日前
トヨタ自動車株式会社
バッテリ制御装置
4日前
トヨタ自動車株式会社
車両用ホイール構造
3日前
トヨタ自動車株式会社
システムの動作方法
3日前
トヨタ自動車株式会社
車車間充電用ケーブル
3日前
トヨタ自動車株式会社
スロット紙の成形装置
4日前
トヨタ自動車株式会社
車両および検証システム
3日前
トヨタ自動車株式会社
燃料電池車両の制御装置
3日前
トヨタ自動車株式会社
設定値セットの生成装置
3日前
トヨタ自動車株式会社
サスペンションロアアーム
3日前
トヨタ自動車株式会社
ハイブリッド車両の制御装置
3日前
トヨタ自動車株式会社
カイトの離着陸用ガイド装置
3日前
トヨタ自動車株式会社
セルスタック及びその製造方法
3日前
続きを見る
他の特許を見る