TOP
|
特許
|
意匠
|
商標
特許ウォッチ
Twitter
他の特許を見る
公開番号
2025154137
公報種別
公開特許公報(A)
公開日
2025-10-10
出願番号
2024056981
出願日
2024-03-29
発明の名称
車両
出願人
トヨタ自動車株式会社
代理人
個人
,
個人
主分類
B60R
21/00 20060101AFI20251002BHJP(車両一般)
要約
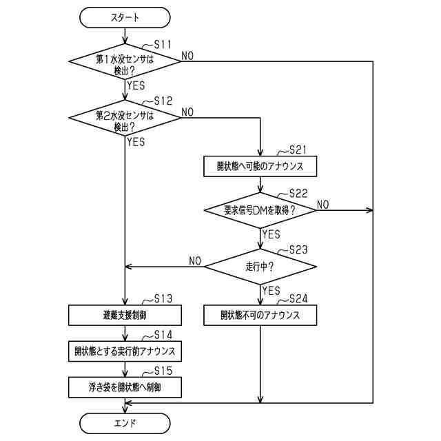
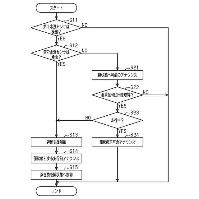
【課題】車両の水没具合の程度にあわせて、浮き袋を開状態とする制御を行う。
【解決手段】第1水没センサが水に浸かっていることを検出し(S11:YES)、第2水没センサが水に浸かっていることを検出していないとき(S12:NO)、実行装置が、車両が走行中であると判定したとき(S23:YES)、実行装置は、浮き袋を開状態とする制御を開始しない。第1水没センサが水に浸かっていることを検出し(S11:YES)、第2水没センサが水に浸かっていることを検出したとき(S12:YES)、実行装置は、ステップS15にて、浮き袋を開状態とする制御を開始する。
【選択図】図3
特許請求の範囲
【請求項1】
水に浸かっていることを検出する第1水没センサと、水に浸かっていることを検出する第2水没センサと、開状態になることで水中に位置するときに浮力を生じさせる浮き袋と、前記第1水没センサ及び前記第2水没センサからの取得した信号に基づいて前記浮き袋を制御する制御装置と、を備える車両であって、
前記第2水没センサは、前記車両の車体の上下方向において前記第1水没センサよりも上側に位置しており、
前記制御装置は、
前記第1水没センサが水に浸かっていることを検出し、かつ前記第2水没センサが水に浸かっていることを検出していないとき、前記車両が走行中であるか否かを判定し、前記走行中である場合には前記浮き袋を前記開状態とする制御を開始せずに、前記走行中ではない場合には前記浮き袋を前記開状態とする制御を開始し、
前記第1水没センサが水に浸かっていることを検出し、かつ前記第2水没センサが水に浸かっていることを検出したとき、前記走行中であるか否かを判定せずに、前記浮き袋を前記開状態とする制御を開始する
車両。
続きを表示(約 340 文字)
【請求項2】
操作されることにより前記浮き袋を前記開状態とする要求信号を出力するスイッチをさらに備えており、
前記制御装置は、
前記第1水没センサが水に浸っていることを検出し、かつ前記第2水没センサが水に浸っていることを検出しないとき、前記走行中ではない場合には、前記スイッチから前記要求信号を取得していると、前記浮き袋を前記開状態とする制御を行う
請求項1に記載の車両。
【請求項3】
前記上下方向において前記制御装置よりも下側に位置しており、前記制御装置と通信を行う通信装置をさらに備えており、
前記制御装置は、前記通信装置との通信が途絶えたことを条件に、前記走行中ではないと判定する
請求項1に記載の車両。
発明の詳細な説明
【技術分野】
【0001】
本発明は、車両に関する。
続きを表示(約 1,600 文字)
【背景技術】
【0002】
特許文献1には、浮き袋を備える車両が記載されている。浮き袋は、開状態になることで水中に位置するときに浮力を生じさせる。
【先行技術文献】
【特許文献】
【0003】
特開2014-156175号公報
【発明の概要】
【発明が解決しようとする課題】
【0004】
特許文献1に記載のような車両において、浮き袋の制御装置は、水没センサによって水に浸かっていることが検出されたとき、浮き袋を開状態とする制御を開始することがある。しかし、車両の水没の程度は様々であることから、車両の水没の程度にあわせて制御を開始する点に改善の余地がある。
【課題を解決するための手段】
【0005】
上記課題を解決するため、本発明は、水に浸かっていることを検出する第1水没センサと、水に浸かっていることを検出する第2水没センサと、開状態になることで水中に位置するときに浮力を生じさせる浮き袋と、前記第1水没センサ及び前記第2水没センサからの取得した信号に基づいて前記浮き袋を制御する制御装置と、を備える車両であって、前記第2水没センサは、前記車両の車体の上下方向において前記第1水没センサよりも上側に位置しており、前記制御装置は、前記第1水没センサが水に浸かっていることを検出し、かつ前記第2水没センサが水に浸かっていることを検出していないとき、前記車両が走行中であるか否かを判定し、前記走行中である場合には前記浮き袋を前記開状態とする制御を開始せずに、前記走行中ではない場合には前記浮き袋を前記開状態とする制御を開始し、前記第1水没センサが水に浸かっていることを検出し、かつ前記第2水没センサが水に浸かっていることを検出したとき、前記走行中であるか否かを判定せずに、前記浮き袋を前記開状態とする制御を行う車両である。
【0006】
上記構成によれば、車両の水没の程度が第2水没センサにまで達しないときには、制御装置は、車両の走行中に浮き袋を開状態とする制御を開始しない。よって、冠水などによって第1水没センサは水に浸かっているものの、第2水没センサは水に浸かっていない場合、車両が走行中に浮き袋が開状態になることを防止できる。
【図面の簡単な説明】
【0007】
図1は、車両の概略図である。
図2は、車両における制御装置及びセンサの位置を示す概略図である。
図3は、浮き袋を制御する処理を含む一連の処理を示すフローチャートである。
【発明を実施するための形態】
【0008】
(一実施形態)
以下では、車両の一実施形態について、図面を参照して説明する。
<車両の概略>
図1に示すように、車両10は、エンジン21と、エンジン制御装置22と、を備えている。エンジン21は、車両10を駆動させる駆動装置である。エンジン制御装置22は、エンジン21を制御する。例えば、エンジン制御装置22は、エンジン21の点火装置などを制御する。
【0009】
車両10は、パワーウィンドウ装置31と、パワーウィンドウ制御装置32と、を備えている。パワーウィンドウ装置31は、電動で動作可能な窓ガラス及び当該窓ガラスを開閉させるアクチュエータを含む。パワーウィンドウ制御装置32は、パワーウィンドウ装置31を制御する。例えば、パワーウィンドウ制御装置32は、パワーウィンドウ装置31のアクチュエータを制御して窓ガラスを開閉させる。
【0010】
車両10は、出力装置41を備えている。出力装置41は、音を出力可能なスピーカ及び画像を出力可能なディスプレイを有している。すなわち、出力装置41は、音及び画像を出力可能な装置である。
(【0011】以降は省略されています)
この特許をJ-PlatPat(特許庁公式サイト)で参照する
関連特許
トヨタ自動車株式会社
電池
5日前
トヨタ自動車株式会社
車両
9日前
トヨタ自動車株式会社
車両
3日前
トヨタ自動車株式会社
電池
4日前
トヨタ自動車株式会社
車両
13日前
トヨタ自動車株式会社
電池
13日前
トヨタ自動車株式会社
車両
9日前
トヨタ自動車株式会社
車両
1か月前
トヨタ自動車株式会社
車両
23日前
トヨタ自動車株式会社
車両
2日前
トヨタ自動車株式会社
回転子
9日前
トヨタ自動車株式会社
固定子
3日前
トヨタ自動車株式会社
電動車
9日前
トヨタ自動車株式会社
電動車
5日前
トヨタ自動車株式会社
モータ
24日前
トヨタ自動車株式会社
加熱器
2日前
トヨタ自動車株式会社
電動車
9日前
トヨタ自動車株式会社
電動車
9日前
トヨタ自動車株式会社
電解液
9日前
トヨタ自動車株式会社
回転子
24日前
トヨタ自動車株式会社
電動車
11日前
トヨタ自動車株式会社
ロータ
11日前
トヨタ自動車株式会社
サーバ
17日前
トヨタ自動車株式会社
ケース
4日前
トヨタ自動車株式会社
電動車
23日前
トヨタ自動車株式会社
加熱装置
23日前
トヨタ自動車株式会社
制御装置
24日前
トヨタ自動車株式会社
駆動装置
1か月前
トヨタ自動車株式会社
検査装置
13日前
トヨタ自動車株式会社
蓄電装置
13日前
トヨタ自動車株式会社
ロボット
5日前
トヨタ自動車株式会社
制御装置
2日前
トヨタ自動車株式会社
蓄電装置
23日前
トヨタ自動車株式会社
制御装置
13日前
トヨタ自動車株式会社
蓄電装置
4日前
トヨタ自動車株式会社
制御装置
4日前
続きを見る
他の特許を見る