TOP
|
特許
|
意匠
|
商標
特許ウォッチ
Twitter
他の特許を見る
公開番号
2025152660
公報種別
公開特許公報(A)
公開日
2025-10-10
出願番号
2024054664
出願日
2024-03-28
発明の名称
情報処理装置
出願人
トヨタ自動車株式会社
代理人
個人
,
個人
,
個人
主分類
G08G
5/00 20250101AFI20251002BHJP(信号)
要約
【課題】バッテリー駆動の飛行体に係る海上での充電技術を改善する。
【解決手段】情報処理装置10は、複数の充電装置搭載船舶20の位置情報と、バッテリー駆動の飛行体30の飛行経路情報とを取得し、取得された位置情報と飛行経路情報とに基づき、複数の充電装置搭載船舶20と飛行体30とのマッチングを実行し、マッチングの結果に応じて、複数の充電装置搭載船舶20の配置場所を決定する制御部11を備える。
【選択図】図1
特許請求の範囲
【請求項1】
複数の充電装置搭載船舶の位置情報と、バッテリー駆動の飛行体の飛行経路情報とを取得し、
取得された位置情報と飛行経路情報とに基づき、複数の充電装置搭載船舶と飛行体とのマッチングを実行し、
マッチングの結果に応じて、複数の充電装置搭載船舶の配置場所を決定する制御部、
を備える、
情報処理装置。
発明の詳細な説明
【技術分野】
【0001】
本開示は、情報処理装置に関する。
続きを表示(約 1,000 文字)
【背景技術】
【0002】
従来、飛行体に、磁気共鳴方式の非接触給電により電力を受電する受電装置、及び受電装置により受電した電力によって飛行のための推力を得る推力発生機構を設ける技術が開示されている(例えば特許文献1)。
【先行技術文献】
【特許文献】
【0003】
国際公開第2017/203590号
【発明の概要】
【発明が解決しようとする課題】
【0004】
従来、バッテリー駆動の飛行体の飛行経路に海上を含む場合における、飛行体への海上での充電方法については検討されていなかった。つまり、バッテリー駆動の飛行体に係る海上での充電技術には改善の余地があった。
【0005】
かかる事情に鑑みてなされた本開示の目的は、バッテリー駆動の飛行体に係る海上での充電技術を改善することにある。
【課題を解決するための手段】
【0006】
本開示の一実施形態に係る情報処理装置は、
複数の充電装置搭載船舶の位置情報と、バッテリー駆動の飛行体の飛行経路情報とを取得し、
取得された位置情報と飛行経路情報とに基づき、複数の充電装置搭載船舶と飛行体とのマッチングを実行し、
マッチングの結果に応じて、複数の充電装置搭載船舶の配置場所を決定する制御部、
を備える。
【発明の効果】
【0007】
本開示の一実施形態によれば、バッテリー駆動の飛行体に係る海上での充電技術が改善される。
【図面の簡単な説明】
【0008】
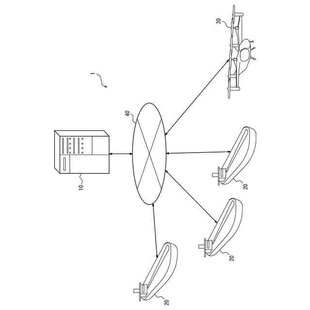
本開示の一実施形態に係るシステムの概略構成を示すブロック図である。
情報処理装置の概略構成を示すブロック図である。
情報処理装置の動作を示すフローチャートである。
【発明を実施するための形態】
【0009】
以下、本開示の実施形態について説明する。
【0010】
(実施形態の概要)
図1を参照して、本実施形態に係るシステム1の概要について説明する。システム1は、情報処理装置10と、複数の充電装置搭載船舶20と、飛行体30と、を備える。情報処理装置10と、複数の充電装置搭載船舶20と、飛行体30とは、例えばインターネット及び移動体通信網等を含むネットワーク40と通信可能に接続される。
(【0011】以降は省略されています)
この特許をJ-PlatPat(特許庁公式サイト)で参照する
関連特許
トヨタ自動車株式会社
電池
3日前
トヨタ自動車株式会社
車両
1日前
トヨタ自動車株式会社
車両
2日前
トヨタ自動車株式会社
電池
4日前
トヨタ自動車株式会社
加熱器
1日前
トヨタ自動車株式会社
固定子
2日前
トヨタ自動車株式会社
電動車
8日前
トヨタ自動車株式会社
電動車
4日前
トヨタ自動車株式会社
ケース
3日前
トヨタ自動車株式会社
電動車
8日前
トヨタ自動車株式会社
蓄電装置
3日前
トヨタ自動車株式会社
制御装置
3日前
トヨタ自動車株式会社
路側装置
3日前
トヨタ自動車株式会社
バッテリ
2日前
トヨタ自動車株式会社
バッテリ
2日前
トヨタ自動車株式会社
塗工装置
2日前
トヨタ自動車株式会社
ロボット
4日前
トヨタ自動車株式会社
二次電池
2日前
トヨタ自動車株式会社
製造装置
2日前
トヨタ自動車株式会社
監視装置
2日前
トヨタ自動車株式会社
蓄電装置
1日前
トヨタ自動車株式会社
車両構造
1日前
トヨタ自動車株式会社
通話装置
1日前
トヨタ自動車株式会社
車載装置
1日前
トヨタ自動車株式会社
制御装置
1日前
トヨタ自動車株式会社
三角表示板
1日前
トヨタ自動車株式会社
シフト機構
8日前
トヨタ自動車株式会社
ガスタンク
1日前
トヨタ自動車株式会社
電池パック
4日前
トヨタ自動車株式会社
電池パック
4日前
トヨタ自動車株式会社
電池交換装置
2日前
トヨタ自動車株式会社
車両前部構造
2日前
トヨタ自動車株式会社
車両前部構造
2日前
トヨタ自動車株式会社
車両下部構造
2日前
トヨタ自動車株式会社
車両製造方法
2日前
トヨタ自動車株式会社
情報提供装置
2日前
続きを見る
他の特許を見る