TOP
|
特許
|
意匠
|
商標
特許ウォッチ
Twitter
他の特許を見る
公開番号
2025153696
公報種別
公開特許公報(A)
公開日
2025-10-10
出願番号
2024056307
出願日
2024-03-29
発明の名称
車車間充電用ケーブル
出願人
トヨタ自動車株式会社
代理人
弁理士法人 快友国際特許事務所
主分類
H02J
7/00 20060101AFI20251002BHJP(電力の発電,変換,配電)
要約
【課題】従来の車車間充電用ケーブルは、利便性が悪いという問題がある。
【解決手段】車車間充電用ケーブルは、電動車の充電インレットに接続可能に構成されている第1コネクタ及び第2コネクタと、第1コネクタと第2コネクタを接続する充電ケーブルと、第1コネクタが電動車の充電インレットに接続されたことを検知する第1接続検知抵抗部であって、第1抵抗値と第2抵抗値の間で切り換え可能に構成されている、第1接続検知抵抗部と、第2コネクタが電動車の充電インレットに接続されたことを検知する第2接続検知抵抗部であって、第1抵抗値と第2抵抗値の間で切り換え可能に構成されている、第2接続検知抵抗部と、を備えている。
【選択図】図2
特許請求の範囲
【請求項1】
車車間充電用ケーブルであって、
電動車の充電インレットに接続可能に構成されている第1コネクタ及び第2コネクタと、
前記第1コネクタと前記第2コネクタを接続する充電ケーブルと、
前記第1コネクタが前記電動車の前記充電インレットに接続されたことを検知する第1接続検知抵抗部であって、第1抵抗値と第2抵抗値の間で切り換え可能に構成されている、第1接続検知抵抗部と、
前記第2コネクタが前記電動車の前記充電インレットに接続されたことを検知する第2接続検知抵抗部であって、前記第1抵抗値と前記第2抵抗値の間で切り換え可能に構成されている、第2接続検知抵抗部と、を備えている、車車間充電用ケーブル。
発明の詳細な説明
【技術分野】
【0001】
本明細書が開示する技術は、車車間充電用ケーブルに関する。
続きを表示(約 1,900 文字)
【背景技術】
【0002】
車車間充電に用いられる車車間充電用ケーブルの開発が進められており、その一例が特許文献1に開示されている。
【先行技術文献】
【特許文献】
【0003】
特開2010-252520号公報
【発明の概要】
【発明が解決しようとする課題】
【0004】
従来、この種の車車間充電用ケーブルでは、充電ケーブルの一端に充電用コネクタが取り付けられており、充電ケーブルの他端に給電用コネクタが取り付けられている。ユーザは、車車間充電の充電方向に合わせて、充電側の電動車の充電インレットに充電用コネクタを接続し、給電側の電動車の充電インレットに給電用コネクタを接続する。充電用コネクタに設けられている接続検知抵抗部の抵抗値と給電用コネクタに設けられている接続検知抵抗部の抵抗値が異なっている。これにより、充電側の電動車は、充電用コネクタの接続検知抵抗部の抵抗値に基づいて充電用コネクタが正しく接続されたことを認識することができる。給電側の電動車は、給電用コネクタの接続検知抵抗部の抵抗値に基づいて給電用コネクタが正しく接続されたことを認識することができる。
【0005】
このように、従来の車車間充電用ケーブルは、車車間充電の充電方向に合わせて、充電側の電動車の充電インレットに充電用コネクタが接続され、給電側の電動車の充電インレットに給電用コネクタが接続されなければならない。従来の車車間充電用ケーブルは、逆向きに接続された場合には車車間充電が実行できないように構成されている。このため、従来の車車間充電用ケーブルは、利便性が悪いという問題がある。
【課題を解決するための手段】
【0006】
本明細書が開示する車車間充電用ケーブルは、電動車の充電インレットに接続可能に構成されている第1コネクタ及び第2コネクタと、第1コネクタと第2コネクタを接続する充電ケーブルと、第1コネクタが電動車の充電インレットに接続されたことを検知する第1接続検知抵抗部であって、第1抵抗値と第2抵抗値の間で切り換え可能に構成されている、第1接続検知抵抗部と、第2コネクタが電動車の充電インレットに接続されたことを検知する第2接続検知抵抗部であって、第1抵抗値と第2抵抗値の間で切り換え可能に構成されている、第2接続検知抵抗部と、を備えていてもよい。
【0007】
上記の車車間充電用ケーブルは、車車間の充電方向に合わせて、第1接続検知抵抗部と第2接続検知抵抗部の抵抗値を切り換えることができる。例えば、車両Aから車両Bに充電する場合には、第1接続検知抵抗部が第1抵抗値、第2接続検知抵抗部が第2抵抗値となるように切り換えられ、車両Bから車両Aに充電する場合には、第1接続検知抵抗部が第2抵抗値、第2接続検知抵抗部が第1抵抗値となるように切り換えられる。これにより、車両A及び車両Bは、いずれの充電方向の場合にも車車間充電用ケーブルが正しく接続されたと認識することができる。この結果、ユーザは、車車間の充電方向を気にすることなく、車車間に車車間充電用ケーブルを接続することができる。
【図面の簡単な説明】
【0008】
車両Aと車両Bの車車間で車車間充電用ケーブルを介して充電する様子を示す図である。
車車間充電システムの構成を概略して示す図である。
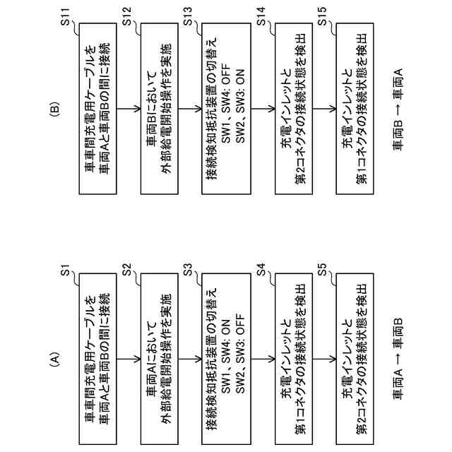
(A)車両Aから車両Bに充電する場合の検出処理の流れを示す図である。(B)車両Bから車両Aに充電する場合の検出処理の流れを示す図である。
【発明を実施するための形態】
【0009】
図1に、車車間充電用ケーブル10を介して車両Aと車両Bの間で車車間充電する様子を示す。後述するように、車車間充電用ケーブル10は、車両Aから車両B、又は、車両Bから車両Aに充電するいずれの場合も、車両Aと車両Bの間でコネクタ14,16を差し換えることなく充電可能に構成されている。
【0010】
図1及び図2に示すように、車車間充電用ケーブル10は、充電ケーブル12と、充電ケーブル12の一端に取り付けられている第1コネクタ14と、充電ケーブル12の他端に取り付けられている第2コネクタ16と、コントロールユニット18と、を備えている。コントロールユニット18には、接続検知抵抗15が設けられている。第1コネクタ14と第2コネクタ16は、共通の部品で構成されており、同一形状を有している。後述するように、第1コネクタ14と第2コネクタ16はいずれも、充電用コネクタと給電用コネクタの両方の機能を有する。
(【0011】以降は省略されています)
この特許をJ-PlatPat(特許庁公式サイト)で参照する
関連特許
トヨタ自動車株式会社
方法
今日
トヨタ自動車株式会社
方法
今日
トヨタ自動車株式会社
椅子
今日
トヨタ自動車株式会社
車両
4日前
トヨタ自動車株式会社
加熱器
4日前
トヨタ自動車株式会社
電動車
今日
トヨタ自動車株式会社
電磁弁
今日
トヨタ自動車株式会社
通話装置
4日前
トヨタ自動車株式会社
蓄電装置
4日前
トヨタ自動車株式会社
車両構造
4日前
トヨタ自動車株式会社
制御装置
4日前
トヨタ自動車株式会社
車載装置
4日前
トヨタ自動車株式会社
判定装置
今日
トヨタ自動車株式会社
三角表示板
4日前
トヨタ自動車株式会社
ガスタンク
4日前
トヨタ自動車株式会社
車両制御装置
今日
トヨタ自動車株式会社
電池システム
4日前
トヨタ自動車株式会社
車両制御装置
今日
トヨタ自動車株式会社
車両制御装置
今日
トヨタ自動車株式会社
制御システム
4日前
トヨタ自動車株式会社
車両前部構造
今日
トヨタ自動車株式会社
車両下部構造
今日
トヨタ自動車株式会社
車両下部構造
今日
トヨタ自動車株式会社
伐倒支援装置
今日
トヨタ自動車株式会社
車両の制御装置
4日前
トヨタ自動車株式会社
車両用制御装置
今日
トヨタ自動車株式会社
車両の制御装置
4日前
トヨタ自動車株式会社
熱管理システム
4日前
トヨタ自動車株式会社
車両の制御装置
今日
トヨタ自動車株式会社
車両の制御装置
今日
トヨタ自動車株式会社
車両用シート構造
今日
トヨタ自動車株式会社
電池パック構造体
今日
トヨタ自動車株式会社
電磁弁の制御装置
今日
トヨタ自動車株式会社
燃料電池システム
4日前
トヨタ自動車株式会社
車両用ホイール構造
4日前
トヨタ自動車株式会社
システムの動作方法
4日前
続きを見る
他の特許を見る