TOP
|
特許
|
意匠
|
商標
特許ウォッチ
Twitter
他の特許を見る
公開番号
2025151274
公報種別
公開特許公報(A)
公開日
2025-10-09
出願番号
2024052609
出願日
2024-03-28
発明の名称
移乗支援装置
出願人
株式会社モルテン
代理人
主分類
A61G
7/10 20060101AFI20251002BHJP(医学または獣医学;衛生学)
要約
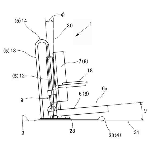
【課題】 小型かつ軽量な構成で段差を解消するとともに移乗しやすい移乗支援装置を提供する。
【解決手段】 装置本体部を保持するベース部4と、ベース部4から上方に向かって立設された一対の支持杆部5と、支持杆部5に上下方向にスライド可能に取り付けられ、座面部6と背もたれ部7とを有する座席部8と、ベース部4に対する座席部8の高さ位置を変化させるリニアアクチュエータ9と、を有し、支持杆部5がベース部4の垂直線30と為す傾斜角度φは、0゜以上15゜以下の後方傾き角度に設定されている。
【選択図】図4
特許請求の範囲
【請求項1】
装置本体部を保持するベース部と、
前記ベース部から上方に向かって立設された一対の支持杆部と、
前記支持杆部に上下方向にスライド可能に取り付けられ、座面部と背もたれ部とを備えた座席部と、
前記ベース部に対する前記座席部の高さ位置を変化させるリニアアクチュエータと、
を有し、
前記支持杆部が前記ベース部の垂直線と為す傾斜角度φは、0゜以上15゜以下の後方傾き角度に設定されている、ことを特徴とする移乗支援装置。
続きを表示(約 600 文字)
【請求項2】
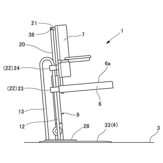
前記支持杆部は、前位置に設けられた前立設杆部と、後位置に設けられた後立設杆部と、前記前立設杆部と前記後立設杆部を上部域において接続する支持杆接続部とを有しており、前記前立設杆部に前記座席部に設けられたスライド部をスライド可能に取り付けている、請求項1に記載の移乗支援装置。
【請求項3】
前記座面部の後方位置に座面側立設部を設け、前記スライド部を前記座面側立設部に固定した、請求項2に記載の移乗支援装置。
【請求項4】
前記ベース部は足元がフラットなベースプレート部で構成され、
前後幅が500mm以上1000mm以下であり、横幅が400mm以上600mm以下に構成される、請求項1から請求項3のいずれか1項に記載の移乗支援装置。
【請求項5】
前記座面部の上面の左右横方の位置に摩擦向上面部が形成されている、請求項1から請求項3のいずれか1項に記載の移乗支援装置。
【請求項6】
前記座面部は、前方、左右横方の3方において障害物のない平面形状に構成されている、請求項1から請求項3のいずれか1項に記載の移乗支援装置。
【請求項7】
居宅内と外部の境界部に前記ベース部を配置して、前記境界部における段差を解消するように使用する、請求項1から請求項3のいずれか1項に記載の移乗支援装置。
発明の詳細な説明
【技術分野】
【0001】
本発明は移乗支援装置に関する。
続きを表示(約 1,500 文字)
【背景技術】
【0002】
従来、要介護者や車椅子使用者の移乗支援装置としては、各種の構成が提案されており、例えば特許文献1には、平滑板を略水平方向にスライドさせるスライド機構と昇降機構とを備え、平滑板を移乗先まで変位させ、利用者を平滑板上で滑らせて移乗先へ移動させる移動補助装置が開示されている。
【0003】
また、特許文献2には、移乗先に繰り出される架橋部材と、架橋部材を繰り出し又は引き込む架橋部材駆動部とを備えた移動補助装置が開示され、被介護者がベッド、椅子等への移乗する場合に補助できると記載されている。
【先行技術文献】
【特許文献】
【0004】
特開2011-092446号公報
特開2019-187919号公報
【発明の概要】
【発明が解決しようとする課題】
【0005】
車椅子生活者が外出する場合、玄関の段差は大きなバリアとなっている。多くは住宅の改修を行って段差をなくす工事を行い、又は仮設のスロープや車椅子用昇降リフトが利用されている。本来、常設タイプで土間設置の車椅子リフトが好ましいが、スペースの都合や利用者の生活環境で設置できない場合があり、その場合は、外出時、帰宅時にその都度、仮設スロープを設置、撤去して対応するなど大変な労力が発生している。
【0006】
特に玄関段差に対してスロープは常設設置ができない場合が多い。
また、一般に従来の移乗支援装置は大型で重量が大きいものが多く、例えば、特許文献1及び特許文献2の構成は人が乗れる板部を一方向に突出させる機構を備えた構成なので、個々の状況に対応する融通性が低く、狭い玄関の土間では扱いづらい装置であると予想される。
【0007】
本発明は、上記各課題を解決するためになされたものである。
本発明の目的は、小型かつ軽量な構成で段差を解消するとともに移乗しやすい移乗支援装置を提供することにある。
本発明の他の目的は、玄関などの居宅内と居宅外の境界部に常設して、内外の段差を解消する場合に好適な移乗支援装置を提供することにある。
【課題を解決するための手段】
【0008】
本発明の第1態様に係る移乗支援装置は、
装置本体部を保持するベース部と、
前記ベース部から上方に向かって立設された一対の支持杆部と、
前記支持杆部に上下方向にスライド可能に取り付けられ、座面部と背もたれ部とを備えた座席部と、
前記ベース部に対する前記座席部の高さ位置を変化させるリニアアクチュエータと、
を有し、
前記支持杆部が前記ベース部の垂直線と為す傾斜角度φは、0゜以上15゜以下の後方傾き角度に設定されている、ことを特徴とする。
【0009】
本発明の第2態様は、前記第1態様に記載の移乗支援装置であって、
前記支持杆部は、前位置に設けられた前立設杆部と、後位置に設けられた後立設杆部と、前記前立設杆部と前記後立設杆部を上部域において接続する支持杆接続部とを有しており、前記前立設杆部に前記座席部に設けられたスライド部をスライド可能に取り付けている、ことを特徴とする。
【0010】
本発明の第3態様は、前記第2態様に記載の移乗支援装置であって、前記座面部の後方位置に座面側立設部を設け、前記スライド部を前記座面側立設部に固定した、ことを特徴とする。
(【0011】以降は省略されています)
この特許をJ-PlatPat(特許庁公式サイト)で参照する
関連特許
株式会社モルテン
移乗支援装置
4日前
株式会社モルテン
生活空間用車椅子
4日前
個人
健康器具
7か月前
個人
短下肢装具
2か月前
個人
歯茎みが品
8か月前
個人
鼾防止用具
7か月前
個人
洗井間専家。
6か月前
個人
前腕誘導装置
2か月前
個人
マッサージ機
8か月前
個人
脈波測定方法
7か月前
個人
嚥下鍛錬装置
3か月前
個人
導電香
8か月前
個人
白内障治療法
7か月前
個人
脈波測定方法
8か月前
個人
矯正椅子
4か月前
個人
アイマスク装置
1か月前
個人
歯の修復用材料
3か月前
個人
胸骨圧迫補助具
1か月前
個人
ホバーアイロン
6か月前
個人
バッグ式オムツ
3か月前
個人
汚れ防止シート
14日前
個人
口内洗浄具
8か月前
三生医薬株式会社
錠剤
7か月前
個人
哺乳瓶冷まし容器
2か月前
個人
湿布連続貼り機。
1か月前
個人
シャンプー
5か月前
個人
歯の保護用シール
4か月前
個人
車椅子持ち上げ器
7か月前
個人
陣痛緩和具
3か月前
個人
性行為補助具
2か月前
個人
エア誘導コルセット
1か月前
株式会社八光
剥離吸引管
4か月前
株式会社大野
骨壷
3か月前
個人
治療用酸化防御装置
1か月前
個人
服薬支援装置
6か月前
株式会社結心
手袋
7か月前
続きを見る
他の特許を見る