TOP
|
特許
|
意匠
|
商標
特許ウォッチ
Twitter
他の特許を見る
公開番号
2025151376
公報種別
公開特許公報(A)
公開日
2025-10-09
出願番号
2024052771
出願日
2024-03-28
発明の名称
情報処理装置、情報処理システム、情報処理方法、および、プログラム
出願人
清水建設株式会社
代理人
個人
,
個人
,
個人
主分類
G01B
11/245 20060101AFI20251002BHJP(測定;試験)
要約
【課題】撮影した画像から補助的な情報を用いずに検査対象の寸法を測定することができる。
【解決手段】検出部は第1カメラにより撮影された第1画像から被写体に生じる所定の現象を表す領域を検出し、形状推定部は第2カメラにより撮影された第2画像と第1画像との視差に基づいて被写体の3次元形状を推定し、測定部は被写体の3次元形状において所定の現象が表れる領域の寸法を定める。本実施形態は、情報処理装置、情報処理システム、情報処理方法、プログラムなどのいずれの形態であってもよい。
【選択図】図1
特許請求の範囲
【請求項1】
第1カメラにより撮影された第1画像から被写体に生じる所定の現象を表す領域を検出する検出部と、
第2カメラにより撮影された第2画像と前記第1画像との視差に基づいて前記被写体の3次元形状を推定する形状推定部と、
前記被写体の3次元形状において前記所定の現象が表れる領域の寸法を定める測定部と、を備える
情報処理装置。
続きを表示(約 730 文字)
【請求項2】
前記第1カメラにより撮影された目標物を表す第1目標画像と前記第2カメラにより撮影された前記目標物を表す第2目標画像との視差と前記目標物の寸法に基づいて前記第1カメラと前記第2カメラとの距離を定める校正部、を備える
請求項1に記載の情報処理装置。
【請求項3】
前記所定の現象は、前記被写体の損傷であり、
前記寸法は、3次元空間における前記損傷の長さまたは幅である
請求項1に記載の情報処理装置。
【請求項4】
前記被写体は、コンクリートブロックであり、
前記所定の現象は、前記コンクリートブロックの亀裂である
請求項3に記載の情報処理装置。
【請求項5】
前記寸法と前記3次元形状を示す報告情報を出力する出力処理部、を備える
請求項1に記載の情報処理装置。
【請求項6】
コンピュータに、
請求項1に記載の情報処理装置として機能させるための
プログラム。
【請求項7】
前記第1カメラと、前記第2カメラと、
請求項1に記載の情報処理装置と、を備える
情報処理システム。
【請求項8】
情報処理装置における方法であって、
前記情報処理装置が、
第1カメラにより撮影された第1画像から被写体に生じる所定の現象を表す領域を検出し、
第2カメラにより撮影された第2画像と前記第1画像との視差に基づいて前記被写体の3次元形状を推定し、
前記被写体の3次元形状において前記所定の現象が表れる領域の寸法を定める、
情報処理方法。
発明の詳細な説明
【技術分野】
【0001】
本願の実施形態は、情報処理装置、情報処理システム、情報処理方法、および、プログラムに関する。本願の実施形態は、例えば、カメラで撮影した画像を用いた構造物の点検および点検記録の作成に関する。
続きを表示(約 2,000 文字)
【背景技術】
【0002】
インフラとは、インフラストラクチャの略語であり、生活、経済、産業の基盤となる施設や設備の総称である。インフラの点検および調査は、その機能を維持するために必要不可欠である。インフラの点検または調査では、カメラで撮影した画像を用いて損傷情報を記録することが一般的である。損傷情報の記録のためには、検査対象の寸法を特定することが重要である。例えば、コンクリートの亀裂(即ち、ひび割れ)に対しては、その幅と長さが重要な指標となる。撮影された画像だけでは検査対象の寸法の情報は、直ちに得られない。そのためには、寸法の情報を追加する必要がある。
【0003】
検査対象の寸法を求める際、カメラと検査対象との距離情報を設定しておき、幾何学的な計算により撮影範囲の大きさを定めることが一般的である。例えば、壁面などの平面にカメラを正対して撮影し、検査対象とカメラとの間の距離、カメラレンズの焦点距離との関係から撮影範囲の大きさを求めることができる。撮影範囲の大きさから1画素当たりの3次元空間上での長さが得られ、ひいては検出された亀裂の幅や長さが把握される。また、補助的に設置された部材(例えば、センサ、光源など)を用いて検査対象との距離を測定し、測定した距離と画像を用いて、カメラと検査対象との距離を計測し、計測した距離と撮影した画像を組み合わせ、画像に表れる検査対象の大きさを求める手法も提案されている(参考:特許文献1)。
【0004】
その他、既知のサイズのレファレンスを含めて撮影しておき、撮影した画像に表れるレファレンスの大きさから画像の大きさを復元する手法が提案されている。例えば、大きさが既知である検査対象をレファレンスとして撮影することで、画像中のレファレンスの大きさから画像の大きさが推定される。対象物の寸法が既知である場合には、複数の画像を統合して広域画像を生成し、広域画像上で大きさを測定することもできる。
【先行技術文献】
【特許文献】
【0005】
特許第3996946号公報
【発明の概要】
【発明が解決しようとする課題】
【0006】
ドローンなどのロボット上に設置したカメラを用いて撮影する場合、ロボットの制御上、被写体に正対して距離を一定に保つことが困難である。ましてや、被写体との距離を固定して検査対象の寸法を測定することは、なおさらである。補助的なセンサを用いる場合や結合画像を作成して既知の寸法に基づいて検査対象の寸法を求める手法は、測定対象となる構造物の表面が平面であることを前提としている。そのため、測定対象となる面が曲面である場合には適用できない。レファレンスを含めて検査対象を撮影する場合には、構造物に直接アクセスして予めレファレンスとなる目標物を設置しておき寸法を測定しておく必要がある。この点は、遠隔から画像点検を行ううえで不都合である。
【課題を解決するための手段】
【0007】
第1の態様に係る情報処理装置は、第1カメラにより撮影された第1画像から被写体に生じる所定の現象を表す領域を検出する検出部と、第2カメラにより撮影された第2画像と前記第1画像との視差に基づいて前記被写体の3次元形状を推定する形状推定部と、前記被写体の3次元形状において前記所定の現象が表れる領域の寸法を定める測定部と、を備える。
【0008】
第2の態様に係る情報処理方法は、情報処理装置における方法であって、前記情報処理装置が、第1カメラにより撮影された第1画像から被写体に生じる所定の現象を表す領域を検出し、第2カメラにより撮影された第2画像と前記第1画像との視差に基づいて前記被写体の3次元形状を推定し、前記被写体の3次元形状において前記所定の現象が表れる領域の寸法を定める。
【発明の効果】
【0009】
本実施形態によれば、撮影した画像から補助的な情報を用いずに検査対象の寸法を測定することができる。
【図面の簡単な説明】
【0010】
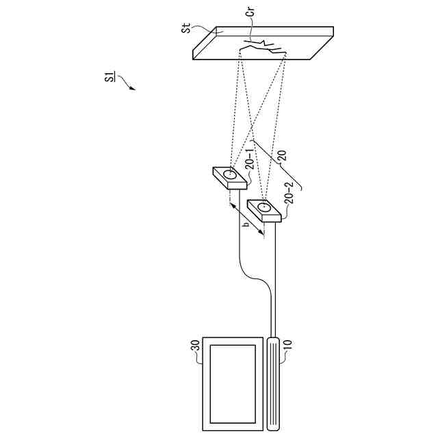
本実施形態に係る情報処理システムの機能構成例を説明するための概略ブロック図である。
本実施形態に係る情報処理装置の機能構成例を示す概略ブロック図である。
本実施形態に係る情報処理装置のハードウェア構成例を示す概略ブロック図である。
ステレオ再構成を例示する説明図である。
被写体の3次元形状推定を例示する説明図である。
3次元損傷領域を例示する説明図である。
本実施形態に係る損傷領域の測定手順の一例を示すフローチャートである。
【発明を実施するための形態】
(【0011】以降は省略されています)
この特許をJ-PlatPat(特許庁公式サイト)で参照する
関連特許
清水建設株式会社
水制御システム
2日前
清水建設株式会社
遮水層の構築方法
1日前
清水建設株式会社
床吹き出し空調装置
1日前
清水建設株式会社
免震装置の基礎構造
2日前
清水建設株式会社
中間階免震建物の免震層の構築方法
2日前
清水建設株式会社
情報処理装置、情報処理システム、情報処理方法、および、プログラム
2日前
株式会社神戸製鋼所
ジオポリマー組成物、ジオポリマー硬化体およびジオポリマー硬化体の製造方法
1日前
株式会社神戸製鋼所
ジオポリマー組成物、ジオポリマー硬化体およびジオポリマー硬化体の製造方法
1日前
個人
メジャー文具
4日前
日本精機株式会社
位置検出装置
10日前
日本精機株式会社
位置検出装置
10日前
日本精機株式会社
位置検出装置
10日前
ユニパルス株式会社
ロードセル
3日前
大和製衡株式会社
組合せ秤
15日前
大和製衡株式会社
組合せ秤
15日前
アズビル株式会社
圧力センサ
9日前
株式会社チノー
放射光測温装置
3日前
株式会社ヨコオ
ソケット
2日前
株式会社東芝
センサ
15日前
株式会社ヨコオ
ソケット
3日前
株式会社東芝
センサ
15日前
エイブリック株式会社
磁気センサ回路
9日前
ダイキン工業株式会社
監視装置
1日前
トヨタ自動車株式会社
監視装置
2日前
トヨタ自動車株式会社
検査装置
12日前
株式会社ユーシン
操作検出装置
12日前
TDK株式会社
ガスセンサ
3日前
個人
粘塑性を用いた有限要素法の定式化
24日前
TDK株式会社
ガスセンサ
9日前
株式会社東芝
重量測定装置
8日前
株式会社ナリス化粧品
角層細胞採取用具
22日前
TDK株式会社
磁気センサ
2日前
東レエンジニアリング株式会社
計量装置
12日前
TDK株式会社
ガスセンサ
8日前
富士電機株式会社
エンコーダ
9日前
三恵技研工業株式会社
融雪レドーム
2日前
続きを見る
他の特許を見る