TOP
|
特許
|
意匠
|
商標
特許ウォッチ
Twitter
他の特許を見る
10個以上の画像は省略されています。
公開番号
2025152391
公報種別
公開特許公報(A)
公開日
2025-10-09
出願番号
2024054260
出願日
2024-03-28
発明の名称
免震装置の基礎構造
出願人
清水建設株式会社
代理人
個人
,
個人
,
個人
主分類
E02D
27/34 20060101AFI20251002BHJP(水工;基礎;土砂の移送)
要約
【課題】プレキャスト部材の配置や基礎鉄骨の建方精度に関わらず、容易に十分な強度でプレキャスト部材と下部躯体とを一体化して施工品質を確保できる基礎構造を提供する。
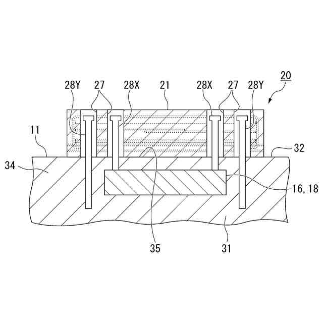
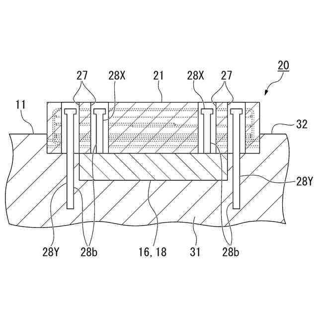
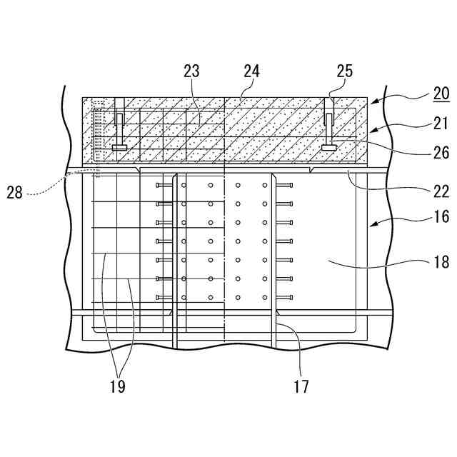
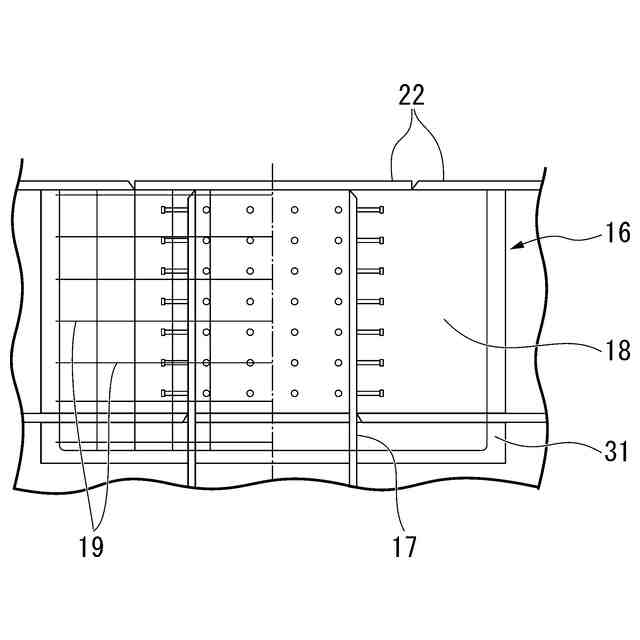
【解決手段】中間階免震建物の免震装置を下部躯体11の上部に設置するための基礎構造20であり、下部躯体を構築するための基礎鉄骨16の上方に配置されて、上面の設置面に免震装置が設置されるプレキャスト部材21と、上端側がプレキャスト部材に定着されるとともに下端側が下部躯体に定着される複数の固定部材28X,28Yと、を備え、複数の固定部材のうちの少なくとも一部の下端側が、この固定部材の真下に配置された基礎鉄骨に接合されている。
【選択図】図7
特許請求の範囲
【請求項1】
中間階免震建物の免震装置を下部躯体の上部に設置するための基礎構造であって、
前記下部躯体を構築するための基礎鉄骨の上方に配置されて、上面の設置面に前記免震装置が設置されるプレキャスト部材と、
上端側が前記プレキャスト部材に定着されるとともに下端側が前記下部躯体に定着される複数の固定部材と、を備え、
前記複数の固定部材のうちの少なくとも一部の下端側が、該固定部材の真下に配置された前記基礎鉄骨に接合されている、免震装置の基礎構造。
続きを表示(約 380 文字)
【請求項2】
前記固定部材の下端が前記基礎鉄骨の梁の上面又は柱の頂部にスタッド溶接されている、請求項1に記載の免震装置の基礎構造。
【請求項3】
前記複数の固定部材における少なくとも一部の前記プレキャスト部材からの突出長さが、前記下部躯体のコンクリートに対する所定の必要定着長さ未満であり、前記複数の固定部材における残部の前記突出長さが前記必要定着長さ以上である、請求項1に記載の免震装置の基礎構造。
【請求項4】
前記設置面が所定の高さで水平となるように前記プレキャスト部材が前記基礎鉄骨に設置されている、請求項1に記載の免震装置の基礎構造。
【請求項5】
前記下部躯体は頂部に基礎スラブを備え、該基礎スラブの水平面に前記プレキャスト部材が設置されている、請求項1に記載の免震装置の基礎構造。
発明の詳細な説明
【技術分野】
【0001】
本発明は、免震装置の基礎構造に関する。
続きを表示(約 1,900 文字)
【背景技術】
【0002】
従来、中間階免震建物の免震層に免震装置を設置するには、下部躯体(基礎躯体)の上部に鉄筋コンクリートまたは鉄骨を用いた基礎構造を設けた後に免震装置を設置し、免震装置上に上部躯体を構築していた。
例えば、特許文献1では、プレキャストコンクリート盤を用いた構造が提案されていた。特許文献1では、下部躯体を構築して頂部に基礎スラブを設け、基礎スラブの水平面上にプレキャストコンクリート盤を設置し、プレキャストコンクリート盤と下部躯体とを固定部材により一体に固定して免震基礎構造を構築していた。
【先行技術文献】
【特許文献】
【0003】
特許第5458375号公報
【発明の概要】
【発明が解決しようとする課題】
【0004】
しかしながら、従来の免震装置の基礎構造では、免震装置を設置するためのプレキャスト部材が、下部躯体を構築するための基礎鉄骨の梁や柱等と上下に重なる位置に配置されることがあった。そのためプレキャスト部材から下方に突出する固定部材が基礎鉄骨と上下に重なる位置に配置されることがあった。また、基礎鉄骨の建方精度の影響で固定部材と基礎鉄骨とが互いに干渉する位置に配置されることもあった。そのような場合、基礎鉄骨の梁等に孔を設けて固定部材の配置スペースを確保することで、下部躯体のコンクリートに対する十分な固定部材の定着長さを確保していた。そのためプレキャスト部材を下部躯体と十分な強度で一体化することが容易でないなどの問題点があった。
【0005】
本発明では、プレキャスト部材の配置や基礎鉄骨の建方精度に関わらず、容易に十分な強度でプレキャスト部材と下部躯体とを一体化でき、施工品質を確保することができる免震装置の基礎構造を提供することを課題とする。
【課題を解決するための手段】
【0006】
上記課題を解決する本発明の免震装置の基礎構造は、中間階免震建物の免震装置を下部躯体の上部に設置するための基礎構造であって、前記下部躯体を構築するための基礎鉄骨の上方に配置されて、上面の設置面に前記免震装置が設置されるプレキャスト部材と、上端側が前記プレキャスト部材に定着されるとともに下端側が前記下部躯体に定着される複数の固定部材と、を備え、前記複数の固定部材のうちの少なくとも一部の下端側が、該固定部材の真下に配置された前記基礎鉄骨に接合されていることを特徴としている。
【0007】
本発明の免震装置の基礎構造によれば、複数の固定部材のうちの少なくとも一部の真下に基礎鉄骨が配置されていて、その固定部材の下端側が下部躯体に接合されている。そのため固定部材の下端側が下部躯体のコンクリート中に十分な長さを埋設できない場合であっても、固定部材を基礎鉄骨に強固に固定することができる。これによりプレキャスト部材を下部躯体と十分な強度で一体化することが可能である。
【0008】
その結果、プレキャスト部材と基礎鉄骨とを上下に重なる位置に配置する場合や、下部鉄骨の建方精度の影響により固定部材と基礎鉄骨とが干渉する場合であっても、固定部材と基礎鉄骨との位置関係を調整したり、基礎鉄骨に孔等を設けて固定部材の配置スペースを確保して、固定部材の下部躯体のコンクリートに対する十分な定着長さを確保する必要がない。
従ってプレキャスト部材の配置や基礎鉄骨の建方精度に関わらず、容易に十分な強度でプレキャスト部材と下部躯体とを一体化でき、免震装置の基礎構造の施工品質を確保することができる。
【0009】
本発明では、前記固定部材の下端が前記基礎鉄骨の梁の上面又は柱の頂部にスタッド溶接されていてもよい。このようにすれば固定部材をプレキャスト部材と基礎鉄骨との間に十分な強度で確実に設置することができる。
【0010】
本発明では、前記複数の固定部材における少なくとも一部の前記プレキャスト部材からの突出長さが、前記下部躯体のコンクリートに対する所定の必要定着長さ未満であり、前記複数の固定部材における残部の前記突出長さが前記必要定着長さ以上であってもよい。
このようにすれば、基礎鉄骨とプレキャスト部材とが一部で上下に重なるような位置関係に容易に配置できる。そのためプレキャスト部材と基礎鉄骨との配置や形状の自由度を向上できる。
(【0011】以降は省略されています)
この特許をJ-PlatPat(特許庁公式サイト)で参照する
関連特許
清水建設株式会社
外壁構造
1か月前
清水建設株式会社
配筋装置
15日前
清水建設株式会社
化粧カバー
14日前
清水建設株式会社
情報処理装置
21日前
清水建設株式会社
鉄筋把持装置
15日前
清水建設株式会社
塔体の切断装置
2か月前
清水建設株式会社
水制御システム
1日前
清水建設株式会社
製炭炉、製炭方法
14日前
清水建設株式会社
遮水層の構築方法
今日
清水建設株式会社
配筋高さ調整機構
15日前
清水建設株式会社
汚染拡散防止構造
1か月前
清水建設株式会社
導電線の回収方法
1か月前
清水建設株式会社
加熱井戸の設置方法
1か月前
清水建設株式会社
配筋の千鳥調整機構
15日前
清水建設株式会社
免震装置の基礎構造
1日前
清水建設株式会社
床吹き出し空調装置
今日
清水建設株式会社
ロボット制御システム
2か月前
清水建設株式会社
ボルトによる接合構造
7日前
清水建設株式会社
コンクリートの施工方法
22日前
清水建設株式会社
建築部材および空調システム
11日前
清水建設株式会社
ソイルセメントおよびその製造方法
2か月前
清水建設株式会社
放射線遮蔽構造およびその施工方法
2か月前
清水建設株式会社
中間階免震建物の免震層の構築方法
1日前
清水建設株式会社
再エネ制御システム、再エネ制御方法
1か月前
清水建設株式会社
低透水層の施工方法および低透水層構造
22日前
清水建設株式会社
ケーソンの施工方法および施工補助装置
9日前
清水建設株式会社
ズレ算出装置、施工方法及びズレ算出方法
2か月前
清水建設株式会社
木質耐火被覆鉄骨部材およびその施工方法
23日前
清水建設株式会社
角部用タブおよび四面ボックスの溶接方法
1か月前
清水建設株式会社
出力精度確認システム及び出力精度確認方法
1か月前
清水建設株式会社
事業継続支援装置及び事業継続支援システム
2か月前
清水建設株式会社
床版割付装置、床版割付方法、およびプログラム
2か月前
清水建設株式会社
ガス回収装置、ビル空調システム、ガス回収方法
1か月前
公益財団法人鉄道総合技術研究所
樹脂吹付け方法
21日前
清水建設株式会社
施工時CO2排出量の推定方法および推定システム
7日前
清水建設株式会社
金属造形物の造形装置および金属造形物の造形方法
2日前
続きを見る
他の特許を見る