TOP
|
特許
|
意匠
|
商標
特許ウォッチ
Twitter
他の特許を見る
公開番号
2025151512
公報種別
公開特許公報(A)
公開日
2025-10-09
出願番号
2024052981
出願日
2024-03-28
発明の名称
無線通信装置
出願人
サクサ株式会社
代理人
個人
主分類
H04B
7/06 20060101AFI20251002BHJP(電気通信技術)
要約
【課題】隣接エリアへの影響を回避しつつ、移動体が送信ビームの中心に存在する放射方向を特定する。
【解決手段】無線通信装置10において、無線通信装置10から移動体20に向けて、ビーム幅の異なる送信ビームを切り替えて同一の放射方向に放射し、それぞれの電波強度を移動体20から取得して、ビーム幅の切り替えによる受信側電波強度変化量Erを求めるとともに、アンテナ利得の送信側利得変化量Esと受信側電波強度変化量Erとの差分ΔEに基づいて放射方向の適否を判定する。
【選択図】 図1
特許請求の範囲
【請求項1】
無線信号を送受信することにより移動体と無線通信を行うように構成された無線I/Fと、前記移動体で検出された、前記無線I/Fから送信した無線信号に関する電波強度に基づいて、送信ビームの放射方向の適否を判定するように構成された制御回路とを備えた無線通信装置であって、
前記制御回路は、
第1のビーム幅からなる第1の送信ビームと、前記第1のビーム幅より狭い第2のビーム幅からなる第2の送信ビームとを切り替えて、同一の放射方向に放射し、前記第1および第2の送信ビームの放射時における第1および第2の電波強度を前記移動体からそれぞれ取得し、前記第1および第2の電波強度の変化量を示す受信側電波強度変化量を求めるとともに、前記第1および第2の送信ビームのアンテナ利得の変化量を示す送信側利得変化量と前記受信側電波強度変化量との差分を、所定の基準しきい値と比較し、得られた結果に基づいて前記放射方向の適否を判定するように構成された放射方向判定部を備える
ことを特徴とする無線通信装置。
続きを表示(約 210 文字)
【請求項2】
請求項1に記載の無線通信装置において、
前記制御回路は、
前記移動体との無線通信が確立している際に、送信ビームの放射方向を前記放射方向判定部で判定し、得られた判定結果が不適切を示す場合、前記判定結果が適切を示すまで、前記放射方向を微調整した新たな放射方向を前記放射方向判定部で繰り返し判定するように構成された放射方向制御部を、さらに備える
ことを特徴とする無線通信装置。
発明の詳細な説明
【技術分野】
【0001】
本発明は、移動体で検出した、無線通信装置から送信した無線信号の電波強度に基づいて、移動体が存在する方向へ送信ビームを放射する無線通信技術に関する。
続きを表示(約 1,900 文字)
【背景技術】
【0002】
近年、複数のアンテナ素子を用いたビームフォーミングにより送信ビームの方向や形状を制御することにより、高い利得で移動体と無線通信を行う無線システムが利用されている。従来、このような無線システムにおいて、無線通信装置から予め離散的に設定した複数の異なる角度方向へ送信ビームを順に放射して、これら送信ビームごとに移動体から電波強度を取得し、最も高い電波強度が得られた方向を、移動体へ放射する送信ビームの放射方向として選択する技術が提案されている。
【先行技術文献】
【特許文献】
【0003】
特許第6859586号
【発明の概要】
【発明が解決しようとする課題】
【0004】
このような従来技術では、送信ビームを放射する角度間隔と、送信ビームのビーム幅との関係が重要となる。例えば、角度間隔とビーム幅とを極めて狭くすれば、放射回数が増えるものの比較的良好な通信品質が得られる放射方向を選択できる。しかし、このような極めて狭いビーム幅では隣接エリアまでビームが届いてしまい、場合によっては無線通信が干渉するという問題点があった。また、このような隣接エリアへの影響を回避するため、角度間隔とビーム幅とを広くした場合、放射回数は低減するものの送信ビームの中心からずれた位置に移動体が存在する確率が高くなる。この際、送信ビームの中心から移動体がずれるほど電波強度が低下するため、他の方向より高い電波強度が得られたからといって、その方向が移動体との無線通信にとって最良の通信品質が得られる訳ではないという問題点があった。
【0005】
本発明はこのような課題を解決するためのものであり、隣接エリアへの影響を回避しつつ、移動体が送信ビームの中心に存在する放射方向を特定できる無線通信技術を提供することを目的としている。
【課題を解決するための手段】
【0006】
このような目的を達成するために、本発明にかかる無線通信装置は、無線信号を送受信することにより移動体と無線通信を行うように構成された無線I/Fと、前記移動体で検出された、前記無線I/Fから送信した無線信号に関する電波強度に基づいて、送信ビームの放射方向の適否を判定するように構成された制御回路とを備え、前記制御回路は、第1のビーム幅からなる第1の送信ビームと、前記第1のビーム幅より狭い第2のビーム幅からなる第2の送信ビームとを切り替えて、同一の放射方向に放射し、前記第1および第2の送信ビームの放射時における第1および第2の電波強度を前記移動体からそれぞれ取得し、前記第1および第2の電波強度の変化量を示す受信側電波強度変化量を求めるとともに、前記第1および第2の送信ビームのアンテナ利得の変化量を示す送信側利得変化量を求め、前記送信側利得変化量と前記受信側電波強度変化量との差分を、所定の基準しきい値と比較し、得られた結果に基づいて前記放射方向の適否を判定するように構成された放射方向判定部を備えている。
【0007】
また、本発明にかかる上記無線通信装置の一構成例は、前記制御回路が、前記移動体との無線通信が確立している際に、送信ビームの放射方向を前記放射方向判定部で判定し、得られた判定結果が不適切を示す場合、前記判定結果が適切を示すまで、前記放射方向を微調整した新たな放射方向を前記放射方向判定部で繰り返し判定するように構成された放射方向制御部を、さらに備えている。
【発明の効果】
【0008】
本発明によれば、隣接エリアへの影響を回避しつつ、移動体が送信ビームの中心に存在する放射方向を特定することができる。
【図面の簡単な説明】
【0009】
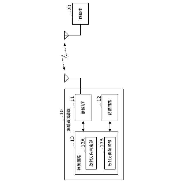
図1は、本実施の形態にかかる無線通信装置の構成を示すブロック図である。
図2は、放射方向判定処理を示すフローチャートである。
図3は、放射方向判定動作例を示す説明図である。
【発明を実施するための形態】
【0010】
次に、本発明の実施の形態について図面を参照して説明する。
[無線通信装置]
まず、図1のブロック図を参照して、本実施の形態にかかる無線通信装置10について説明する。
この無線通信装置10は、無線システムで用いられて、無線信号を送受信することにより移動体20と無線通信を行う、基地局や親局などの一般的な無線通信装置であり、複数のアンテナ素子を用いたビームフォーミングにより送信ビームの放射方向や形状を制御するように構成されている。
(【0011】以降は省略されています)
この特許をJ-PlatPat(特許庁公式サイト)で参照する
関連特許
サクサ株式会社
中継装置
5日前
サクサ株式会社
中継装置
4日前
サクサ株式会社
中継装置
1か月前
サクサ株式会社
無線システム
3日前
サクサ株式会社
無線通信装置
4日前
サクサ株式会社
無線通信装置
4日前
サクサ株式会社
電池の固定構造
3日前
サクサ株式会社
開き角度規制構造
3日前
サクサ株式会社
筐体の壁掛け構造
1か月前
サクサ株式会社
生体情報収集評価システム
1か月前
サクサ株式会社
選曲装置及び選曲プログラム
3日前
サクサ株式会社
メールシステムおよび中継装置
1か月前
サクサ株式会社
メールシステムおよび中継装置
1か月前
サクサ株式会社
クッキー終端処理プログラム及び中継装置
3日前
サクサ株式会社
カバーの取付構造およびカバーの取付方法
1か月前
サクサ株式会社
中継装置
4日前
サクサ株式会社
中継装置
5日前
WHISMR合同会社
収音装置
1か月前
アイホン株式会社
電気機器
26日前
個人
ワイヤレスイヤホン対応耳掛け
24日前
キヤノン電子株式会社
画像読取装置
1か月前
サクサ株式会社
無線通信装置
4日前
サクサ株式会社
無線システム
3日前
サクサ株式会社
無線通信装置
4日前
キヤノン株式会社
撮像システム
26日前
個人
発信機及び発信方法
3日前
沖電気工業株式会社
画像形成装置
14日前
株式会社JVCケンウッド
通信システム
10日前
有限会社フィデリックス
マイクロフォン
10日前
沖電気工業株式会社
画像形成装置
6日前
大日本印刷株式会社
写真撮影装置
25日前
株式会社松平商会
携帯機器カバー
1か月前
株式会社JVCケンウッド
スピーカ
1か月前
日本無線株式会社
無線通信システム
1か月前
日本無線株式会社
無線通信システム
18日前
個人
回動アームを構築する関節モジュール
6日前
続きを見る
他の特許を見る