TOP
|
特許
|
意匠
|
商標
特許ウォッチ
Twitter
他の特許を見る
公開番号
2025151514
公報種別
公開特許公報(A)
公開日
2025-10-09
出願番号
2024052984
出願日
2024-03-28
発明の名称
中継装置
出願人
サクサ株式会社
代理人
個人
主分類
H04L
67/563 20220101AFI20251002BHJP(電気通信技術)
要約
【課題】LAN内の通信端末間でやり取りするメールの送受信処理を、メールサーバに代わって代行する中継装置を提供する。
【解決手段】中継装置10の制御部13は、通信網NW上のメールサーバ30へのアクセス可否を確認し、アクセスが不可能な場合、代行処理部13Bにより、通信端末20間でやり取りするメールの送受信処理を、メールサーバ30に代わって代行する。
【選択図】 図1
特許請求の範囲
【請求項1】
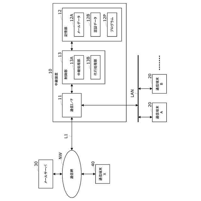
通信網に接続されて、LANを介して配下に接続された通信端末を、前記通信網に中継接続するように構成された中継装置であって、
前記通信端末間でやり取りするメールを蓄積するように構成された記憶部と、
前記通信端末からのメール送受信に関する要求を、前記通信網上のメールサーバに転送するように構成された制御部とを備え、
前記制御部は、
前記通信端末からのメール送信要求に応じて前記通信端末間でやり取りするメールを前記記憶部に蓄積するメール送信処理と、前記通信端末からのメール受信要求に応じて前記記憶部に蓄積されているメールを前記通信端末へ配信するメール受信処理とを、前記メールサーバに代わって実行する代行処理部と、
通信I/Fを介して前記通信網上のメールサーバへのアクセス可否を確認し、前記メールサーバへのアクセスが不可能な場合には、前記通信端末からのメール送受信に関する要求を前記代行処理部へ転送するように構成された中継処理部と
を備えることを特徴とする中継装置。
続きを表示(約 490 文字)
【請求項2】
請求項1に記載の中継装置において、
前記代行処理部は、前記メール送信処理の際、前記メール送信要求で指定された当該メールの送信先のうち、処理対象となる対象ドメインに属する部内メールアドレスについては前記メール送信処理の代行を実行し、前記対象ドメインに属さない部外メールアドレスについては前記メール送信処理の代行をスキップするように構成されていることを特徴とする中継装置。
【請求項3】
請求項2に記載の中継装置において、
前記中継処理部が、前記メールサーバへのアクセスが復旧したと判断した場合には、
前記代行処理部は、前記対象ドメインに属さない部外メールアドレスについて、前記メール送信処理を実行するように構成されていることを特徴とする中継装置。
【請求項4】
請求項1から請求項3の何れか1項に記載の中継装置において、
前記代行処理部は、前記メール送信要求の要求元となる前記通信端末に対して、当該メールに関する前記メール送信処理の代行状況を通知するように構成されていることを特徴とする中継装置。
発明の詳細な説明
【技術分野】
【0001】
本発明は、LANから外部のメールサーバにアクセスできない場合、LANでのメール処理を代行する技術に関する。
続きを表示(約 1,900 文字)
【背景技術】
【0002】
会社や組織などの所定のグループに属する部内ユーザが、LAN(Local Area Network:ローカル通信網)に接続された通信端末を利用して、同一グループに属する部内ユーザや、グループ外の部外ユーザとメールをやり取りする場合、WAN(Wide Area Network:広域通信網)などの通信網に接続されているメールサーバを利用する構成が多く見られる。このような構成では、メールサーバで障害が発生した場合、LAN内の通信端末がメールを送受信することができなくなる。
【0003】
従来、このような障害発生時におけるメール処理を維持する技術として、例えば特許文献1には、複数のメールサーバを冗長的に設置しておき、運用中のメールサーバで障害が発生した場合には、そのメール処理を新たなメールサーバに切り替える技術が提案されている。
【先行技術文献】
【特許文献】
【0004】
特開2004-078565号公報
【発明の概要】
【発明が解決しようとする課題】
【0005】
このような従来技術では、障害発生時にはメールサーバが切り替えられて新たなメールサーバでメール処理が代行されるため、メールサーバ自体の障害には対応できる。しかしながら、メールサーバが接続されている通信網とLANとの間の通信経路上で障害が発生した場合、LANから通信網へのアクセスそのものが不可能となる。このため、このようなケースでは、通信網上でメールサーバを切り替えても、LANから通信網にアクセスできないため、LAN内の通信端末でメールを送受信することができなくなるという問題点があった。また、ユーザが障害を検知しても部内ユーザである管理者にメールで通知することもできないという問題点があった。
【0006】
本発明はこのような課題を解決するためのものであり、メールサーバが接続されている通信網とLANとの間の通信経路上で障害が発生した場合、LAN内の通信端末間でやり取りするメールの送受信処理を、メールサーバに代わって代行できるメール代行技術を提供することを目的としている。
【課題を解決するための手段】
【0007】
このような目的を達成するために、本発明にかかる中継装置は、通信網に接続されて、LANを介して配下に接続された通信端末を、前記通信網に中継接続するように構成された中継装置であって、前記通信端末間でやり取りするメールを蓄積するように構成された記憶部と、前記通信端末からのメール送受信に関する要求を、前記通信網上のメールサーバに転送するように構成された制御部とを備え、前記制御部は、前記通信端末からのメール送信要求に応じて前記通信端末間でやり取りするメールを前記記憶部に蓄積するメール送信処理と、前記通信端末からのメール受信要求に応じて前記記憶部に蓄積されているメールを前記通信端末へ配信するメール受信処理とを、前記メールサーバに代わって実行する代行処理部と、通信I/Fを介して前記通信網上のメールサーバへのアクセス可否を確認し、前記メールサーバへのアクセスが不可能な場合には、前記通信端末からのメール送受信に関する要求を前記代行処理部へ転送するように構成された中継処理部とを備えている。
【0008】
また、本発明にかかる上記中継装置の一構成例は、前記代行処理部が、前記メール送信処理の際、前記メール送信要求で指定された当該メールの送信先のうち、処理対象となる対象ドメインに属する部内メールアドレスについては前記メール送信処理の代行を実行し、前記対象ドメインに属さない部外メールアドレスについては前記メール送信処理の代行をスキップするように構成されている。
【0009】
また、本発明にかかる上記中継装置の一構成例は、前記中継処理部が、前記メールサーバへのアクセスが復旧したと判断した場合には、前記代行処理部は、前記対象ドメインに属さない部外メールアドレスについて、前記メール送信処理を実行するように構成されている。
【0010】
また、本発明にかかる上記中継装置の一構成例は、前記代行処理部が、前記メール送信要求の要求元となる前記通信端末に対して、当該メールに関する前記メール送信処理の代行状況を通知するように構成されている。
【発明の効果】
(【0011】以降は省略されています)
この特許をJ-PlatPat(特許庁公式サイト)で参照する
関連特許
サクサ株式会社
中継装置
5日前
サクサ株式会社
中継装置
4日前
サクサ株式会社
中継装置
1か月前
サクサ株式会社
無線システム
3日前
サクサ株式会社
無線通信装置
4日前
サクサ株式会社
無線通信装置
4日前
サクサ株式会社
電池の固定構造
3日前
サクサ株式会社
開き角度規制構造
3日前
サクサ株式会社
筐体の壁掛け構造
1か月前
サクサ株式会社
生体情報収集評価システム
1か月前
サクサ株式会社
選曲装置及び選曲プログラム
3日前
サクサ株式会社
メールシステムおよび中継装置
1か月前
サクサ株式会社
メールシステムおよび中継装置
1か月前
サクサ株式会社
クッキー終端処理プログラム及び中継装置
3日前
サクサ株式会社
中継装置
5日前
WHISMR合同会社
収音装置
1か月前
サクサ株式会社
中継装置
4日前
キヤノン株式会社
撮像装置
1か月前
アイホン株式会社
電気機器
26日前
個人
ワイヤレスイヤホン対応耳掛け
24日前
キヤノン電子株式会社
画像読取装置
1か月前
サクサ株式会社
無線システム
3日前
株式会社リコー
画像形成装置
2か月前
株式会社リコー
画像形成装置
1か月前
株式会社リコー
画像形成装置
1か月前
サクサ株式会社
無線通信装置
4日前
サクサ株式会社
無線通信装置
4日前
ブラザー工業株式会社
読取装置
2か月前
キヤノン株式会社
撮像システム
26日前
個人
発信機及び発信方法
3日前
国立大学法人電気通信大学
小型光学装置
1か月前
株式会社小糸製作所
画像照射装置
1か月前
キヤノン電子株式会社
シート材搬送装置
2か月前
株式会社松平商会
携帯機器カバー
1か月前
DXO株式会社
情報処理システム
2か月前
パテントフレア株式会社
超高速電波通信
1か月前
続きを見る
他の特許を見る