TOP
|
特許
|
意匠
|
商標
特許ウォッチ
Twitter
他の特許を見る
公開番号
2025149039
公報種別
公開特許公報(A)
公開日
2025-10-08
出願番号
2024049469
出願日
2024-03-26
発明の名称
中継装置
出願人
サクサ株式会社
代理人
個人
主分類
H04L
51/21 20220101AFI20251001BHJP(電気通信技術)
要約
【課題】メールの添付ファイルを保存するクラウドストレージの設備コストや運用コストを軽減する。
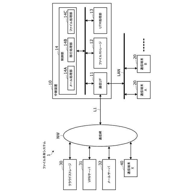
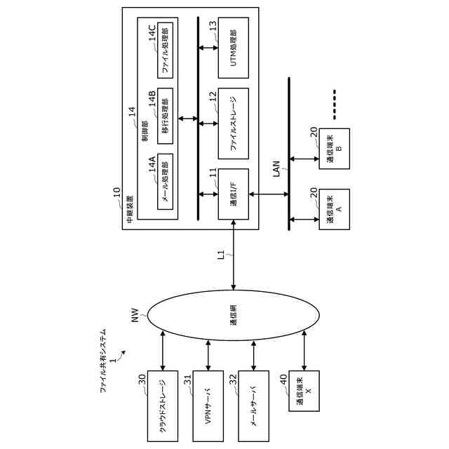
【解決手段】中継装置10の制御部14が、LAN内の通信端末20から通信網NW上のメールサーバ32へ送信されたメール送信要求を取り込んで、メール送信要求に含まれるメールから添付ファイルを分離し、中継装置10のファイルストレージ12と通信網NW上のクラウドストレージ30の両方に、得られた添付ファイルを保存しておき、通信端末20,40からのダウンロード要求時にクラウドストレージ30が取得する添付ファイルのリンク先を、クラウドストレージ30での保存期間が満了する前に、クラウドストレージ30の添付ファイルからファイルストレージ12の添付ファイルに移行させる。
【選択図】 図1
特許請求の範囲
【請求項1】
通信網と接続されて、LANを介して配下に接続された通信端末を前記通信網に中継接続するように構成された中継装置であって、
ファイルを保存するように構成されたファイルストレージと、
前記通信端末から前記通信網上のメールサーバへ送信されたメール送信要求を取り込んで、前記メール送信要求に含まれる元のメールから添付ファイルを分離するように構成された制御部とを備え、
前記制御部は、
前記元のメールから分離した前記添付ファイルからなる第1の添付ファイルを前記通信網上のクラウドストレージに保存するとともに、前記添付ファイルからなる第2の添付ファイルを前記ファイルストレージに保存し、前記添付ファイルを分離した分離後メールのメール送信要求を前記メールサーバに送信するように構成されたメール処理部と、
前記クラウドストレージが決定した前記第1の添付ファイルの保存期間に基づいて、前記保存期間の途中に移行タイミングを設定し、前記移行タイミングが到来した場合、前記クラウドストレージで使用される前記添付ファイルのリンク情報を修正することにより、ダウンロード要求に応じて前記クラウドストレージが提供する前記添付ファイルのリンク先を、前記クラウドストレージに保存されている前記第1の添付ファイルから、前記ファイルストレージに保存されている前記第2の添付ファイルへ移行させるように構成された移行処理部と
を備える中継装置。
続きを表示(約 360 文字)
【請求項2】
前記移行処理部は、
前記第2の添付ファイルへのリンク情報として、前記通信網上に設けたVPN接続を経由したリンク情報を用いるように構成されている
ことを特徴とする請求項1に記載の中継装置。
【請求項3】
前記メール処理部は、
前記分離後メールの送信先として、前記LANに接続された通信端末に相当する部内メールアドレスが含まれている場合、前記分離後メールから前記部内メールアドレスを送信先とする分離後部内メールをさらに分離し、前記ファイルストレージに保存した前記第2の添付ファイルへのリンク情報を前記分離後部内メールに追記した後、前記分離後部内メールのメール送信要求を前記メールサーバに送信するように構成されている
ことを特徴とする請求項1に記載の中継装置。
発明の詳細な説明
【技術分野】
【0001】
本発明は、メールに添付されたファイルをメール送信経路上で分離してクラウドストレージに自動保存することにより、ユーザ間でファイルを共有するファイル共有技術に関する。
続きを表示(約 2,000 文字)
【背景技術】
【0002】
従来、ユーザ間でファイルを共有する技術として、例えば特許文献には、メールに添付されたファイルをメール送信経路上の通信装置でメールから分離してクラウドストレージに自動保存することにより、ファイルを共有するファイル共有技術が提案されている。
【0003】
このファイル共有技術によれば、メールにファイルを添付して送信先へ直接送信する場合と比較して、メール送受信時における高いセキュリティ性が得られるとともにメール送信に要する通信負荷を軽減できる。また、このファイル共有技術によれば、ファイル共有元ユーザが共有したいファイルをメールに添付して送信するだけなので、ファイル共有元ユーザがメールとは別個にクラウドストレージに共有したいファイルを予めアップロードしておく場合と比較して、共有ファイル送信時におけるファイル共有元ユーザの作業負担を大幅に軽減できる。
【先行技術文献】
【特許文献】
【0004】
特開2002-175253号公報
【発明の概要】
【発明が解決しようとする課題】
【0005】
しかしながら、このような従来技術では、添付ファイルをクラウドストレージに保存することにより、メール送受信ユーザ間におけるファイル共有を実現しているため、クラウドストレージに設けるべきファイル保存用リソースが大規模化し、クラウドストレージの設備コストや運用コストが増大するという問題点があった。
【0006】
また、これを解決するため、一般的には、クラウドストレージで保存する添付ファイルに保存期間を設け、保存期間が満了した添付ファイルを強制削除する構成が用いられている。しかし、このような構成には、保存期間を短くするほどクラウドストレージの設備コストや運用コストを縮小できるものの、保存期間を短くするほど添付ファイルを共有するユーザにとって使用しづらくなるという、トレードオフが存在しているため、クラウドストレージの設備コストや運用コストを十分に削減することはできない。
【0007】
本発明はこのような課題を解決するためのものであり、メールの添付ファイルを保存するクラウドストレージの設備コストや運用コストを十分軽減できるファイル共有技術を提供することを目的としている。
【課題を解決するための手段】
【0008】
このような目的を達成するために、本発明にかかる中継装置は、通信網と接続されて、LANを介して配下に接続された通信端末を前記通信網に中継接続するように構成された中継装置であって、ファイルを保存するように構成されたファイルストレージと、前記通信端末から前記通信網上のメールサーバへ送信されたメール送信要求を取り込んで、前記メール送信要求に含まれる元のメールから添付ファイルを分離するように構成された制御部とを備え、前記制御部は、前記元のメールから分離した前記添付ファイルからなる第1の添付ファイルを前記通信網上のクラウドストレージに保存するとともに、前記添付ファイルからなる第2の添付ファイルを前記ファイルストレージに保存し、前記添付ファイルを分離した分離後メールのメール送信要求を前記メールサーバに送信するように構成されたメール処理部と、前記クラウドストレージが決定した前記第1の添付ファイルの保存期間に基づいて、前記保存期間の途中に移行タイミングを設定し、前記移行タイミングが到来した場合、前記クラウドストレージで使用される前記添付ファイルのリンク情報を修正することにより、ダウンロード要求に応じて前記クラウドストレージが提供する前記添付ファイルのリンク先を、前記クラウドストレージに保存されている前記第1の添付ファイルから、前記ファイルストレージに保存されている前記第2の添付ファイルへ移行させるように構成された移行処理部とを備えている。
【0009】
また、本発明にかかる上記中継装置の一構成例は、前記移行処理部が、前記第2の添付ファイルへのリンク情報として、前記通信網上に設けたVPN接続を経由したリンク情報を用いるように構成されている。
【0010】
また、本発明にかかる上記中継装置の一構成例は、前記メール処理部が、前記分離後メールの送信先として、前記LANに接続された通信端末に相当する部内メールアドレスが含まれている場合、前記分離後メールから前記部内メールアドレスを送信先とする分離後部内メールをさらに分離し、前記ファイルストレージに保存した前記第2の添付ファイルへのリンク情報を前記分離後部内メールに追記した後、前記分離後部内メールのメール送信要求を前記メールサーバに送信するように構成されている。
【発明の効果】
(【0011】以降は省略されています)
この特許をJ-PlatPat(特許庁公式サイト)で参照する
関連特許
サクサ株式会社
中継装置
1日前
サクサ株式会社
中継装置
28日前
サクサ株式会社
筐体の壁掛け構造
1か月前
サクサ株式会社
生体情報収集評価システム
29日前
サクサ株式会社
メールシステムおよび中継装置
1か月前
サクサ株式会社
メールシステムおよび中継装置
1か月前
サクサ株式会社
カバーの取付構造およびカバーの取付方法
1か月前
個人
店内配信予約システム
2か月前
サクサ株式会社
中継装置
3か月前
WHISMR合同会社
収音装置
28日前
サクサ株式会社
中継装置
1日前
キヤノン株式会社
電子機器
2か月前
アイホン株式会社
電気機器
22日前
キヤノン株式会社
撮像装置
3か月前
キヤノン株式会社
撮像装置
1か月前
日本精機株式会社
車両用表示装置
4か月前
キヤノン電子株式会社
モバイル装置
3か月前
キヤノン電子株式会社
画像読取装置
29日前
ヤマハ株式会社
信号処理装置
3か月前
株式会社リコー
画像形成装置
2か月前
日本精機株式会社
画像投映システム
3か月前
電気興業株式会社
無線中継器
3か月前
株式会社リコー
画像形成装置
1か月前
個人
ワイヤレスイヤホン対応耳掛け
20日前
株式会社リコー
画像形成装置
1か月前
リオン株式会社
電気機械変換器
4か月前
ブラザー工業株式会社
読取装置
1か月前
キヤノン株式会社
画像表示装置
4か月前
株式会社ニコン
撮像装置
2か月前
キヤノン株式会社
通信システム
4か月前
キヤノン株式会社
画像処理装置
4か月前
キヤノン株式会社
撮像システム
22日前
沖電気工業株式会社
画像形成装置
10日前
株式会社クーネル
音響装置
4か月前
株式会社松平商会
携帯機器カバー
1か月前
株式会社小糸製作所
画像照射装置
1か月前
続きを見る
他の特許を見る