TOP
|
特許
|
意匠
|
商標
特許ウォッチ
Twitter
他の特許を見る
公開番号
2025151529
公報種別
公開特許公報(A)
公開日
2025-10-09
出願番号
2024053012
出願日
2024-03-28
発明の名称
地熱利用システム
出願人
太平電業株式会社
代理人
弁理士法人インテクト国際特許事務所
,
個人
主分類
F03G
4/00 20060101AFI20251002BHJP(液体用機械または機関;風力原動機,ばね原動機,重力原動機;他類に属さない機械動力または反動推進力を発生するもの)
要約
【課題】地熱を利用してより効率的に、電気を生成し、熱を回収することができる地熱利用システムを提供する。
【解決手段】地熱で熱した第1熱媒体の熱を第2熱媒体に熱交換することにより第2熱媒体を気化させ、第2熱媒体の蒸気によりタービンを回転させて発電し、発電に用いた第2熱媒体の蒸気を第3熱媒体で冷却し、第3熱媒体により熱を回収し、回収した第3熱媒体の熱をヒートポンプ装置で増大させる。
【選択図】図1
特許請求の範囲
【請求項1】
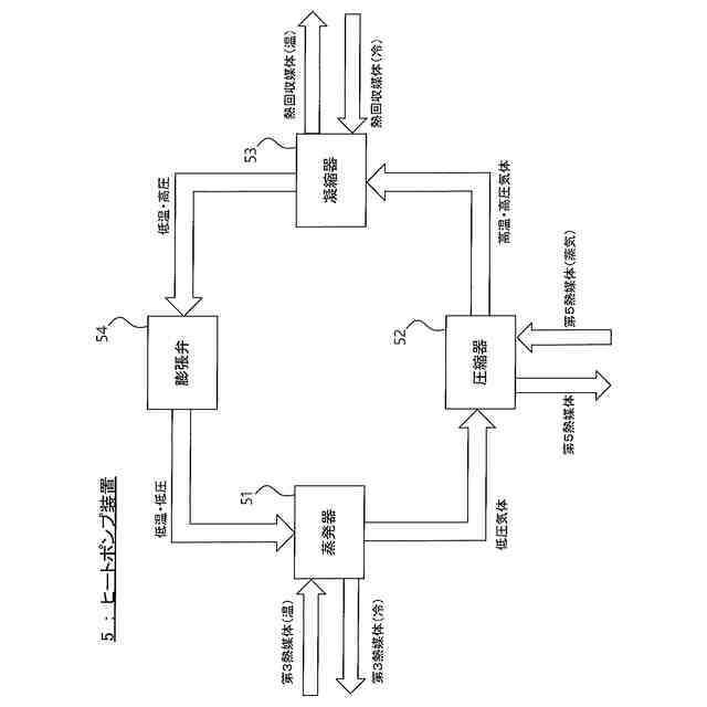
地熱で熱した第1熱媒体の熱を第2熱媒体に熱交換する第1熱交換器と、
前記第1熱交換器から供給された前記第2熱媒体の蒸気で回転するタービンにより発電する発電機と、
前記発電に用いた前記第2熱媒体の蒸気を第3熱媒体で冷却し、第3熱媒体により熱を回収する熱回収器と、
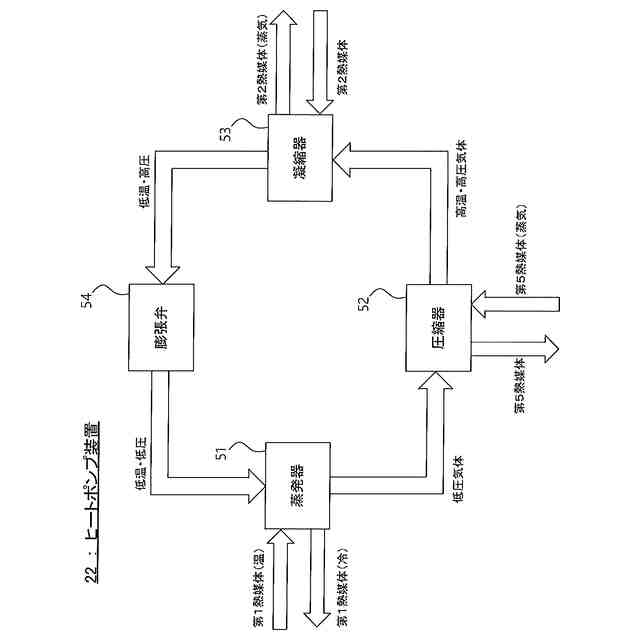
前記熱回収器が回収した第3熱媒体の熱を増大させるヒートポンプ装置と、
を備えることを特徴とする地熱利用システム。
続きを表示(約 340 文字)
【請求項2】
地熱で熱した第1熱媒体の熱を増大させて、第2熱媒体を気化させるヒートポンプ装置と、
前記ヒートポンプ装置により気化された前記第2熱媒体の蒸気で回転するタービンにより発電する発電機と、
前記発電に用いた前記第2熱媒体の蒸気を第3熱媒体で冷却し、第3熱媒体により熱を回収する熱回収器と、
を備えることを特徴とする地熱利用システム。
【請求項3】
請求項1又は2に記載の地熱利用システムであって、
地熱で熱した第4熱媒体の熱を第5熱媒体に熱交換する第2熱交換器を更に備え、
前記ヒートポンプ装置の圧縮機は、前記第2熱交換器から供給される前記第5熱媒体の蒸気により駆動することを特徴とする地熱利用システム。
発明の詳細な説明
【技術分野】
【0001】
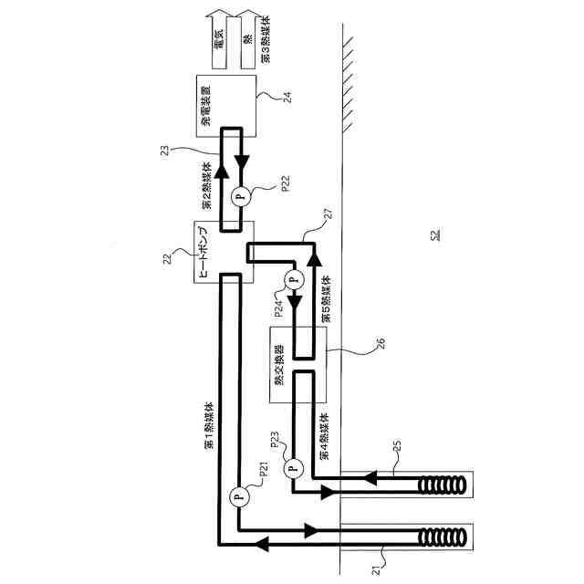
この発明は、地熱を利用して電気を生成し、熱を回収する地熱利用システムに関するものである。
続きを表示(約 1,300 文字)
【背景技術】
【0002】
従来の地熱発電では、地下水の汲み上げ量や熱媒の循環量が多大となり、配管やポンプが大がかりなものとなってしまい、熱効率も悪く、イニシャルコスト、ランニングコスト、メンテナンスコストいずれもが嵩んでしまい、採算性が悪いといった問題があった。
【0003】
これに対して、特許文献1には、地中に埋設した地熱回収管に熱媒を循環させ、この地熱回収管内において地熱を吸収した熱媒から熱を回収して有効利用する装置において、地熱回収管を二重管構造とし、内管の内部空間と、外管と内管との間の空間とをそれぞれ熱媒の往路または復路とするものであり、内管及び外管を熱利用デバイスに接続して循環路を形成するとともに、この循環路内に熱媒を封入して成り、且つこれら熱媒の往路と復路の間は断熱されて成り、更に熱媒として比較的飽和蒸気圧の高いものを採用することにより、潜熱によって熱を運ぶ、という技術が開示されている。
【先行技術文献】
【特許文献】
【0004】
特表2009-072364号公報
【発明の概要】
【発明が解決しようとする課題】
【0005】
特許文献1では、地熱回収管を二重管構造とすることにより地熱発電の効率を向上させているが、地熱回収管から先の発電等の部分での効率化について触れられていない。
【0006】
この発明の目的は、地熱を利用してより効率的に、電気を生成し、熱を回収することができる地熱利用システムを提供することにある。
【課題を解決するための手段】
【0007】
この発明は、上記目的を達成するためになされたものであって、下記を特徴とするものである。
【0008】
請求項1に記載の発明は、地熱で熱した第1熱媒体の熱を第2熱媒体に熱交換する第1熱交換器と、前記第1熱交換器から供給された前記第2熱媒体の蒸気で回転するタービンにより発電する発電機と、前記発電に用いた前記第2熱媒体の蒸気を第3熱媒体で冷却し、第3熱媒体により熱を回収する熱回収器と、前記熱回収器が回収した第3熱媒体の熱を増大させるヒートポンプ装置と、を備えることを特徴とする。
【0009】
請求項2に記載の発明は、地熱で熱した第1熱媒体の熱を増大させて、第2熱媒体を気化させるヒートポンプ装置と、前記ヒートポンプ装置により気化された前記第2熱媒体の蒸気で回転するタービンにより発電する発電機と、前記発電に用いた前記第2熱媒体の蒸気を第3熱媒体で冷却し、第3熱媒体により熱を回収する熱回収器と、を備えることを特徴とする。
【0010】
請求項3に記載の発明は、請求項1又は2に記載の地熱利用システムであって、地熱で熱した第4熱媒体の熱を第5熱媒体に熱交換する第2熱交換器を更に備え、前記ヒートポンプ装置の圧縮機は、前記第2熱交換器から供給される前記第5熱媒体の蒸気により駆動することを特徴とする。
【発明の効果】
(【0011】以降は省略されています)
この特許をJ-PlatPat(特許庁公式サイト)で参照する
関連特許
太平電業株式会社
支柱の設置方法
12日前
太平電業株式会社
地熱利用システム
6日前
太平電業株式会社
柱状構造物の解体方法
8日前
太平電業株式会社
柱状構造物の解体方法
8日前
太平電業株式会社
柱状構造物の解体方法
8日前
太平電業株式会社
廃液の水分除去方法、残留物の処分方法
8日前
個人
風力発電機
2か月前
個人
磁力スロープ
2か月前
個人
小水力発電器
1日前
個人
波力発電装置
2か月前
個人
風車用回転翼
2か月前
個人
折り畳み式風車
2か月前
個人
風力発電装置
1か月前
個人
閉空間推進移動装置
1か月前
東レ株式会社
風車ブレード
1か月前
個人
水力発電用水の循環活動
16日前
個人
波受け板を用いた波浪発電装置
8日前
株式会社 林物産発明研究所
発電装置
26日前
個人
水車発電と水の循環供給装置
1か月前
株式会社ゲットクリーンエナジー
発電機
1か月前
株式会社高橋監理
浮体式洋上風力発電所
3か月前
株式会社ライトエンジ
推力発生方法
16日前
株式会社リコー
水力発電装置
2か月前
株式会社堤水素研究所
風力発電装置
3か月前
三菱電機株式会社
風力発電システム
16日前
株式会社アイシン
発電装置
2か月前
株式会社アイシン
発電装置
1か月前
株式会社大林組
リフトアップ装置
27日前
株式会社大林組
リフトアップ装置
27日前
個人
波力発電ユニット及び波力発電システム
1か月前
三菱重工業株式会社
風力発電装置
12日前
株式会社高橋監理
推進装置付き浮体式洋上風力発電所
3か月前
日本精工株式会社
風力発電装置
3か月前
日本精工株式会社
風力発電装置
4か月前
日本精工株式会社
風力発電装置
4か月前
パナテックス株式会社
発電装置
1か月前
続きを見る
他の特許を見る