TOP
|
特許
|
意匠
|
商標
特許ウォッチ
Twitter
他の特許を見る
公開番号
2025123162
公報種別
公開特許公報(A)
公開日
2025-08-22
出願番号
2024030740
出願日
2024-02-11
発明の名称
発電機
出願人
株式会社ゲットクリーンエナジー
代理人
主分類
F03B
17/02 20060101AFI20250815BHJP(液体用機械または機関;風力原動機,ばね原動機,重力原動機;他類に属さない機械動力または反動推進力を発生するもの)
要約
【課題】回転軸が水の勢い(水力)によって回転する新規な構造の回転軸駆動部を有し発電効率が良い発電機を提供する。
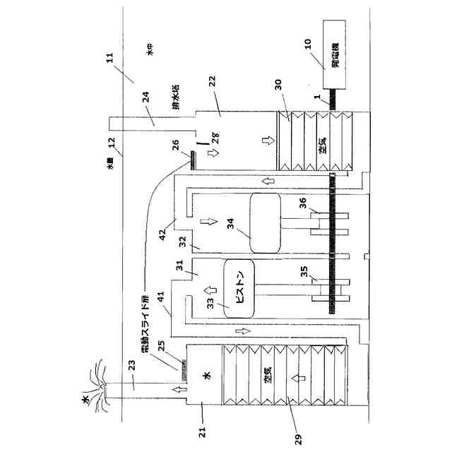
【解決手段】 コイルと磁石の電磁誘導作用により電気的エネルギーを得る発電機本体10において、前記コイルもしくは前記磁石を駆動する回転軸1及び一対の蛇腹ポンプ室21、22と一対のピストン室31、32とからなる回転軸駆動部を有する。前記ピストン室にはそれぞれピストン33、34が設けられ、前記各ピストンは、一方が上がれば他方は下がるようにクランクシャフト35、36により回転軸1に接続され、このピストンの上下運動によって前記回転軸を回転駆動する。
【選択図】図1
特許請求の範囲
【請求項1】
コイルと磁石の電磁誘導作用により電気的エネルギーを得る発電機において、前記コイルもしくは前記磁石を駆動する回転軸を具備し、更に、一対の蛇腹ポンプ室と一対のピストン室とからなる回転軸駆動部を具備し、前記一対のピストン室にはそれぞれピストンが設けられ、前記各ピストンは、一方が上がれば他方は下がるようにクランクシャフトにより前記回転軸に接続され、前記一対のピストン室は、下端部において導通しており、一方の蛇腹ポンプ室の下部は、一方のピストン室の上端部とパイプなど連結部を介して連結されており、他方の蛇腹ポンプ室の下部は、他方のピストン室の上端部とパイプなどの連結部を介して連結されており、前記一対の蛇腹ポンプ室の上端部には、それぞれ排水塔、スライド扉が設けられ、前記スライド扉は一方が開いた時は他方は閉じるように構成され、前記スライド扉が開いた時にその開口部から内部に流入してくる水の圧力によって前記ピストンが押し下げられ、これらの前記ピストンの上下の動きによって前記回転軸を回転駆動することを特徴とする発電機。
発明の詳細な説明
【技術分野】
【0001】
本発明は、水中において効率的な発電が行われる水力を利用した新規な構造を有する発電機に関するものである。
続きを表示(約 2,500 文字)
【背景技術】
【0002】
従来、発電機には、ガスや蒸気のタービンで駆動される高速の発電機、水車で駆動される低速の発電機、各種のエンジンを原動機に持つ同期発電機、風車で駆動される低速の発電機等が知られており、さらに、特許文献1(特開2007-82386号公報)には遠心力を利用した発電機が記載されている。この発電機は、遠心力によって生じる重力と回転円盤との相互作用によって生じるトルクをエネルギー源として発電を行う発電機に関するものである。
【先行技術文献】
【特許文献】
【0003】
特開2007-82386号公報
【発明の概要】
【発明が解決しようとする課題】
【0004】
従来の発電機における一般的な構造は、導線を巻いて形成したコイルと、当該コイルの中に近接配置された磁石と、当該コイルの中心に固定された回転軸と、当該回転軸を回転駆動する駆動手段とを具備し、前記コイルと前記磁石の電磁誘導作用により電気的エネルギーを得るものである。前記磁石に取り付けられた前記回転軸は、前記駆動手段に接続され、この駆動手段によって、前記コイル間において回転された磁石とコイルの電磁誘導作用により生じた電流は、コイルに接続された導線により、例えば、蓄電池に流れてこれに蓄えられる。従来、このような発電機は、磁石の回転が効率的に行われるようにすることが重要である。
本発明は、このような事情によりなされたもので、水の勢い(水力)を利用して、水中において効率的な発電が行われる新規な構造を有する発電機を提供する。
【課題を解決するための手段】
【0005】
本発明の発電機は、コイルと磁石の電磁誘導作用により電気的エネルギーを得る発電機において、前記コイルもしくは前記磁石を駆動する回転軸を具備し、更に、一対の蛇腹ポンプ室と一対のピストン室とからなる回転軸駆動部を具備し、前記一対のピストン室にはそれぞれピストンが設けられ、各ピストンは、一方が上がれば他方は下がるようにクランクシャフトにより前記回転軸に接続され、前記一対のピストン室は、下端部において導通しており、一方の蛇腹ポンプ室の下部は、一方のピストン室の上端部とパイプなどを介して連結されており、他方の蛇腹ポンプ室の下部は、他方のピストン室の上端部とパイプなどを介して連結されており、前記一対の蛇腹ポンプ室の上端部には、それぞれ排水塔、スライド扉が設けられ、前記スライド扉は、一方が開いた時は他方は閉じるように構成されている。
このような構成の発電機において、発電機と共に回転軸駆動部を水中に設置する。このとき、一方の蛇腹ポンプ室のスライド扉は、開いており、他方の蛇腹ポンプ室のスライド扉は、閉じている。そして、一方の蛇腹ポンプ室には、開口部から水が入り、その水圧で空気を圧縮して一方のピストン室のピストンを押し下げて、他方のピストン室のピストンを押し上げる。押し上がった他方のピストン室のピストンは、他方の蛇腹ポンプ室の上端部に空気を押し付けてこの室内から排水塔へ排出する。
次に、スライド扉の開閉を切り替えて、他方の蛇腹ポンプ室のスライド扉を開け一方の蛇腹ポンプ室のスライド扉を閉じると、他方の蛇腹ポンプ室には、開口部から水が入り、その水圧で空気を圧縮して隣接する他方のピストン室のピストンを押し下げ、一方のピストン室のピストンを押し上げる。押し上がった一方のピストン室のピストンは、隣接する一方の蛇腹ポンプ室の上端部に空気を押し付けて排出塔へ排出する。
このように、一対のスライド扉の開閉によって一対のピストンを上下させて回転軸を回転することが出来る。
【発明の効果】
【0006】
本発明の発電機は、回転軸が水の勢い(水力)によって回転する新規な構造の回転軸駆動部を有しており発電効率が良い。
【図面の簡単な説明】
【0007】
実施例1に係る発電機本体及び回転軸駆動部の断面図。
実施例1に係る発電機本体及び回転軸駆動部の断面図。
実施例1に係る水中に設置された発電機の斜視図。
実施例1に係るピストンと回転軸の関わりを示す断面図。
実施例1に係る水中に設置された発電機の斜視図。
【発明を実施するための形態】
【0008】
以下、実施例を参照して発明の実施の形態を説明する。
【実施例】
【0009】
図1乃至図4を参照して実施例1を説明する。
発電機は、コイルと磁石の電磁誘導作用により電気的エネルギーを得る機械である。電磁誘導は、磁界の中で導体を動かすことにより、導体に電流が発生する現象である。発電機には、自転車などで使われている、コイル(導体)の中にある磁石が回転することで電磁誘導により連続して電気を発生させるもの、磁界の中をコイルが回転するものなど回転軸は、重要な要素である。
【0010】
この実施例の発電機は、コイルもしくは磁石を駆動する回転軸1の一部を発電機10(発電機本体)内部に具備し、更に、一対の蛇腹ポンプ室21、22と一対のピストン室31、32とからなる回転軸駆動部を具備している。一対のピストン室31、32にはそれぞれピストン33、34が設けられている。各ピストン33、34は、一方が上がれば他方は下がるように、クランクシャフト35、36により、回転軸1に接続されている。一対のピストン室31、32は、下端部において導通している。
一方の蛇腹ポンプ室21の下部は、一方のピストン室31の上端部とパイプなどの連結部4を介して連結されており、他方の蛇腹ポンプ室22の下部は、他方のピストン室3の上端部とパイプなどの連結部42を介して連結されている。
一対の蛇腹ポンプ室21、22の上端部には、それぞれ排水塔23、24及び電動などのスライド扉25、26が設けられ、スライド扉25は、一方が開いた時は他方は閉じるように構成されている。
(【0011】以降は省略されています)
この特許をJ-PlatPat(特許庁公式サイト)で参照する
関連特許
個人
風力発電機
2か月前
個人
波力発電装置
2か月前
個人
風車用回転翼
2か月前
個人
磁力スロープ
1か月前
個人
折り畳み式風車
2か月前
個人
風力発電装置
1か月前
個人
閉空間推進移動装置
1か月前
東レ株式会社
風車ブレード
1か月前
個人
プラズマエンジン
4か月前
個人
水力発電用水の循環活動
12日前
個人
波受け板を用いた波浪発電装置
4日前
株式会社 林物産発明研究所
発電装置
22日前
株式会社高橋監理
浮体式洋上風力発電所
3か月前
株式会社ゲットクリーンエナジー
発電機
1か月前
個人
水車発電と水の循環供給装置
1か月前
株式会社リコー
水力発電装置
1か月前
株式会社堤水素研究所
風力発電装置
3か月前
三菱電機株式会社
風力発電システム
12日前
株式会社ライトエンジ
推力発生方法
12日前
株式会社大林組
リフトアップ装置
23日前
株式会社大林組
リフトアップ装置
23日前
株式会社アイシン
発電装置
1か月前
株式会社アイシン
発電装置
1か月前
個人
円錐振り子運動を近似的に発生させる装置
4か月前
株式会社ゲットクリーンエナジー
エンジン
4か月前
個人
波力発電ユニット及び波力発電システム
1か月前
個人
潮流発電装置および潮流発電方法
4か月前
株式会社高橋監理
推進装置付き浮体式洋上風力発電所
3か月前
三菱重工業株式会社
風力発電装置
8日前
日本精工株式会社
風力発電装置
3か月前
日本精工株式会社
風力発電装置
3か月前
日本精工株式会社
風力発電装置
3か月前
パナテックス株式会社
発電装置
1か月前
株式会社日本海洋発電
海流発電システム
2か月前
日本精工株式会社
風力発電装置
2か月前
ダイキン工業株式会社
流体機械
3日前
続きを見る
他の特許を見る