TOP
|
特許
|
意匠
|
商標
特許ウォッチ
Twitter
他の特許を見る
10個以上の画像は省略されています。
公開番号
2025151630
公報種別
公開特許公報(A)
公開日
2025-10-09
出願番号
2024053156
出願日
2024-03-28
発明の名称
ローリングピストン型電動圧縮機
出願人
株式会社豊田自動織機
代理人
弁理士法人深見特許事務所
主分類
F04C
18/356 20060101AFI20251002BHJP(液体用容積形機械;液体または圧縮性流体用ポンプ)
要約
【課題】廉価に構成されつつ高い信頼性を有するローリングピストン型電動圧縮機を提供する。
【解決手段】ケース、第1シリンダ125、第2シリンダ152、フロントサイドプレート140、リアサイドプレート190およびミドルサイドプレート160に囲まれた貯油室28が形成されている。第2シリンダ152およびミドルサイドプレート160の各々においては、貯油室28と第1吐出経路6とが周縁部の一部158,186によって互いに隔離されている。吐出経路3から分岐し、オイルセパレータから分離された潤滑油を貯油室28に供給可能な第1供給経路が形成されている。貯油室28から潤滑油が供給され、かつ圧縮機構の摺動位置に潤滑油を供給可能な第2供給経路が形成されている。
【選択図】図5
特許請求の範囲
【請求項1】
吸入経路および吐出経路が設けられたケースと、
前記ケースに収容される電動モータと、
前記ケースに収容され、前記電動モータと水平方向に並設されるとともに、前記吸入経路から吸入され前記電動モータを通過した冷媒を吸入し圧縮して前記吐出経路に吐出する圧縮機構と、
前記吐出経路上に設けられ、冷媒に混在した潤滑油を冷媒から分離するオイルセパレータとを備え、
前記圧縮機構は、
前記電動モータにより駆動されるとともに第1方向に延在する軸心を有する回転軸と、
前記回転軸の回転に伴って前記軸心に対して偏心した状態で回転可能な第1ピストンと、
前記第1方向に交差する方向において前記第1ピストンに当接する第1ベーンと、
前記第1ピストンおよび前記第1ベーンを収容し、前記第1ピストンおよび前記第1ベーンとの間において冷媒を圧縮する第1圧縮室が形成される第1シリンダと、
前記第1方向において前記第1シリンダに当接し、前記第1圧縮室と接するフロントサイドプレートと、
前記第1ピストンと間隔をあけて前記第1ピストンに関して前記第1方向において前記フロントサイドプレートが配置される側とは反対側に配置され、前記回転軸の回転に伴って前記軸心に対して偏心した状態で回転可能な第2ピストンと、
前記第1方向に交差する方向において前記第2ピストンに当接する第2ベーンと、
前記第2ピストンおよび前記第2ベーンを収容し、前記第2ピストンおよび前記第2ベーンとの間において冷媒を圧縮する第2圧縮室が形成される第2シリンダと、
前記第2シリンダに対して前記第1方向において前記フロントサイドプレートが配置される側とは反対側から当接し、前記第2圧縮室と接するリアサイドプレートと、
前記第1方向において前記第1シリンダおよび前記第2シリンダの間に配置され、前記第1圧縮室と前記第2圧縮室とを仕切るミドルサイドプレートとを含み、
前記フロントサイドプレートおよび前記リアサイドプレートの各々は、前記第1方向に交差する方向において前記ケースの内周面に当接しており、
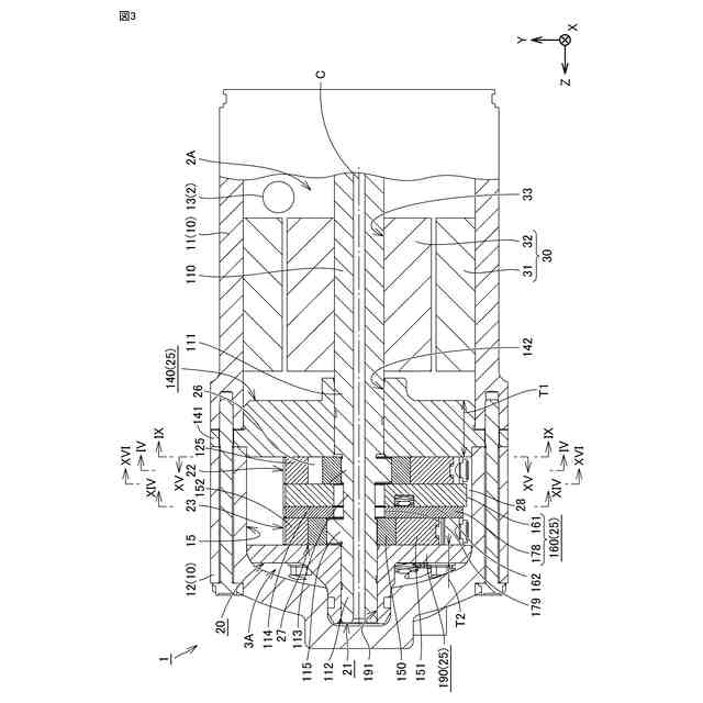
前記ケース、前記第1シリンダ、前記第2シリンダ、前記フロントサイドプレート、前記リアサイドプレートおよび前記ミドルサイドプレートに囲まれた貯油室が形成されており、
前記第2シリンダ、前記リアサイドプレートおよび前記ミドルサイドプレートには、前記第1圧縮室と前記オイルセパレータとを接続する第1吐出経路が形成されており、
前記第2シリンダおよび前記ミドルサイドプレートの各々においては、前記貯油室と前記第1吐出経路とが周縁部の一部によって互いに隔離されており、
前記吐出経路から分岐し、前記オイルセパレータから分離された潤滑油を前記貯油室に供給可能な第1供給経路が形成されており、
前記貯油室から潤滑油が供給され、かつ前記圧縮機構の摺動位置に潤滑油を供給可能な第2供給経路が形成されている、ローリングピストン型電動圧縮機。
続きを表示(約 910 文字)
【請求項2】
前記第1ベーンおよび前記第2ベーンの少なくとも一方は、前記ケースの内部において前記第1方向に交差する鉛直方向の下方側に配置されており、
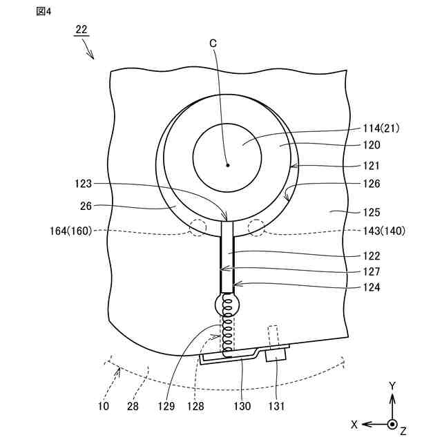
前記第1ベーンおよび前記第2ベーンの前記少なくとも一方に対応する前記第1シリンダおよび前記第2シリンダの少なくとも一方の外周面には、前記貯油室から前記第1ベーンおよび前記第2ベーンの前記少なくとも一方の下方端側に潤滑油を供給可能な孔が形成されている、請求項1に記載のローリングピストン型電動圧縮機。
【請求項3】
前記第2供給経路は、前記フロントサイドプレートと前記回転軸との摺動箇所に潤滑油を供給可能に構成されている、請求項1または請求項2に記載のローリングピストン型電動圧縮機。
【請求項4】
前記第2供給経路は、前記リアサイドプレートと前記回転軸との摺動箇所に潤滑油を供給可能に構成されている、請求項1または請求項2に記載のローリングピストン型電動圧縮機。
【請求項5】
前記第2供給経路は、前記第1ベーンおよび前記第2ベーンの少なくとも一方と前記第1ベーンおよび前記第2ベーンの前記少なくとも一方に対応する前記第1シリンダおよび前記第2シリンダの少なくとも一方との摺動箇所に潤滑油を供給可能に構成されている、請求項1または請求項2に記載のローリングピストン型電動圧縮機。
【請求項6】
前記第2供給経路は、前記ミドルサイドプレートと前記第1ピストンおよび前記第2ピストンの少なくとも一方との摺動箇所に潤滑油を供給可能に構成されている、請求項1または請求項2に記載のローリングピストン型電動圧縮機。
【請求項7】
前記第2供給経路は、前記回転軸と前記ミドルサイドプレートとの間の封止箇所に潤滑油を供給可能に構成されている、請求項1または請求項2に記載のローリングピストン型電動圧縮機。
【請求項8】
前記第2供給経路の途中に、潤滑油の流路断面積が小さくなっている絞り部が設けられている、請求項1または請求項2に記載のローリングピストン型電動圧縮機。
発明の詳細な説明
【技術分野】
【0001】
本開示は、ローリングピストン型電動圧縮機に関する。
続きを表示(約 2,300 文字)
【背景技術】
【0002】
横型ロータリーコンプレッサを開示した先行技術文献として、特開2005-105985号公報(特許文献1)がある。特許文献1に記載された横型ロータリーコンプレッサは、回転圧縮機構部を収容する密閉容器を備える。密閉容器の底部には、回転圧縮機構部に供給するオイルを溜めるオイル溜めが設けられている。
【0003】
電動圧縮機を開示した先行技術文献として、特開2017-198159号公報(特許文献2)がある。特許文献2に記載された電動圧縮機は、有底筒状のメインハウジングを備える。メインハウジングの筒状部には、下方側の部位の内部にオイルセパレータにて分離された潤滑オイルを貯留する貯油室が区画形成されている。
【先行技術文献】
【特許文献】
【0004】
特開2005-105985号公報
特開2017-198159号公報
【発明の概要】
【発明が解決しようとする課題】
【0005】
特許文献1に記載の横型ロータリーコンプレッサは、ケースの内部空間全体に潤滑油を貯める貯油室が形成されているため、潤滑油を吸い上げるなどにより圧縮機構へ供給する場合に潤滑油が吸い上げにくい可能性がある。このため、特許文献1においては、圧縮機構の摺動位置に潤滑油が十分に供給されないことによって、ローリングピストン型電動圧縮機の信頼性を低下させる可能性がある。
【0006】
特許文献2に記載の電動圧縮機は、ケースの肉厚部分に貯油室が設けられているため、加工が複雑になりコストがかかる可能性がある。このため、ローリングピストン型電動圧縮機が高価になる可能性がある。
【0007】
本開示は、上記の課題を解決するためになされたものであって、廉価に構成されつつ高い信頼性を有するローリングピストン型電動圧縮機を提供することを目的とする。
【課題を解決するための手段】
【0008】
本開示に基づくローリングピストン型電動圧縮機は、ケースと、電動モータと、圧縮機構と、オイルセパレータとを備える。ケースは、吸入経路および吐出経路が設けられている。電動モータは、ケースに収容される。圧縮機構は、ケースに収容され、電動モータと水平方向に並設されるとともに、吸入経路から吸入され電動モータを通過した冷媒を吸入し圧縮して吐出経路に吐出する。オイルセパレータは、吐出経路上に設けられ、冷媒に混在した潤滑油を冷媒から分離する。圧縮機構は、回転軸と、第1ピストンと、第1ベーンと、第1シリンダと、フロントサイドプレートと、第2ピストンと、第2ベーンと、第2シリンダと、リアサイドプレートと、ミドルサイドプレートとを含む。回転軸は、電動モータにより駆動されるとともに第1方向に延在する軸心を有する。第1ピストンは、回転軸の回転に伴って軸心に対して偏心した状態で回転可能である。第1ベーンは、第1方向に交差する方向において第1ピストンに当接する。第1シリンダは、第1ピストンおよび第1ベーンを収容し、第1ピストンおよび第1ベーンとの間において冷媒を圧縮する第1圧縮室が形成される。フロントサイドプレートは、第1方向において第1シリンダに当接し、第1圧縮室と接する。第2ピストンは、第1ピストンと間隔をあけて第1ピストンに関して第1方向においてフロントサイドプレートが配置される側とは反対側に配置され、回転軸の回転に伴って軸心に対して偏心した状態で回転可能である。第2ベーンは、第1方向に交差する方向において第2ピストンに当接する。第2シリンダは、第2ピストンおよび第2ベーンを収容し、第2ピストンおよび第2ベーンとの間において冷媒を圧縮する第2圧縮室が形成される。リアサイドプレートは、第2シリンダに対して第1方向においてフロントサイドプレートが配置される側とは反対側から当接し、第2圧縮室と接する。ミドルサイドプレートは、第1方向において第1シリンダおよび第2シリンダの間に配置され、第1圧縮室と第2圧縮室とを仕切る。フロントサイドプレートおよびリアサイドプレートの各々は、第1方向に交差する方向においてケースの内周面に当接している。ケース、第1シリンダ、第2シリンダ、フロントサイドプレート、リアサイドプレートおよびミドルサイドプレートに囲まれた貯油室が形成されている。第2シリンダ、リアサイドプレートおよびミドルサイドプレートには、第1圧縮室とオイルセパレータとを接続する第1吐出経路が形成されている。第2シリンダおよびミドルサイドプレートの各々においては、貯油室と第1吐出経路とが周縁部の一部によって互いに隔離されている。吐出経路から分岐し、オイルセパレータから分離された潤滑油を貯油室に供給可能な第1供給経路が形成されている。貯油室から潤滑油が供給され、かつ圧縮機構の摺動位置に潤滑油を供給可能な第2供給経路が形成されている。
【0009】
本開示の一形態においては、第1ベーンおよび第2ベーンの少なくとも一方は、ケースの内部において第1方向に交差する鉛直方向の下方側に配置されている。第1ベーンおよび第2ベーンの少なくとも一方に対応する第1シリンダおよび第2シリンダの少なくとも一方の外周面には、貯油室から第1ベーンおよび第2ベーンの少なくとも一方の下方端側に潤滑油を供給可能な孔が形成されている。
【0010】
本開示の一形態においては、第2供給経路は、フロントサイドプレートと回転軸との摺動箇所に潤滑油を供給可能に構成されている。
(【0011】以降は省略されています)
この特許をJ-PlatPat(特許庁公式サイト)で参照する
関連特許
個人
海流製造装置。
23日前
株式会社スギノマシン
圧縮機
1日前
株式会社ツインバード
送風装置
21日前
株式会社ツインバード
送風装置
21日前
樫山工業株式会社
真空ポンプ
2日前
サンデン株式会社
スクロール圧縮機
7日前
サンデン株式会社
スクロール圧縮機
7日前
サンデン株式会社
スクロール圧縮機
7日前
株式会社アイシン
ポンプケース
14日前
株式会社島津製作所
真空ポンプ
21日前
エドワーズ株式会社
真空ポンプ
15日前
NTN株式会社
電動オイルポンプ
8日前
株式会社ナノバブル研究所
気液駆動装置
15日前
已久工業股ふん有限公司
エアコンプレッサ
8日前
テラル株式会社
ポンプ
1日前
有限会社 宮脇工房
往復ポンプ
3日前
サンデン株式会社
スクロール式コンプレッサ
8日前
株式会社鶴見製作所
水中ポンプ
22日前
株式会社ミツバ
非容積型ポンプ
22日前
株式会社荏原製作所
モータポンプ
7日前
株式会社豊田自動織機
回転圧縮機
3日前
株式会社酉島製作所
液化ガス昇圧ポンプ
23日前
株式会社豊田自動織機
回転圧縮機
3日前
株式会社豊田自動織機
スクロール型圧縮機
2日前
三菱電機株式会社
コントローラ及び送風システム
11日前
カヤバ株式会社
電動ポンプ
7日前
パナソニックIPマネジメント株式会社
送風装置
1日前
株式会社豊田自動織機
スクロール型圧縮機
1日前
株式会社豊田自動織機
スクロール型圧縮機
7日前
日立建機株式会社
油圧機器
2日前
株式会社ジェイテクトフルードパワーシステム
歯車ポンプ
11日前
株式会社不二越
可変容量制御ピストンポンプ
11日前
日立建機株式会社
ポンプ装置
1日前
パナソニックIPマネジメント株式会社
圧縮機
8日前
株式会社荏原製作所
モータポンプ
29日前
株式会社荏原製作所
モータポンプ
29日前
続きを見る
他の特許を見る