TOP
|
特許
|
意匠
|
商標
特許ウォッチ
Twitter
他の特許を見る
10個以上の画像は省略されています。
公開番号
2025151084
公報種別
公開特許公報(A)
公開日
2025-10-09
出願番号
2024052324
出願日
2024-03-27
発明の名称
ポンプ
出願人
テラル株式会社
代理人
個人
,
個人
,
個人
,
個人
主分類
F04D
29/42 20060101AFI20251002BHJP(液体用容積形機械;液体または圧縮性流体用ポンプ)
要約
【課題】シール部材のシール性能の向上、及び、外部ケーシングへのポンプ本体部の挿入しやすさの向上、を両立可能なポンプを提供することができる。
【解決手段】本開示に係るポンプは、外部ケーシング及びポンプ本体部を備え、ポンプ本体部は、ケーシングカバー及びシール部材を備え、ケーシングカバーの外面はシール支持面を備え、外部ケーシングの内面はシール接触面を備え、シール支持面は、第1支持面と、第1支持面に対してポンプ本体部の挿入抜去方向の抜去方向に位置する第2支持面と、を備え、シール部材は、ポンプ本体部が加圧する液体によって抜去方向に押圧されて、第1支持面に支持される位置から第2支持面に支持される位置に移動可能であり、第2支持面に支持されているときのシール部材のつぶし代は、第1支持面に支持されているときのシール部材のつぶし代よりも大きい。
【選択図】図3
特許請求の範囲
【請求項1】
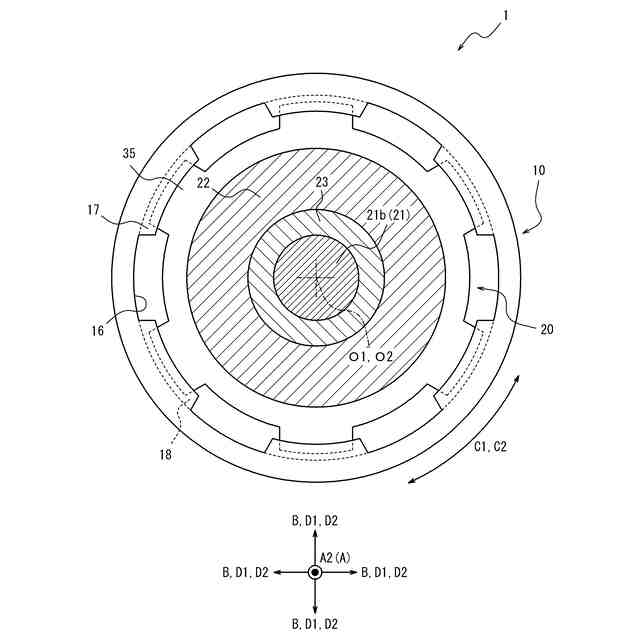
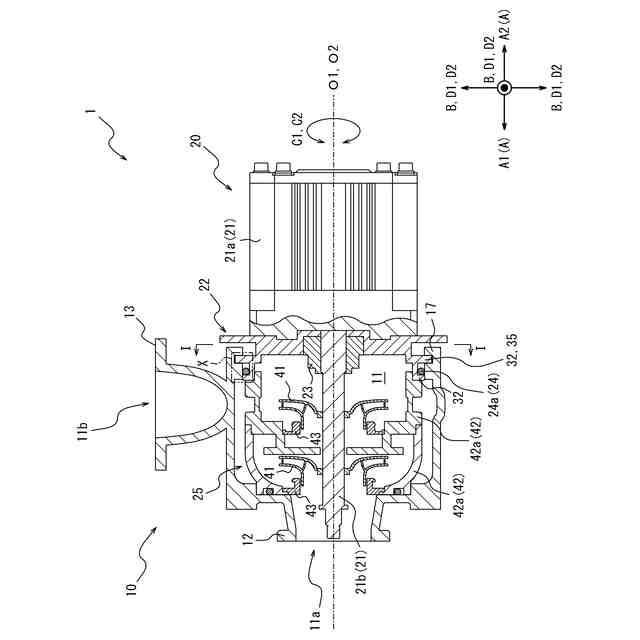
外部に開口する装着口を有する収容空間を区画する外部ケーシングと、
前記装着口を通じて前記収容空間に挿入され、前記収容空間に収容されている液体を加圧可能なポンプ本体部と、を備え、
前記ポンプ本体部は、
前記装着口を閉塞可能なケーシングカバーと、
前記ケーシングカバーに支持され、前記外部ケーシングと前記ケーシングカバーとの間に挟み込まれることで、前記外部ケーシングと前記ケーシングカバーとの間をシール可能なシール部材と、を備え、
前記ケーシングカバーの外面は、前記シール部材を支持するシール支持面を備え、
前記外部ケーシングの内面は、前記シール支持面に支持されている前記シール部材が接触するシール接触面を備え、
前記シール支持面は、第1支持面と、前記第1支持面に対して前記ポンプ本体部の挿入抜去方向の抜去方向に位置する第2支持面と、を備え、
前記シール部材は、前記収容空間において前記ポンプ本体部が加圧する液体によって前記抜去方向に押圧されて、前記第1支持面に支持される位置から前記第2支持面に支持される位置に移動可能であり、
前記第2支持面に支持されているときの前記シール部材のつぶし代は、前記第1支持面に支持されているときの前記シール部材の前記つぶし代よりも大きい、ポンプ。
続きを表示(約 720 文字)
【請求項2】
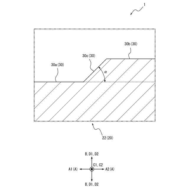
前記第1支持面及び前記第2支持面は、前記挿入抜去方向に平行又は略平行に延在し、
前記第2支持面と前記シール接触面との前記挿入抜去方向と直交する直交方向の間隔は、前記第1支持面と前記シール接触面との前記直交方向の間隔より小さい、請求項1に記載のポンプ。
【請求項3】
前記第2支持面と前記シール接触面との前記間隔は、前記第1支持面と前記シール接触面との前記間隔よりも0.1~0.3mm小さい、請求項2に記載のポンプ。
【請求項4】
前記シール支持面は、前記第1支持面と前記第2支持面とを連ねる傾斜面を備える、請求項2又は3に記載のポンプ。
【請求項5】
前記傾斜面の前記挿入抜去方向に対する傾斜角度は30~60度である、請求項4に記載のポンプ。
【請求項6】
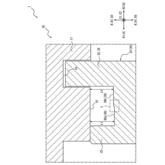
前記ケーシングカバーは、前記挿入抜去方向に沿う中心軸線を規定し、前記中心軸線を中心とした径方向の外側に凸となる爪部を備え、
前記外部ケーシングは、前記爪部が通過可能な凹部と、前記爪部が前記凹部を通過した状態で、前記ポンプ本体部を前記中心軸線周りの周方向に回転させることで、前記爪部と前記周方向の位置が合う凸部と、を備える、請求項1~3のいずれか1つに記載のポンプ。
【請求項7】
前記爪部は、前記周方向の異なる位置に複数配置されており、
前記凸部は、前記周方向において前記複数の爪部と対応する位置に複数配置されている、請求項6に記載のポンプ。
【請求項8】
前記複数の爪部は、前記周方向に均等な間隔で離間して配置されている、請求項7に記載のポンプ。
発明の詳細な説明
【技術分野】
【0001】
本開示はポンプに関する。
続きを表示(約 1,600 文字)
【背景技術】
【0002】
従来から、外部ケーシングからポンプ本体部を抜去することにより、ポンプ本体部を容易にメンテナンスできるバックプルアウト型のポンプが知られている。特許文献1にはこの種のポンプが開示されている。
【先行技術文献】
【特許文献】
【0003】
実開平4-95699号公報
【発明の概要】
【発明が解決しようとする課題】
【0004】
特許文献1に記載されるようなポンプにおいて、外部ケーシングとポンプ本体部との間をシールするシール部材を設けることが考えられる。このシール部材のシール性能を確保するには、シール部材のつぶし代がある程度大きいことが好ましい。その一方で、シール部材のつぶし代が大きくなると、外部ケーシングにポンプ本体部を挿入しにくくなる場合がある。
【0005】
本開示は、シール部材のシール性能の向上、及び、外部ケーシングへのポンプ本体部の挿入しやすさの向上、を両立可能なポンプを提供することを目的とする。
【課題を解決するための手段】
【0006】
本開示の第1の態様としてのポンプは、
(1)
外部に開口する装着口を有する収容空間を区画する外部ケーシングと、
前記装着口を通じて前記収容空間に挿入され、前記収容空間に収容されている液体を加圧可能なポンプ本体部と、を備え、
前記ポンプ本体部は、
前記装着口を閉塞可能なケーシングカバーと、
前記ケーシングカバーに支持され、前記外部ケーシングと前記ケーシングカバーとの間に挟み込まれることで、前記外部ケーシングと前記ケーシングカバーとの間をシール可能なシール部材と、を備え、
前記ケーシングカバーの外面は、前記シール部材を支持するシール支持面を備え、
前記外部ケーシングの内面は、前記シール支持面に支持されている前記シール部材が接触するシール接触面を備え、
前記シール支持面は、第1支持面と、前記第1支持面に対して前記ポンプ本体部の挿入抜去方向の抜去方向に位置する第2支持面と、を備え、
前記シール部材は、前記収容空間において前記ポンプ本体部が加圧する液体によって前記抜去方向に押圧されて、前記第1支持面に支持される位置から前記第2支持面に支持される位置に移動可能であり、
前記第2支持面に支持されているときの前記シール部材のつぶし代は、前記第1支持面に支持されているときの前記シール部材の前記つぶし代よりも大きい、ポンプ、である。
【0007】
本開示の1つの実施形態としてのポンプは、
(2)
前記第1支持面及び前記第2支持面は、前記挿入抜去方向に平行又は略平行に延在し、
前記第2支持面と前記シール接触面との前記挿入抜去方向と直交する直交方向の間隔は、前記第1支持面と前記シール接触面との前記直交方向の間隔より小さい、上記(1)に記載のポンプ、である。
【0008】
本開示の1つの実施形態としてのポンプは、
(3)
前記第2支持面と前記シール接触面との前記間隔は、前記第1支持面と前記シール接触面との前記間隔よりも0.1~0.3mm小さい、上記(2)に記載のポンプ、である。
【0009】
本開示の1つの実施形態としてのポンプは、
(4)
前記シール支持面は、前記第1支持面と前記第2支持面とを連ねる傾斜面を備える、上記(2)又は(3)に記載のポンプ、である。
【0010】
本開示の1つの実施形態としてのポンプは、
(5)
前記傾斜面の前記挿入抜去方向に対する傾斜角度は30~60度である、上記(4)に記載のポンプ、である。
(【0011】以降は省略されています)
この特許をJ-PlatPat(特許庁公式サイト)で参照する
関連特許
テラル株式会社
ポンプ
1日前
テラル株式会社
ビレット回転保持装置、及び、ビレット保持ユニット
2日前
テラル株式会社
ディスポーザシステム、及び、ディスポーザ制御方法
3か月前
個人
圧縮機
5か月前
個人
海流製造装置。
23日前
株式会社スギノマシン
圧縮機
1日前
株式会社ツインバード
送風装置
21日前
ダイニチ工業株式会社
空調装置
4か月前
株式会社ツインバード
送風装置
21日前
カヤバ株式会社
電動ポンプ
2か月前
株式会社不二越
蓄圧装置
2か月前
ビッグボーン株式会社
送風装置
1か月前
個人
携帯型扇風機用の送風ノズル
4か月前
株式会社ニクニ
液封式ポンプ装置
4か月前
株式会社酉島製作所
ポンプ
4か月前
株式会社酉島製作所
ポンプ
3か月前
株式会社ノーリツ
ロータリ圧縮機
1か月前
シャープ株式会社
送風装置
5か月前
シャープ株式会社
送風装置
5か月前
株式会社酉島製作所
ポンプ
5か月前
シャープ株式会社
送風装置
5か月前
株式会社電業社機械製作所
ポンプ
6か月前
小倉クラッチ株式会社
ルーツブロア
2か月前
サンデン株式会社
スクロール圧縮機
7日前
株式会社坂製作所
スクロール圧縮機
3か月前
サンデン株式会社
スクロール圧縮機
7日前
樫山工業株式会社
真空ポンプ
2日前
リンナイ株式会社
羽根車
6か月前
株式会社ノーリツ
ロータリー圧縮機
3か月前
株式会社不二越
油圧ユニット
4か月前
サンデン株式会社
スクロール圧縮機
7日前
株式会社不二越
ベーンポンプ
2か月前
株式会社コスメック
ピストン型ポンプ
4か月前
株式会社島津製作所
真空ポンプ
21日前
個人
連結式螺旋翼体及び流体移送装置
4か月前
株式会社島津製作所
真空ポンプ
1か月前
続きを見る
他の特許を見る