TOP
|
特許
|
意匠
|
商標
特許ウォッチ
Twitter
他の特許を見る
10個以上の画像は省略されています。
公開番号
2025138471
公報種別
公開特許公報(A)
公開日
2025-09-25
出願番号
2024037582
出願日
2024-03-11
発明の名称
気液駆動装置
出願人
株式会社ナノバブル研究所
代理人
個人
主分類
F04C
18/22 20060101AFI20250917BHJP(液体用容積形機械;液体または圧縮性流体用ポンプ)
要約
【課題】 本発明は気体と液体を同時に加圧し、搬送することができる気液駆動装置を提供するものである。
【解決手段】 内周面がプリトロコイド曲線を備えたハウジングと、3つの頂点と各頂点を結ぶ3つの辺を備え、上記ハウジングの内周面に前記3つの頂点が接して回転するロータと、ギヤを介して上記ロータに回転駆動力を伝達し、上記ロータの回転軸と異なる位置に回転軸を備えたシャフトと、上記ハウジングに設けられた吸引孔及び吐出孔とを備え、上記ロータに設けられた3つの辺の各辺とハウジングの内周面との間に形成される空間に上記吸引孔から気体又は液体を吸引し、前記ロータの回転に従って前記空間に溜まった気体又は液体を前記吐出孔から排出し、同時に気体と液体を加圧して搬送する気液駆動装置を提供することによって達成できる。
【選択図】 図1
特許請求の範囲
【請求項1】
内周面がプリトロコイド曲線を備えたハウジングと、
3つの頂点と、各頂点を結ぶ3つの辺を備え、前記ハウジングの内周面に前記3つの頂点が接して回転するロータと、
ギヤを介して前記ロータに回転駆動力を伝達し、前記ロータの回転軸と異なる位置に回転軸を備えたシャフトと、
前記ハウジングに設けられた吸引孔及び排出孔と、を備え、
前記ロータに設けられた3つの辺の各辺と前記ハウジングの内周面との間に形成される空間に前記吸引孔から気体又は液体を吸引し、前記ロータの回転に従って前記空間に溜まった気体又は液体を前記排出孔から排出し、前記吸引孔から排出孔に気体又は液体を定量で送ることを特徴とする気液駆動装置。
続きを表示(約 780 文字)
【請求項2】
前記ハウジングに設けられた前記吸引孔及び排出孔は、気体の吸引と排出を行う一対の吸気孔と排気孔、及び液体の吸引と排出を行う一対の吸水孔と排水孔を備えることを特徴とする請求項1に記載の気液駆動装置。
【請求項3】
前記ハウジングに設けられた前記吸引孔及び排出孔は、気体の吸引と排出を行う一対の第1の吸気孔と排気孔、及び同じく気体の吸引と排出を行う一対の第2の吸気孔と排気孔、を備えることを特徴とする請求項1に記載の気液駆動装置。
【請求項4】
前記ハウジングに設けられた前記吸引孔及び排出孔は、液体の吸引と排出を行う一対の第1の吸水孔と排水孔、及び同じく液体の吸引と排出を行う一対の第2の吸水孔と排水孔を備えることを特徴とする請求項1に記載の気液駆動装置。
【請求項5】
前記気液駆動装置は直列、又は並列に複数台接続されていることを特徴とする請求項1、2、3、又は4に記載の気液駆動装置。
【請求項6】
前記直列又は並列に複数台接続された気液駆動装置の少なくとも1台は、前記一対の第1、第2の吸気孔と排気孔を備えることを特徴とする請求項5に記載の気液駆動装置。
【請求項7】
前記直列又は並列に複数台接続された気液駆動装置の少なくとも1台は、前記一対の第1、第2の吸水孔と排水孔を備えることを特徴とする請求項5に記載の気液駆動装置。
【請求項8】
前記ロータ側のギヤとシャフト側のギヤのギヤ比は3対2であることを特徴とする請求項1、2、3、4、6、又は7に記載の気液駆動装置。
【請求項9】
前記吸引孔及び吐出孔の内周面にはディンプル加工が施されていることを特徴とする請求項1、2、3、4、6又は7に記載の気液駆動装置。
発明の詳細な説明
【技術分野】
【0001】
本発明は、ロータリーエンジンの原理を使用して気体と液体を同時に駆動する気液駆動装置に関する。
続きを表示(約 1,800 文字)
【背景技術】
【0002】
今日、ポンプは液体や気体を低所から高所へ、低圧部から高圧部へ、又は遠方へ送る手段として広く使用され、ターボ型ポンプ、ピストン型ポンプ等の各種ポンプが実用化されている。しかしながら、従来のポンプでは振動等の騒音の問題がある。
【0003】
そこで、騒音を軽減する為、特許文献1に開示する回転型のポンプの発明が提案されている。このポンプは、ケーシング内にロータを収納し、このロータに液体の通路を複数設け、この通路を通して液体を吸引口から吐出口に送るポンプである。
【0004】
ロータの内側には、可撓性の羽根を備えた回転体が設けられ、羽根がロータに設けられた複数の係合溝に係合し、ロータの回転に従って回転体を回転させる構造である。また、この回転体の回転軸はロータの回転軸に対して偏心した位置も設けられており、ロータが最上位の位置から下方に回転移行する際徐々に容積が増大し、吸引口から通路を介して液体が吸引され、ロータが最下位の位置から上方に回転移行する際容積が縮小し、通路を介して吐出口に液体を送出する構成である。
【先行技術文献】
【特許文献】
【0005】
特開平8-277786号公報
【発明の概要】
【発明が解決しようとする課題】
【0006】
しかしながら、上記従来の回転ポンプでは容積が小さく、ロータの1回転で液体を送ることができる液体容量も限られている。また、上記液体駆動装置では、水等の液体を加圧して搬送する装置であり、液体と同時に気体を加圧搬送する気液駆動装置については提案されていない。
【0007】
そこで、本発明は液体と気体を同時に加圧搬送する気液駆動装置であり、特に液体に微細な気体、例えばナノレベルの微細気泡を生成するナノバブル発生装置では液体と当該液体に含有させる気体を同時に加圧して供給できれば有効であり、このような用途に適した気液駆動装置を提供するものである。
【課題を解決するための手段】
【0008】
上記課題は本発明によれば、内周面がペリトロコイド曲線を備えたハウジングと、3つの頂点と各頂点を結ぶ3つの辺を備え、前記ハウジングの内周面に上記3つの頂点が接して回転するロータと、ギヤを介して上記ロータに回転駆動力を伝達し、上記ロータの回転軸と異なる位置に回転軸を備えたシャフトと、ハウジングに設けられた吸引孔及び吐出孔とを備え、上記ロータに設けられた3つの辺の各辺とハウジングの内周面との間に形成される空間に上記吸引孔から気体又は液体を吸引し、前記ロータの回転に従って前記空間に吸引した気体又は液体を上記吐出孔から排出し、吸引孔から吐出孔に気体又は液体を定量で送る気液駆動装置を提供することによって達成できる。
【0009】
また、上記ハウジングに設けられた吸引孔及び排出孔は、気体の吸引と排出を行う一対の吸気孔と排気孔、及び液体の吸引と排出を行う一対の吸水孔と排水孔を備えることを特徴とする。
また、上記気液駆動装置は直列、又は並列に複数台接続されていることを特徴とする。
【図面の簡単な説明】
【0010】
本実施形態のポンプの構成を説明する図であり、気液駆動装置の断面構造を示す図である。
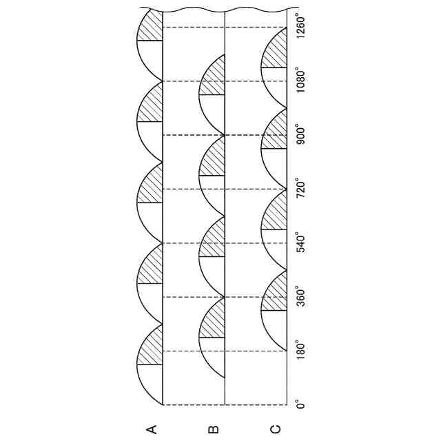
本実施形態の気液駆動装置の駆動動作を説明する図であり、ロータの回転角度に従った各空間部の容量変化を示す図である。
本実施形態の気液駆動装置の駆動動作を説明する図であり、ロータの回転角度に従った各空間部の圧力変化を示す図である。
ロータが所定角度回転した際の気液駆動装置内の状態を示す図である。
ロータが更に所定角度回転した際の気液駆動装置内の状態を示す図である。
ロータが更に所定角度回転した際の気液駆動装置内の状態を示す図である。
気液駆動装置が更に所定角度回転した際の状態を示す図である。
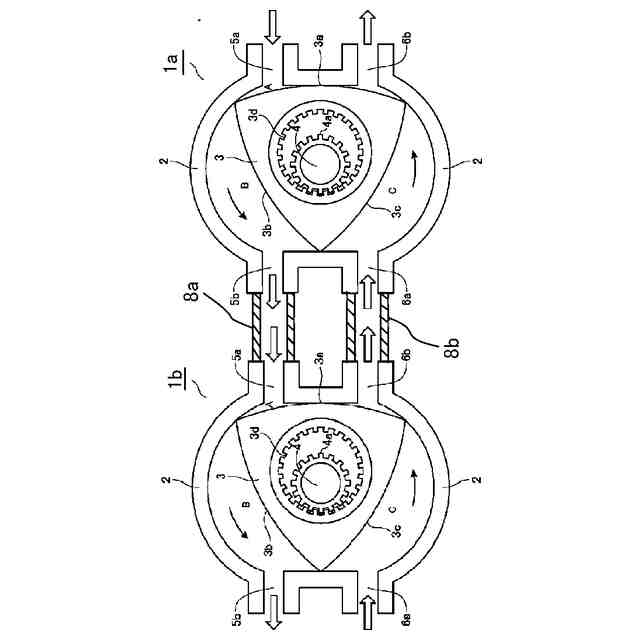
本実施形態の気液駆動装置を複数台直列に接続した状態を示す図である。
本実施形態の気液駆動装置を複数台並列に接続した状態を示す図である。
実際に使用する際の本実施形態の気液駆動装置を複数台並列に接続した状態を説明する図である。
【発明を実施するための形態】
(【0011】以降は省略されています)
この特許をJ-PlatPat(特許庁公式サイト)で参照する
関連特許
個人
圧縮機
5か月前
個人
海流製造装置。
20日前
株式会社ツインバード
送風装置
18日前
株式会社ツインバード
送風装置
18日前
ダイニチ工業株式会社
空調装置
4か月前
カヤバ株式会社
電動ポンプ
2か月前
株式会社不二越
蓄圧装置
2か月前
ビッグボーン株式会社
送風装置
1か月前
株式会社酉島製作所
ポンプ
3か月前
株式会社酉島製作所
ポンプ
4か月前
個人
携帯型扇風機用の送風ノズル
4か月前
株式会社ニクニ
液封式ポンプ装置
4か月前
株式会社ノーリツ
ロータリ圧縮機
1か月前
株式会社坂製作所
スクロール圧縮機
3か月前
株式会社ノーリツ
ロータリー圧縮機
3か月前
株式会社不二越
油圧ユニット
4か月前
小倉クラッチ株式会社
ルーツブロア
2か月前
株式会社不二越
ベーンポンプ
2か月前
サンデン株式会社
スクロール圧縮機
4日前
サンデン株式会社
スクロール圧縮機
4日前
サンデン株式会社
スクロール圧縮機
4日前
株式会社島津製作所
真空ポンプ
1か月前
エドワーズ株式会社
真空ポンプ
12日前
個人
連結式螺旋翼体及び流体移送装置
4か月前
株式会社島津製作所
真空ポンプ
18日前
株式会社アイシン
ポンプケース
11日前
株式会社コスメック
ピストン型ポンプ
4か月前
株式会社チロル
送風機、送風機付衣服
1か月前
株式会社豊田自動織機
流体機械
1か月前
株式会社豊田自動織機
遠心圧縮機
3か月前
株式会社豊田自動織機
電動圧縮機
1か月前
株式会社豊田自動織機
遠心圧縮機
4か月前
株式会社豊田自動織機
電動圧縮機
28日前
株式会社豊田自動織機
電動圧縮機
3か月前
株式会社豊田自動織機
電動圧縮機
28日前
已久工業股ふん有限公司
空気圧縮機構造
2か月前
続きを見る
他の特許を見る