TOP
|
特許
|
意匠
|
商標
特許ウォッチ
Twitter
他の特許を見る
10個以上の画像は省略されています。
公開番号
2025146269
公報種別
公開特許公報(A)
公開日
2025-10-03
出願番号
2024046948
出願日
2024-03-22
発明の名称
モータポンプ
出願人
株式会社荏原製作所
代理人
個人
,
個人
,
個人
主分類
F04D
29/22 20060101AFI20250926BHJP(液体用容積形機械;液体または圧縮性流体用ポンプ)
要約
【課題】起動時または運転時に起こりうる液体の急激な流入により羽根車がその背面側の壁面に押し付けられることを防止することができるモータポンプを提供する。
【解決手段】モータポンプは、羽根車1と、羽根車1に固定されたモータロータ2と、モータロータ2に隣接して配置されたモータステータ3と、羽根車1を回転可能に支持する軸受5と、羽根車1、モータロータ2、モータステータ3、および軸受5を収容するポンプケーシング7と、羽根車1の主板29に着脱可能に取り付けられ、かつ羽根車1の中央に設けられた摺接部材50を備える。摺接部材50は、ポンプケーシング7内に位置する内壁面60に向かって突出している。
【選択図】図1
特許請求の範囲
【請求項1】
羽根車と、
前記羽根車に固定されたモータロータと、
前記モータロータに隣接して配置されたモータステータと、
前記羽根車を回転可能に支持する軸受と、
前記羽根車、前記モータロータ、前記モータステータ、および前記軸受を収容するポンプケーシングと、
前記羽根車の主板に着脱可能に取り付けられ、かつ前記羽根車の中央に設けられた摺接部材を備え、
前記摺接部材は、前記ポンプケーシング内に位置する内壁面に向かって突出している、モータポンプ。
続きを表示(約 510 文字)
【請求項2】
前記モータポンプは、前記羽根車の前記主板の中央に取り付けられたセンターキャップをさらに備え、
前記摺接部材は、前記センターキャップに着脱可能に保持されている、請求項1に記載のモータポンプ。
【請求項3】
前記主板は、その中央に形成された通孔を有しており、前記センターキャップは前記通孔に挿入されている、請求項2に記載のモータポンプ。
【請求項4】
前記内壁面は、窪みを有しており、前記摺接部材の一部は、前記窪み内に位置している、請求項1に記載のモータポンプ。
【請求項5】
前記摺接部材は、前記羽根車の主板に直接保持されている、請求項1に記載のモータポンプ。
【請求項6】
前記モータポンプは、前記羽根車の背面側に配置された戻り羽根と、前記戻り羽根に固定されたサイドプレートをさらに備え、
前記内壁面は、前記サイドプレートの前記羽根車に対向する面である、請求項1に記載のモータポンプ。
【請求項7】
前記内壁面は、前記ポンプケーシングの前記羽根車に対向する面である、請求項1に記載のモータポンプ。
発明の詳細な説明
【技術分野】
【0001】
本発明は、液体を移送するためのモータポンプに関する。
続きを表示(約 2,400 文字)
【背景技術】
【0002】
モータポンプは、羽根車と、羽根車を回転させる電動機を備えている。液体は、回転する羽根車によって羽根車内に吸い込まれ、羽根車の回転によって昇圧される。モータポンプは、電動機とポンプを一体の構造にすることで軸封部をなくし、液体を密閉することができるので無漏洩で運転ができるポンプである。このようなモータポンプは、様々な種類の液体(例えば、水、薬液、冷媒)などを移送する用途に使用されている。
【先行技術文献】
【特許文献】
【0003】
国際公開第2022/201731号
国際公開第2023/032366号
特開2010-48162号公報
【発明の概要】
【発明が解決しようとする課題】
【0004】
モータポンプの起動時には、液体が一時的に高い流量でモータポンプ内に流入することがある。このような液体の流れは、モータポンプの羽根車を、羽根車の背面側にある壁面に押し付け、羽根車の摩耗や、羽根車の損傷を引き起こすことがある。特に、スラリーが混在した液体(例えば、氷の粒を含む液体)や比重の高い液体を起動時にモータポンプが吸い込んだときに、羽根車は壁面に強く押し付けられてしまう。
【0005】
このような現象は、モータポンプの起動時のみならず、モータポンプ運転中の液体の急激な流量変化時にも起こりうる。例えば、モータポンプの吐出し口に連結された締め切り弁が開いた直後は、液体はモータポンプに勢いよく流入し、羽根車を背面側の壁面に押し付けてしまう。
【0006】
そこで、本発明は、起動時または運転時に起こりうる液体の急激な流入により羽根車がその背面側の壁面に押し付けられることを防止することができるモータポンプを提供する。
【課題を解決するための手段】
【0007】
一態様では、羽根車と、前記羽根車に固定されたモータロータと、前記モータロータに隣接して配置されたモータステータと、前記羽根車を回転可能に支持する軸受と、前記羽根車、前記モータロータ、前記モータステータ、および前記軸受を収容するポンプケーシングと、前記羽根車の主板に着脱可能に取り付けられ、かつ前記羽根車の中央に設けられた摺接部材を備え、前記摺接部材は、前記ポンプケーシング内に位置する内壁面に向かって突出している、モータポンプが提供される。
【0008】
一態様では、前記モータポンプは、前記羽根車の前記主板の中央に取り付けられたセンターキャップをさらに備え、前記摺接部材は、前記センターキャップに着脱可能に保持されている。
一態様では、前記主板は、その中央に形成された通孔を有しており、前記センターキャップは前記通孔に挿入されている。
一態様では、前記内壁面は、窪みを有しており、前記摺接部材の一部は、前記窪み内に位置している。
一態様では、前記摺接部材は、前記羽根車の主板に直接保持されている。
一態様では、前記モータポンプは、前記羽根車の背面側に配置された戻り羽根と、前記戻り羽根に固定されたサイドプレートをさらに備え、前記内壁面は、前記サイドプレートの前記羽根車に対向する面である。
一態様では、前記内壁面は、前記ポンプケーシングの前記羽根車に対向する面である。
【発明の効果】
【0009】
モータポンプの起動時または運転時などにおいて、液体がモータポンプに勢いよく流入したとき、羽根車は液体の流れに押されて内壁面に向かって移動する。このとき、羽根車の背面(主板)に取り付けられた摺接部材が内壁面に接触し、これにより羽根車の背面が内壁面に衝突することが防止される。結果として、羽根車の過度な摩耗や、損傷が防止できる。
【図面の簡単な説明】
【0010】
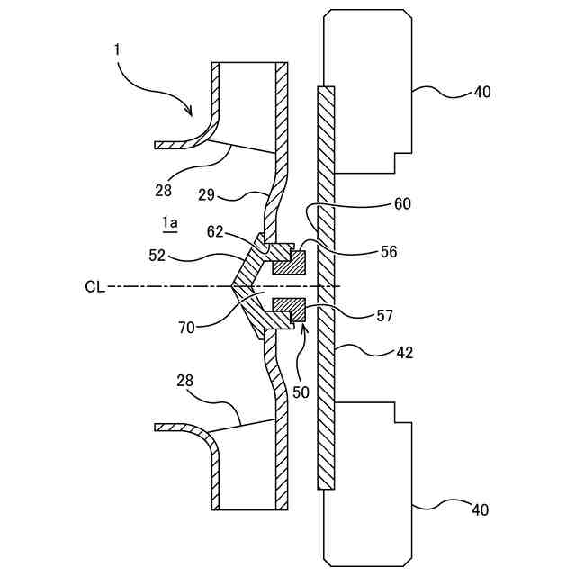
モータポンプの一実施形態を示す断面図である。
図1に示す羽根車、センターキャップ、および摺接部材の拡大断面図である。
羽根車の背面に取り付けられた摺接部材が内壁面に接触したときの状態を示す図である。
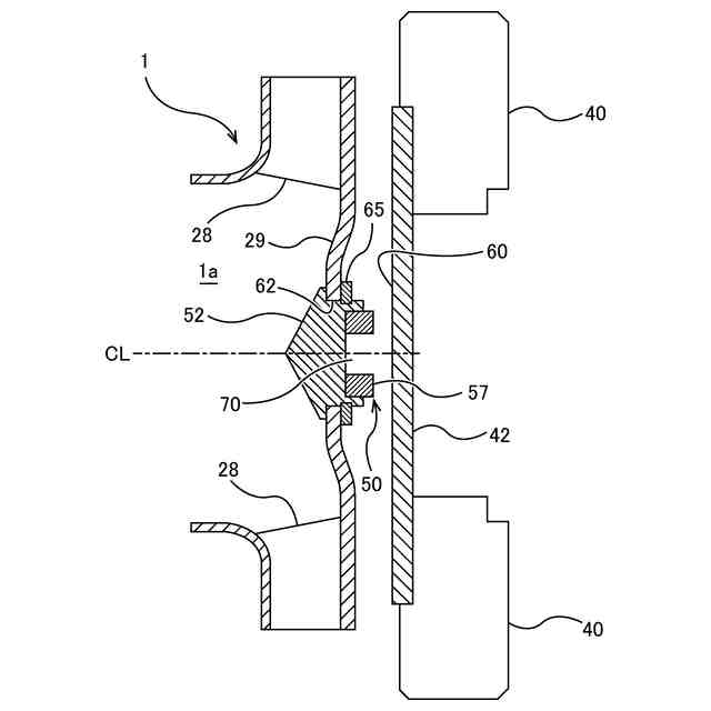
センターキャップの他の実施形態を示す断面図である。
摺接部材の他の実施形態を示す断面図である。
図4に示すセンターキャップと、図5に示す摺接部材とを組み合わせた一実施形態を示す図である。
摺接部材の他の実施形態を示す断面図である。
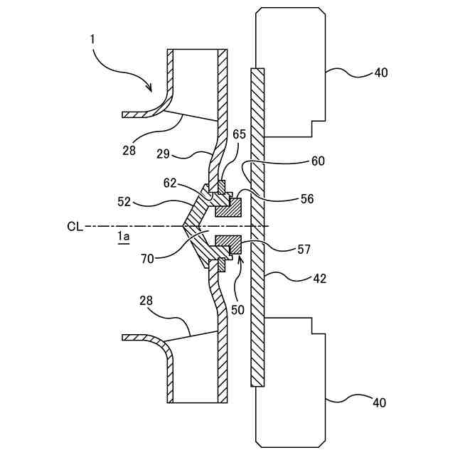
図4に示すセンターキャップと、図7に示す摺接部材とを組み合わせた一実施形態を示す図である。
センターキャップの他の実施形態を示す断面図である。
図9に示すセンターキャップと、図5に示す摺接部材とを組み合わせた一実施形態を示す図である。
センターキャップおよび摺接部材の他の実施形態を示す断面図である。
図11に示すセンターキャップと、円盤形状の摺接部材を組み合わせた一実施形態を示す図である。
センターキャップおよび摺接部材の他の実施形態を示す断面図である。
センターキャップおよび摺接部材の他の実施形態を示す断面図である。
センターキャップおよび摺接部材の他の実施形態を示す断面図である。
センターキャップおよび摺接部材の他の実施形態を示す断面図である。
内壁面の一実施形態を示す図である。
センターキャップと羽根車が一体構造物を構成する一実施形態を示す図である。
羽根車を含む回転体の回転バランスを修正する作業を説明する図である。
アキシャルギャップ型モータポンプの一実施形態を示す断面図である。
【発明を実施するための形態】
(【0011】以降は省略されています)
この特許をJ-PlatPat(特許庁公式サイト)で参照する
関連特許
株式会社荏原製作所
モータポンプ
5日前
株式会社荏原製作所
熱媒体供給装置
5日前
株式会社荏原製作所
温度制御システム
19日前
株式会社荏原製作所
ポンプおよびポンプ装置
19日前
株式会社荏原製作所
研磨装置および研磨方法
20日前
株式会社荏原製作所
研磨方法および研磨装置
5日前
株式会社荏原製作所
ポンプおよびポンプ装置
19日前
株式会社荏原製作所
排ガス処理装置および排ガス処理方法
6日前
株式会社荏原製作所
可動装置、研磨装置および基板処理装置
5日前
株式会社荏原製作所
研磨装置、研磨方法、および研磨ヘッド
19日前
株式会社荏原製作所
研磨ヘッド、研磨装置、および研磨方法
19日前
株式会社荏原製作所
中間ユニットを備えた基板処理システム
19日前
株式会社荏原製作所
情報処理システム、情報処理方法、情報処理プラグラム
21日前
株式会社荏原製作所
基板表面近傍の液置換状態を評価する方法および評価用基板
5日前
株式会社荏原製作所
基板洗浄装置のキャリブレーション方法および基板洗浄方法
今日
株式会社荏原製作所
基板研磨装置、基板処理装置、基板研磨方法、およびプログラム
19日前
株式会社荏原製作所
基板洗浄装置、基板処理装置、基板洗浄方法、洗浄具の洗浄方法、基板洗浄プログラムおよび洗浄具の洗浄プログラム
21日前
個人
圧縮機
5か月前
個人
海流製造装置。
21日前
株式会社ツインバード
送風装置
19日前
ダイニチ工業株式会社
空調装置
4か月前
株式会社ツインバード
送風装置
19日前
個人
扇風機取り付け風力分散機
6か月前
カヤバ株式会社
電動ポンプ
2か月前
株式会社不二越
蓄圧装置
2か月前
ビッグボーン株式会社
送風装置
1か月前
シャープ株式会社
送風装置
5か月前
株式会社酉島製作所
ポンプ
3か月前
株式会社ノーリツ
ロータリ圧縮機
1か月前
シャープ株式会社
送風装置
5か月前
株式会社酉島製作所
ポンプ
5か月前
個人
携帯型扇風機用の送風ノズル
4か月前
株式会社電業社機械製作所
ポンプ
6か月前
株式会社酉島製作所
ポンプ
4か月前
株式会社ニクニ
液封式ポンプ装置
4か月前
シャープ株式会社
送風装置
5か月前
続きを見る
他の特許を見る