TOP
|
特許
|
意匠
|
商標
特許ウォッチ
Twitter
他の特許を見る
公開番号
2025144717
公報種別
公開特許公報(A)
公開日
2025-10-03
出願番号
2024044542
出願日
2024-03-21
発明の名称
電動ポンプ
出願人
カヤバ株式会社
代理人
弁理士法人後藤特許事務所
主分類
F04C
15/00 20060101AFI20250926BHJP(液体用容積形機械;液体または圧縮性流体用ポンプ)
要約
【課題】電動ポンプの部品点数を少なくする。
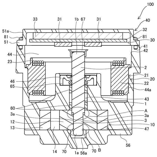
【解決手段】電動ポンプ100は、ポンプ部10と、モータ部20と、を備え、ポンプ部10は、ロータ12を有し、駆動シャフト1は、大径部2と小径部3との間にわたって形成される肩部4を有し、ロータ12は、駆動シャフト1の大径部2の外周面と嵌合する第一挿通孔12aと、駆動シャフト1の小径部3が挿通される第二挿通孔12bと、を有し、駆動シャフト1の小径部3の外周面には、ロータ12に対する駆動シャフト1の抜け止めをする止め輪70が設けられ、駆動シャフト1は、駆動シャフト1の肩部4が第一挿通孔12aと第二挿通孔12bとの間の段部12cに接触することによりロータ12に対する軸方向の一方への移動が規制され、止め輪70がロータ12に接触することによりロータ12に対する軸方向の他方への移動が規制される。
【選択図】図1
特許請求の範囲
【請求項1】
液体を吐出するポンプ部と、
駆動シャフトを回転させて前記ポンプ部を駆動させるモータ部と、を備え、
前記ポンプ部は、前記駆動シャフトが挿通されて連結されるロータを有し、
前記駆動シャフトは、
大径部と、
前記大径部よりも小径に形成される小径部と、
前記大径部と前記小径部との間にわたって形成される肩部と、を有し、
前記ロータは、
前記駆動シャフトの前記大径部の外周面と嵌合する第一挿通孔と、
前記駆動シャフトの前記小径部が挿通し、前記小径部から回転トルクが伝達される第二挿通孔と、を有し、
前記駆動シャフトの前記小径部の外周面には、前記ロータに対する前記駆動シャフトの抜け止めをする抜け止め部材が設けられ、
前記駆動シャフトは、
前記駆動シャフトの前記肩部が前記第一挿通孔と前記第二挿通孔との間の段部に接触することにより前記ロータに対する軸方向の一方への移動が規制され、
前記抜け止め部材が前記ロータに接触することにより前記ロータに対する前記軸方向の他方への移動が規制されることを特徴とする電動ポンプ。
続きを表示(約 500 文字)
【請求項2】
請求項1に記載の電動ポンプであって、
前記抜け止め部材が前記ロータに接触した状態では、前記駆動シャフトの前記肩部と前記ロータの前記段部との間に隙間が形成されることを特徴とする電動ポンプ。
【請求項3】
請求項1に記載の電動ポンプであって、
前記駆動シャフトの前記小径部には、前記抜け止め部材の一部を収容する環状の収容孔が形成され、
前記ロータは、前記抜け止め部材が接触すると反力により前記抜け止め部材を前記収容孔に押し付ける押し付け部をさらに有することを特徴とする電動ポンプ。
【請求項4】
請求項3に記載の電動ポンプであって、
前記ロータの前記押し付け部は、前記軸方向に対して傾斜するテーパ状に形成されることを特徴とする電動ポンプ。
【請求項5】
請求項1に記載の電動ポンプであって、
前記駆動シャフトの前記小径部は、外周面の一部が前記軸方向に切り欠かれて形成される平面部を有し、
前記駆動シャフトの前記肩部は、前記大径部と前記平面部との間に形成されることを特徴とする電動ポンプ。
発明の詳細な説明
【技術分野】
【0001】
本発明は、電動ポンプに関するものである。
続きを表示(約 1,400 文字)
【背景技術】
【0002】
特許文献1には、ユニットハウジング内にポンプ、ポンプ駆動用電動モータおよびモータのコントローラが組み込まれている電動ポンプユニットが開示されている。モータにより駆動されるポンプ駆動モータ軸の外周面には、軸受が設けられる。
【先行技術文献】
【特許文献】
【0003】
特開2010-112302号公報
【発明の概要】
【発明が解決しようとする課題】
【0004】
特許文献1に記載のような電動ポンプユニットでは、軸受により、ポンプ駆動モータ軸の径方向の移動が規制される。さらに、スナップリング等が軸受を挟むように設けられることで、軸受を介してポンプ駆動モータ軸の軸方向の移動が規制される。このような電動ポンプユニットでは、ポンプ駆動モータ軸の移動を規制するために軸受及びスナップリング等が設けられるため、部品点数が多くなってしまう。
【0005】
本発明は、上記の問題点に鑑みてなされたものであり、電動ポンプの部品点数を少なくすることを目的とする。
【課題を解決するための手段】
【0006】
本発明は、液体を吐出するポンプ部と、駆動シャフトを回転させてポンプ部を駆動させるモータ部と、を備え、ポンプ部は、駆動シャフトが挿通されて連結されるロータを有し、駆動シャフトは、大径部と、大径部よりも小径に形成される小径部と、大径部と小径部との間にわたって形成される肩部と、を有し、ロータは、駆動シャフトの大径部の外周面と嵌合する第一挿通孔と、駆動シャフトの小径部が挿通し、小径部から回転トルクが伝達される第二挿通孔と、を有し、駆動シャフトの小径部の外周面には、ロータに対する駆動シャフトの抜け止めをする抜け止め部材が設けられ、駆動シャフトは、駆動シャフトの肩部が第一挿通孔と第二挿通孔との間の段部に接触することによりロータに対する軸方向の一方への移動が規制され、抜け止め部材がロータに接触することによりロータに対する軸方向の他方への移動が規制されることを特徴とする。
【0007】
この発明では、駆動シャフトの本体部の外周面とロータの第一挿通孔の内周面との嵌合により、ロータに対する駆動シャフトの径方向への移動が規制され、駆動シャフトの肩部及び駆動シャフトに設けられる抜け止め部材がロータに接触することにより、ロータに対する駆動シャフトの軸方向への移動が規制される。よって、少ない部品点数でロータに対する駆動シャフトの径方向及び軸方向への移動を規制することができる。
【0008】
また、本発明は、抜け止め部材がロータに接触した状態では、駆動シャフトの肩部とロータの段部との間に隙間が形成されることを特徴とする。
【0009】
この発明では、駆動シャフトの肩部とロータの段部との間の隙間により、駆動シャフト等の製造誤差を吸収することができる。
【0010】
また、本発明は、駆動シャフトの小径部には、抜け止め部材の一部を収容する環状の収容孔が形成され、ロータは、抜け止め部材が接触すると反力により抜け止め部材を収容孔に押し付ける押し付け部をさらに有することを特徴とする。
(【0011】以降は省略されています)
この特許をJ-PlatPat(特許庁公式サイト)で参照する
関連特許
カヤバ株式会社
減圧弁
13日前
カヤバ株式会社
緩衝器
6日前
カヤバ株式会社
緩衝器
6日前
カヤバ株式会社
防水構造
4日前
カヤバ株式会社
ミキサ車
4日前
カヤバ株式会社
ミキサ車
4日前
カヤバ株式会社
ミキサ車
4日前
カヤバ株式会社
展開デッキ
4日前
カヤバ株式会社
摩擦試験機
15日前
カヤバ株式会社
電動ポンプ
2か月前
カヤバ株式会社
電動ポンプ
11日前
カヤバ株式会社
ギヤポンプ
4日前
カヤバ株式会社
ギヤポンプ
4日前
カヤバ株式会社
ギヤポンプ
4日前
カヤバ株式会社
苗木植付装置
4日前
カヤバ株式会社
高所作業装置
11日前
カヤバ株式会社
苗木抜出装置
4日前
カヤバ株式会社
苗木植付装置
4日前
カヤバ株式会社
苗木植付装置
4日前
カヤバ株式会社
冗長システム
1か月前
カヤバ株式会社
苗木植付装置
4日前
カヤバ株式会社
苗木植付装置
4日前
カヤバ株式会社
流体圧制御装置
27日前
カヤバ株式会社
チェックバルブ
15日前
カヤバ株式会社
モータ制御装置
2か月前
カヤバ株式会社
ポンプの取付構造
7日前
カヤバ株式会社
回転機の製造方法
11日前
カヤバ株式会社
筒部材及び緩衝器
6日前
カヤバ株式会社
筒型リニアモータ
6日前
カヤバ株式会社
筒部材及び緩衝器
6日前
カヤバ株式会社
筒部材及び緩衝器
6日前
カヤバ株式会社
バルブおよび緩衝器
15日前
カヤバ株式会社
バルブおよび緩衝器
15日前
カヤバ株式会社
反力アクチュエータ
1か月前
カヤバ株式会社
ステアバイワイヤ装置
2か月前
カヤバ株式会社
ブッシュ及び液圧回転機
11日前
続きを見る
他の特許を見る