TOP
|
特許
|
意匠
|
商標
特許ウォッチ
Twitter
他の特許を見る
公開番号
2025135160
公報種別
公開特許公報(A)
公開日
2025-09-18
出願番号
2024032824
出願日
2024-03-05
発明の名称
水中ポンプ
出願人
株式会社鶴見製作所
代理人
個人
,
個人
,
個人
主分類
F04D
15/00 20060101AFI20250910BHJP(液体用容積形機械;液体または圧縮性流体用ポンプ)
要約
【課題】所望の水位で水中ポンプ本体の運転を開始し、適切なタイミングで当該水中ポンプ本体の運転を停止可能な水中ポンプを提供することである。
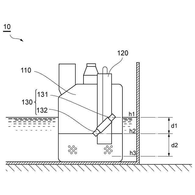
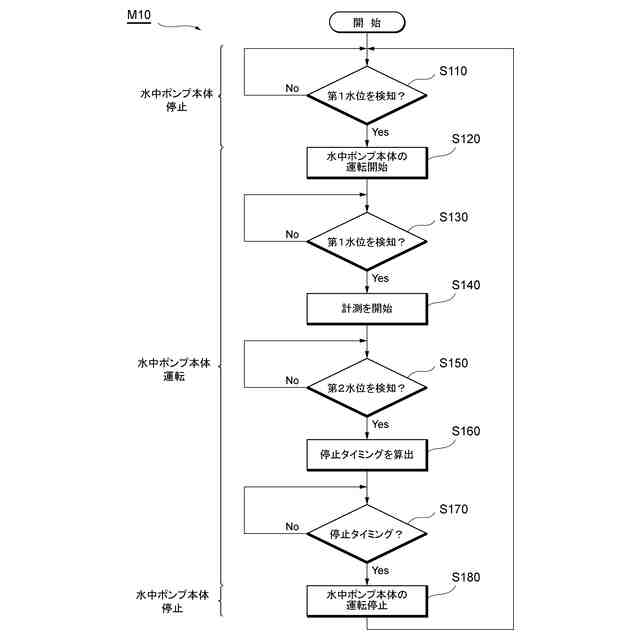
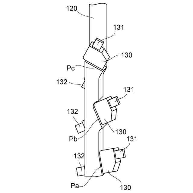
【解決手段】水位検知部材130は、第1水位を検知する第1検知部131と、第2水位を検知する第2検知部132と、を含み、水位検知部材130が水中ポンプ本体110に設置された状態での第1検知部131と第2検知部132との鉛直方向の第1距離が、水位検知部材130の設置位置に応じて異なるように構成されており、水中ポンプ制御部140は、第1検知部131によって第1水位が検知されることに基づいて、水中ポンプ本体110の運転を開始し、第1検知部によって第1水位が検知されてから第2検知部132によって第2水位が検知されるまでの時間を計測し、計測した時間に応じた停止タイミングで、水中ポンプ本体110の運転を停止する。
【選択図】図3
特許請求の範囲
【請求項1】
水中ポンプ本体と、
前記水中ポンプ本体に直接的又は間接的に設置される水位検知部材と、
前記水中ポンプ本体の運転を制御する水中ポンプ制御部と、を備え、
前記水位検知部材は、
第1水位を検知する第1検知部と、
前記第1水位よりも低い第2水位を検知する第2検知部と、を含み、
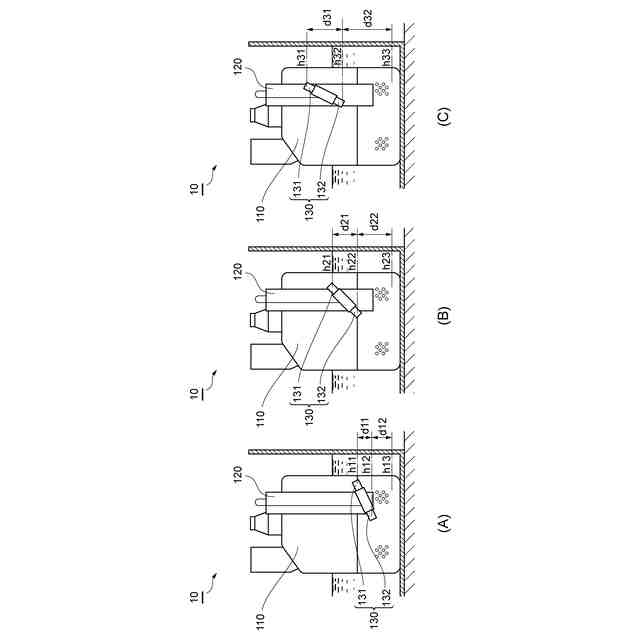
前記水位検知部材が前記水中ポンプ本体に設置された状態での前記第1検知部と前記第2検知部との鉛直方向の第1距離が、前記水中ポンプ本体における前記水位検知部材の設置位置に応じて異なるように構成されており、
前記水中ポンプ制御部は、
前記第1検知部によって前記第1水位が検知されることに基づいて、前記水中ポンプ本体の運転を開始し、
前記第1検知部によって前記第1水位が検知されてから前記第2検知部によって前記第2水位が検知されるまでの時間を計測し、
前記計測した時間に応じた、前記水中ポンプ本体の運転を停止させる停止タイミングで、前記水中ポンプ本体の運転を停止する、
水中ポンプ。
続きを表示(約 750 文字)
【請求項2】
前記水位検知部材は、前記水中ポンプ本体において異なる高さ位置に設けられた複数の設置位置のうちいずれかの設置位置に設置される、
請求項1に記載の水中ポンプ。
【請求項3】
前記複数の設置位置のそれぞれにおいて、前記水中ポンプ本体に対して前記水位検知部材が設置される角度が異なるように構成されている、
請求項2に記載の水中ポンプ。
【請求項4】
前記複数の設置位置のそれぞれにおいて、前記水位検知部材が異なる角度で固定可能に構成されている、
請求項3に記載の水中ポンプ。
【請求項5】
前記複数の設置位置のそれぞれにおいて、前記水位検知部材が異なる角度で差し込み可能に構成されている、
請求項4に記載の水中ポンプ。
【請求項6】
前記複数の設置位置が高くなるに従って、当該設置位置に前記水位検知部材が設置された際に前記第1距離が大きくなる、
請求項2に記載の水中ポンプ。
【請求項7】
前記第1距離と、前記第2検知部と前記水中ポンプ本体の運転を停止させる停止位置との第2距離との関係が一定である、
請求項1に記載の水中ポンプ。
【請求項8】
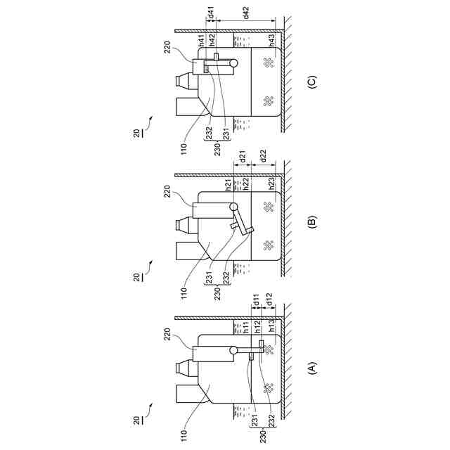
前記水位検知部材は、水位を検知する第1電極及び第2電極を含み、
前記第1電極が前記第1検知部として機能し、前記第2電極が前記第2検知部として機能する場合と、前記第1電極が前記第2検知部として機能し、前記第2電極が前記第1検知部として機能する場合とで、前記第1距離と、前記第2検知部と前記水中ポンプ本体の運転を停止させる停止位置との第2距離との関係が異なる、
請求項1に記載の水中ポンプ。
発明の詳細な説明
【技術分野】
【0001】
本発明は、水中ポンプに関する。
続きを表示(約 1,500 文字)
【背景技術】
【0002】
従来、建設現場で湧水排水などの用途で用いられる水中ポンプがある。水中ポンプは、モータを駆動させることによって水を吸い上げて排水などを行うが、釜場(水槽)に溜まった水量(水位)に応じて、当該水中ポンプの運転を開始したり、停止したりしている。
【0003】
例えば、特許文献1及び特許文献2では、水位制御による自動運転機能を備えた水中ポンプに関する技術が開示されている。
【0004】
具体的には、特許文献1に開示されている水中ポンプは、水位検出器からの水位判定信号に基づいてモータを運転させて、過去の停止時間及び運転時間より判断した算出運転時間後にモータを停止させている。特許文献2に開示されている水中ポンプは、水位検知器によって停止水位及び運転水位を含む複数の水位を検知して、それらに基づいてモータを運転及び停止させている。
【0005】
また、水位検知器によって検知する制御水位を簡単に設定変更することができるように、水位を検知する検知部の構造をセミフレキシブルに変形可能な棒状とすることにより、先端部の高さを任意に設定できることが開示されている。
【先行技術文献】
【特許文献】
【0006】
特開2005-220895号公報
特開2007-315367号公報
【発明の概要】
【発明が解決しようとする課題】
【0007】
しかしながら、特許文献1及び特許文献2に開示されている水中ポンプでは、水中ポンプ本体の運転を開始した後、排水量、残水量及びそれらに対応する水位などに基づいて当該水中ポンプ本体の運転を、適切なタイミングで停止できない可能性がある。
【0008】
ところで、水中ポンプの自動運転機能に関して、水中ポンプ本体の運転を開始するタイミングを所望の水位に設定可能とすることが求められている。特許文献1及び特許文献2に開示されているように、水位検知器における棒状の検知部を変形させることにより制御水位を変更することが考えられるが、このように制御水位を変更した場合、水中ポンプ本体の運転を開始した後、当該水中ポンプ本体の運転を適切なタイミングで停止させることが困難になってしまうという問題がある。
【0009】
そこで、本発明は、所望の水位で水中ポンプ本体の運転を開始し、適切なタイミングで当該水中ポンプ本体の運転を停止可能な水中ポンプを提供することを目的とする。
【課題を解決するための手段】
【0010】
本発明の一態様に係る水中ポンプは、水中ポンプ本体と、水中ポンプ本体に直接的又は間接的に設置される水位検知部材と、水中ポンプ本体の運転を制御する水中ポンプ制御部と、を備え、水位検知部材は、第1水位を検知する第1検知部と、第1水位よりも低い第2水位を検知する第2検知部と、を含み、水位検知部材が水中ポンプ本体に設置された状態での第1検知部と第2検知部との鉛直方向の第1距離が、水中ポンプ本体における水位検知部材の設置位置に応じて異なるように構成されており、水中ポンプ制御部は、第1検知部によって第1水位が検知されることに基づいて、水中ポンプ本体の運転を開始し、第1検知部によって第1水位が検知されてから第2検知部によって第2水位が検知されるまでの時間を計測し、計測した時間に応じた、水中ポンプ本体の運転を停止させる停止タイミングで、水中ポンプ本体の運転を停止する。
(【0011】以降は省略されています)
この特許をJ-PlatPat(特許庁公式サイト)で参照する
関連特許
株式会社鶴見製作所
水中ポンプ
19日前
株式会社鶴見製作所
汚泥凝集装置
12日前
個人
圧縮機
5か月前
個人
海流製造装置。
20日前
株式会社ツインバード
送風装置
18日前
株式会社ツインバード
送風装置
18日前
ダイニチ工業株式会社
空調装置
4か月前
カヤバ株式会社
電動ポンプ
2か月前
ビッグボーン株式会社
送風装置
1か月前
株式会社不二越
蓄圧装置
2か月前
株式会社酉島製作所
ポンプ
3か月前
株式会社ニクニ
液封式ポンプ装置
4か月前
株式会社酉島製作所
ポンプ
4か月前
個人
携帯型扇風機用の送風ノズル
4か月前
株式会社ノーリツ
ロータリ圧縮機
1か月前
シャープ株式会社
送風装置
5か月前
シャープ株式会社
送風装置
5か月前
小倉クラッチ株式会社
ルーツブロア
2か月前
サンデン株式会社
スクロール圧縮機
4日前
サンデン株式会社
スクロール圧縮機
4日前
サンデン株式会社
スクロール圧縮機
4日前
株式会社ノーリツ
ロータリー圧縮機
3か月前
株式会社不二越
ベーンポンプ
2か月前
株式会社坂製作所
スクロール圧縮機
3か月前
株式会社不二越
油圧ユニット
4か月前
株式会社コスメック
ピストン型ポンプ
4か月前
株式会社島津製作所
真空ポンプ
18日前
株式会社チロル
送風機、送風機付衣服
1か月前
株式会社島津製作所
真空ポンプ
1か月前
個人
連結式螺旋翼体及び流体移送装置
4か月前
株式会社村田製作所
圧電ポンプ
5か月前
株式会社豊田自動織機
流体機械
1か月前
エドワーズ株式会社
真空ポンプ
12日前
株式会社アイシン
ポンプケース
11日前
株式会社豊田自動織機
電動圧縮機
2か月前
株式会社ナノバブル研究所
気液駆動装置
12日前
続きを見る
他の特許を見る