TOP
|
特許
|
意匠
|
商標
特許ウォッチ
Twitter
他の特許を見る
公開番号
2025151203
公報種別
公開特許公報(A)
公開日
2025-10-09
出願番号
2024052516
出願日
2024-03-27
発明の名称
圧縮機
出願人
株式会社スギノマシン
代理人
主分類
F04B
39/14 20060101AFI20251002BHJP(液体用容積形機械;液体または圧縮性流体用ポンプ)
要約
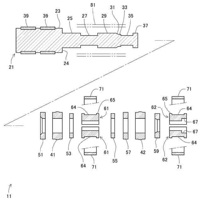
【課題】シールを多段化した場合においても、メンテナンス時の手間を抑制可能な圧縮機を提供する。
【解決手段】
圧縮機は、シリンダ81と、シリンダ81の内部を往復するピストン21と、ピストン21に嵌め込まれるシール41、42と、ピストン21を取り囲むように配置される圧着リング71と、シール41、42から離れて配置される固定具61、62と、を含む。固定具61、62は、ピストン21の軸周り方向に分割してある。固定具61、62は、圧着リング71を嵌め込むための収容溝64を有する。固定具61、62は、ピストン21に形成した保持溝27、35に嵌め込む。固定具61、62を軸周り方向に分割することで、シール41、42の着脱が容易であり、メンテナンス時の手間を抑制できる。
【選択図】 図1
特許請求の範囲
【請求項1】
シリンダと、
前記シリンダの内部を往復するピストンと、
前記ピストンに嵌め込まれるシールと、
前記ピストンを取り囲むように配置される圧着リングと、
前記シールから離れて配置され、前記ピストンの軸周り方向で分割され、前記圧着リングを嵌め込む収容溝を有し、前記ピストンに形成された保持溝に嵌まり込む、固定具と、
を含む、圧縮機。
続きを表示(約 330 文字)
【請求項2】
前記シール及び前記固定具は、前記シリンダの軸線方向に沿って複数組配置してある、請求項1に記載の圧縮機。
【請求項3】
前記固定具の内周面には、内径の異なる段差を有し、前記ピストンには、前記段差に嵌まり込む鍔部を有する、請求項1又は2に記載の圧縮機。
【請求項4】
前記固定具は、その両端面の間で流体を通過させるための流路を有する、請求項1~3のいずれか一項に記載の圧縮機。
【請求項5】
前記圧着リングは、破断部を有するC字状である、請求項1~4のいずれか一項に記載の圧縮機。
【請求項6】
前記圧着リングは、ライダーリングである、請求項1~5のいずれか一項に記載の圧縮機。
発明の詳細な説明
【技術分野】
【0001】
本発明は、シリンダとピストンで構成される往復運動機構を用いた圧縮機に関する。
続きを表示(約 1,100 文字)
【背景技術】
【0002】
圧縮機用シール材において、省スペース化と長寿命化を可能にするため、複数の環状シール群を使用することが提案されている(例えば特許文献1)。この公報では、第1環状シール群と第2環状シール群が離れて配置されている。いずれのシール群とも、ピストンロッドに螺合したナットで固定されている。
【先行技術文献】
【特許文献】
【0003】
特開2023-43980号公報
【発明の概要】
【発明が解決しようとする課題】
【0004】
圧縮機のシールを多段化することで、メンテナンス時の手間が増える。シールを多段化した場合においても、メンテナンス時の手間を抑制可能な圧縮機の提供を目的とする。
【課題を解決するための手段】
【0005】
本発明の第1の観点は、
シリンダと、
シリンダの内部を往復するピストンと、
ピストンに嵌め込まれるシールと、
ピストンを取り囲むように配置される圧着リングと、
シールから離れて配置され、ピストンの軸周り方向で分割され、圧着リングを嵌め込む収容溝を有し、ピストンに形成された保持溝に嵌まり込む、固定具と、
を含む、圧縮機である。
【0006】
シール及び固定具は、ピストンの軸線方向に沿って複数組配置しても良い。
【0007】
固定具の内周面には、内径の異なる段差を有していても良い。この段差に対応し、ピストンには、段差に嵌まり込む鍔部を設ける。段差と鍔部との嵌まり込みにより、固定具は、ピストンに対する移動が拘束される。鍔部は、ピストンの先端部に設ける場合がある。
【0008】
固定具は、その両端面の間で流体を通過させるための流路を有していても良い。流路は、例えば穴や溝で良い。ピストンの移動によって圧縮された流体は、流路を経て固定具を通り抜け、高圧側から低圧側に移動できる。
【0009】
圧着リングは、破断部を有するC字状であっても良い。破断部の延伸方向は、ピストンの軸線に対して傾いていても良い。
圧着リングは、ライダーリングであっても良い。ライダーリングは、シリンダに接触し、ピストンの自重を伝達できる。
【発明の効果】
【0010】
本発明の圧縮機によれば、シールの着脱が容易であり、シールを多段化した場合においても、メンテナンス時の手間を抑制可能である。
【図面の簡単な説明】
(【0011】以降は省略されています)
この特許をJ-PlatPat(特許庁公式サイト)で参照する
関連特許
株式会社スギノマシン
圧縮機
2日前
株式会社スギノマシン
ウォータージェットガン用グリップ
2日前
個人
圧縮機
5か月前
個人
海流製造装置。
24日前
株式会社スギノマシン
圧縮機
2日前
株式会社ツインバード
送風装置
22日前
株式会社ツインバード
送風装置
22日前
ダイニチ工業株式会社
空調装置
4か月前
カヤバ株式会社
電動ポンプ
2か月前
ビッグボーン株式会社
送風装置
1か月前
株式会社不二越
蓄圧装置
2か月前
株式会社酉島製作所
ポンプ
3か月前
株式会社酉島製作所
ポンプ
4か月前
株式会社ニクニ
液封式ポンプ装置
4か月前
株式会社ノーリツ
ロータリ圧縮機
1か月前
個人
携帯型扇風機用の送風ノズル
4か月前
株式会社不二越
ベーンポンプ
2か月前
小倉クラッチ株式会社
ルーツブロア
2か月前
株式会社ノーリツ
ロータリー圧縮機
3か月前
株式会社不二越
油圧ユニット
4か月前
樫山工業株式会社
真空ポンプ
3日前
サンデン株式会社
スクロール圧縮機
8日前
サンデン株式会社
スクロール圧縮機
8日前
サンデン株式会社
スクロール圧縮機
8日前
株式会社坂製作所
スクロール圧縮機
3か月前
株式会社島津製作所
真空ポンプ
1か月前
株式会社チロル
送風機、送風機付衣服
1か月前
株式会社アイシン
ポンプケース
15日前
株式会社豊田自動織機
流体機械
1か月前
エドワーズ株式会社
真空ポンプ
16日前
株式会社島津製作所
真空ポンプ
22日前
個人
連結式螺旋翼体及び流体移送装置
4か月前
株式会社コスメック
ピストン型ポンプ
4か月前
株式会社豊田自動織機
電動圧縮機
2か月前
株式会社豊田自動織機
電動圧縮機
2か月前
已久工業股ふん有限公司
空気圧縮機構造
2か月前
続きを見る
他の特許を見る