TOP
|
特許
|
意匠
|
商標
特許ウォッチ
Twitter
他の特許を見る
10個以上の画像は省略されています。
公開番号
2025151671
公報種別
公開特許公報(A)
公開日
2025-10-09
出願番号
2024053210
出願日
2024-03-28
発明の名称
ヘッドユニット
出願人
セイコーエプソン株式会社
代理人
個人
,
個人
,
個人
,
個人
主分類
B41J
2/14 20060101AFI20251002BHJP(印刷;線画機;タイプライター;スタンプ)
要約
【課題】複数のプリントヘッドの異常を検出できるヘッドユニットを提供すること。
【解決手段】
第1吐出部から液体を吐出される第1駆動素子の駆動を制御する第1駆動制御回路の温度異常の有無を検出する第1温度検出回路、及び第2吐出部から液体を吐出される第2駆動素子の駆動を制御する第2駆動制御回路の温度異常の有無を検出する第2温度検出回路を含む複数の温度検出回路と、複数の温度検出回路が検出した複数の検出結果に応じた第1温度異常情報信号を出力する統合情報出力回路と、選択信号に応じて前記複数の検出結果から1つをした選択検出結果に応じた第2温度異常情報信号を出力する個別情報出力回路と、第1温度異常情報信号、第2温度異常情報信号、及び選択信号に応じた温度異常情報信号を出力する温度情報出力回路と、温度異常情報信号に基づく温度情報信号を出力する1つの温度情報出力端子と、を有する、ヘッドユニット。
【選択図】図10
特許請求の範囲
【請求項1】
第1駆動素子を含み前記第1駆動素子の駆動により液体を吐出する第1吐出部、及び第2駆動素子を含み前記第2駆動素子の駆動により液体を吐出する第2吐出部を含む複数の吐出部と、
前記第1駆動素子の駆動を制御する第1駆動制御回路、及び前記第2駆動素子の駆動を制御する第2駆動制御回路を含む複数の駆動制御回路と、
前記第1駆動制御回路の温度異常の有無を検出する第1温度検出回路、及び前記第2駆動制御回路の温度異常の有無を検出する第2温度検出回路を含む複数の温度検出回路と、
前記複数の温度検出回路が検出した複数の検出結果に応じた第1温度異常情報信号を出力する統合情報出力回路と、
選択信号に応じて前記複数の検出結果から1つをした選択検出結果に応じた第2温度異常情報信号を出力する個別情報出力回路と、
前記第1温度異常情報信号、前記第2温度異常情報信号、及び前記選択信号に応じた温度異常情報信号を出力する温度情報出力回路と、
前記温度異常情報信号に基づく温度情報信号を出力する1つの温度情報出力端子と、
を有する、
ことを特徴とするヘッドユニット。
続きを表示(約 1,800 文字)
【請求項2】
前記統合情報出力回路は、
前記複数の検出結果の全てが正常を示す場合、正常の情報を含む前記第1温度異常情報信号を出力し、
前記複数の検出結果の内の少なくとも1つが異常を示す場合、異常の情報を含む前記第1温度異常情報信号を出力する、
ことを特徴とする請求項1に記載のヘッドユニット。
【請求項3】
前記個別情報出力回路は、
前記選択検出結果が正常を示す場合、前記選択信号に応じて前記複数の検出結果から選択しなかった非選択検出結果に依らず、正常の情報を含む前記第2温度異常情報信号を出力し、
前記選択検出結果が異常を示す場合、前記非選択検出結果に依らず、異常の情報を含む前記第2温度異常情報信号を出力する、
ことを特徴とする請求項1に記載のヘッドユニット。
【請求項4】
前記個別情報出力回路は、前記第1温度検出回路の検出結果が入力される第1入力端子、及び前記第2温度検出回路の検出結果が入力される第2入力端子を含む複数の入力端子と、前記第2温度異常情報信号を出力する選択情報出力端子と、を含み、
前記選択検出結果として前記第1温度検出回路の検出結果を選択した場合、前記第1入力端子と前記選択情報出力端子とを電気的に接続し、前記複数の入力端子の内、前記第1入力端子を除く入力端子と前記選択情報出力端子とを電気的に非接続とする、
ことを特徴とする請求項1に記載のヘッドユニット。
【請求項5】
前記個別情報出力回路は、前記選択信号に応じて前記複数の検出結果から1つを選択するマルチプレクサーである、
ことを特徴とする請求項4に記載のヘッドユニット。
【請求項6】
前記個別情報出力回路は、前記選択信号が前記複数の検出結果のいずれも選択しない場合、前記複数の入力端子と前記選択情報出力端子とを電気的に非接続とする、
ことを特徴とする請求項4又は5に記載のヘッドユニット。
【請求項7】
前記個別情報出力回路は、前記選択信号が前記複数の検出結果のいずれも選択しない場合、所定の電圧値の信号を前記第2温度異常情報信号として出力する、
ことを特徴とする請求項6に記載のヘッドユニット。
【請求項8】
前記第1温度検出回路が、前記第1駆動制御回路の温度異常の有無の検出結果として、前記第1駆動制御回路の温度異常を検出した場合にローレベルとなり、前記第1駆動制御回路の温度異常を検出しない場合にハイレベルとなる第1状態信号を出力し、前記第2温度検出回路が、前記第2駆動制御回路の温度異常の有無の検出結果として、前記第2駆動制御回路の温度異常を検出した場合にローレベルとなり、前記第2駆動制御回路の温度異常を検出しない場合にハイレベルとなる第2状態信号を出力する場合、
前記統合情報出力回路は、前記第1状態信号、及び前記第2状態信号が入力されるAND回路又はAND回路と等価の回路を含んで構成される、
ことを特徴とする請求項1に記載のヘッドユニット。
【請求項9】
前記第1温度検出回路が、前記第1駆動制御回路の温度異常の有無の検出結果として、前記第1駆動制御回路の温度異常を検出した場合にハイレベルとなり、前記第1駆動制御回路の温度異常を検出しない場合にローレベルとなる第1状態信号を出力し、前記第2温度検出回路が、前記第2駆動制御回路の温度異常の有無の検出結果として、前記第2駆動制御回路の温度異常を検出した場合にハイレベルとなり、前記第2駆動制御回路の温度異常を検出しない場合にローレベルとなる第2状態信号を出力する場合、
前記統合情報出力回路は、前記第1状態信号、及び前記第2状態信号が入力されるOR回路又はOR回路と等価の回路を含んで構成される、
ことを特徴とする請求項1に記載のヘッドユニット。
【請求項10】
前記温度情報出力回路は、前記選択信号が、前記複数の検出結果のいずれも選択しない場合、前記第1温度異常情報信号を前記温度異常情報信号として出力する、
ことを特徴とする請求項1に記載のヘッドユニット。
(【請求項11】以降は省略されています)
発明の詳細な説明
【技術分野】
【0001】
本発明は、ヘッドユニットに関する。
続きを表示(約 2,400 文字)
【背景技術】
【0002】
液体吐出装置においてインクを吐出するプリントヘッドの多くは、品質と安全性を担保するとの観点から、プリントヘッドに温度異常等の異常が生じていないかを検出し、検出結果をプリントヘッドの外部に出力する構成を有する。例えば、特許文献1には、プリントヘッドが有する駆動素子を動作させるための半導体素子に温度異常が生じたか否かを検出するための技術が開示されている。
【先行技術文献】
【特許文献】
【0003】
特開2004-090501号公報
【発明の概要】
【発明が解決しようとする課題】
【0004】
近年、液体吐出装置は、商業産業領域において広く活用されている。このような商業産業領域で使用される液体吐出装置では、生産性を向上させるとの観点において、液体を吐出するノズル数が増大し、その結果、液体吐出装置が有するプリントヘッドの数が急速に増加している。このような液体吐出装置に対して、特許文献1に記載の技術を適用し、複数のプリントヘッドのそれぞれで生じた温度異常等の異常の有無を検出しようとした場合、当該異常の有無の情報を伝搬する信号線の数が増加する。一方で、特許文献1に記載の技術を用いて、複数のプリントヘッドのそれぞれが出力する異常の情報を統合し、1つの信号を用いて伝搬した場合、異常が生じたプリントヘッドの特定が困難となる。
【0005】
すなわち、複数のプリントヘッドを有するヘッドユニットにおいて、複数のプリントヘッドの異常を検出するとの観点において、特許文献1に記載の技術のみでは十分ではなく、改善の余地があった。
【課題を解決するための手段】
【0006】
本発明に係るヘッドユニットの一態様は、
第1駆動素子を含み前記第1駆動素子の駆動により液体を吐出する第1吐出部、及び第2駆動素子を含み前記第2駆動素子の駆動により液体を吐出する第2吐出部を含む複数の吐出部と、
前記第1駆動素子の駆動を制御する第1駆動制御回路、及び前記第2駆動素子の駆動を制御する第2駆動制御回路を含む複数の駆動制御回路と、
前記第1駆動制御回路の温度異常の有無を検出する第1温度検出回路、及び前記第2駆動制御回路の温度異常の有無を検出する第2温度検出回路を含む複数の温度検出回路と、
前記複数の温度検出回路が検出した複数の検出結果に応じた第1温度異常情報信号を出力する統合情報出力回路と、
選択信号に応じて前記複数の検出結果から1つをした選択検出結果に応じた第2温度異常情報信号を出力する個別情報出力回路と、
前記第1温度異常情報信号、前記第2温度異常情報信号、及び前記選択信号に応じた温度異常情報信号を出力する温度情報出力回路と、
前記温度異常情報信号に基づく温度情報信号を出力する1つの温度情報出力端子と、
を有する。
【図面の簡単な説明】
【0007】
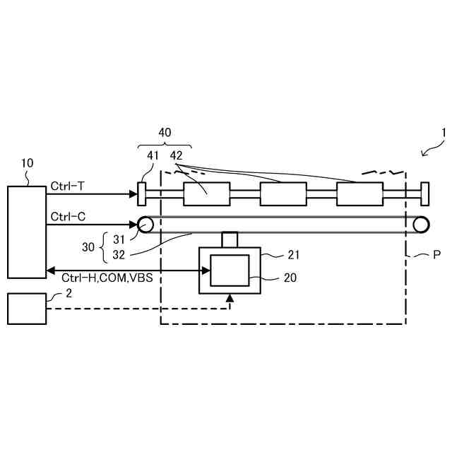
液体吐出装置の概略構成を示す図である。
液体吐出装置の機能構成を示す図である。
吐出部の概略構成を示す図である。
駆動信号COMの信号波形の一例を示す図である。
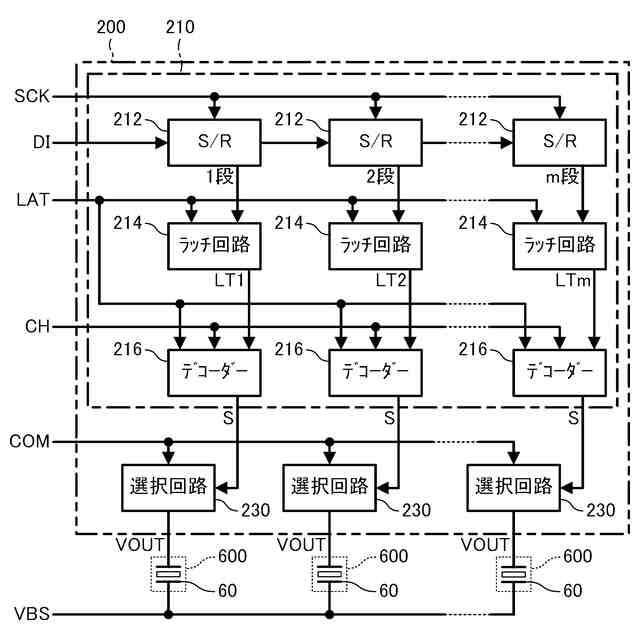
駆動信号選択回路の構成を示す図である。
デコーダーにおけるデコード内容の一例を示す図である。
選択回路の構成を示す図である。
駆動信号選択回路の動作を説明するための図である。
温度異常検出回路の構成の一例を示す図である。
取得情報選択回路の構成の一例を示す図である。
情報選択信号の一例を示す図である。
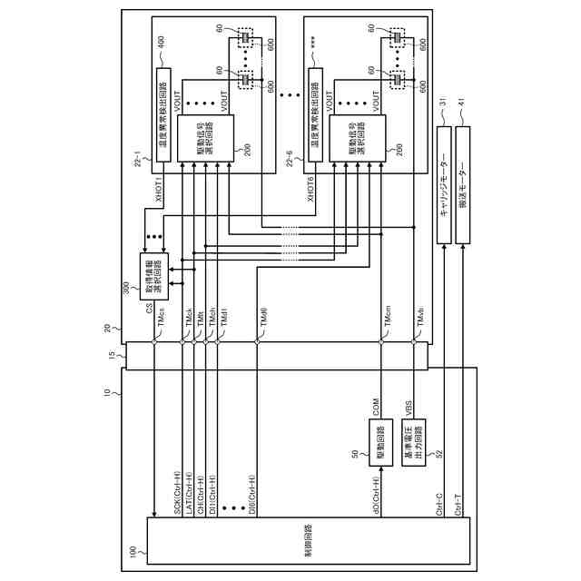
プリントヘッド22-1~22-6のそれぞれに含まれる駆動信号選択回路200の温度異常の有無の判定方法の一例を示す図である。
第2実施形態の取得情報選択回路の構成の一例を示す図である。
第2実施形態の温度異常検出回路の構成の一例を示す図である。
第3実施形態の取得情報選択回路の構成の一例を示す図である。
第4実施形態の取得情報選択回路の構成の一例を示す図である。
第4実施形態の温度情報出力回路が出力する温度異常情報信号CSと、情報選択信号SELとの関係を説明するための図である。
【発明を実施するための形態】
【0008】
以下、本発明の好適な実施形態について図面を用いて説明する。用いる図面は説明の便宜上のものである。なお、以下に説明する実施形態は、特許請求の範囲に記載された本発明の内容を不当に限定するものではない。また、以下で説明される構成の全てが本発明の必須構成要件であるとは限らない。
【0009】
1.第1実施形態
1.1 液体吐出装置の構造
図1は、液体吐出装置1の概略構成を示す図である。第1実施形態の液体吐出装置1は、液体の一例としてのインクを吐出するヘッドユニット20が搭載されたキャリッジ21が走査軸に沿って往復動し、搬送方向に沿って搬送される媒体Pに対してインクを吐出することで、媒体Pに所望の画像を形成するシリアル印刷方式のインクジェットプリンターである。なお、液体吐出装置1は、シリアル印刷方式のインクジェットプリンターに限るものではなく、ライン印刷方式のインクジェットプリンターであってもよい。このような液体吐出装置1に用いられる媒体Pとしては、印刷用紙、樹脂フィルム、布帛等の任意の印刷対象を用いることができる。
【0010】
図1に示すように液体吐出装置1は、インク容器2、制御ユニット10、ヘッドユニット20、移動ユニット30、及び搬送ユニット40を備える。
(【0011】以降は省略されています)
この特許をJ-PlatPat(特許庁公式サイト)で参照する
関連特許
個人
箔熱転写装置
29日前
シヤチハタ株式会社
印判
4か月前
東レ株式会社
凸版印刷版原版
10か月前
シヤチハタ株式会社
反転式印判
9か月前
独立行政法人 国立印刷局
印刷物
7か月前
キヤノン株式会社
記録装置
22日前
三光株式会社
感熱記録材料
6か月前
株式会社リコー
画像形成装置
6日前
株式会社リコー
液体吐出装置
4か月前
株式会社リコー
液体吐出装置
8か月前
独立行政法人 国立印刷局
貼付機構
1か月前
株式会社リコー
印刷システム
10日前
株式会社リコー
画像形成装置
10日前
株式会社リコー
液体吐出装置
4か月前
株式会社リコー
液体吐出装置
7か月前
日本製紙株式会社
感熱記録体
7か月前
株式会社リコー
液体吐出装置
1か月前
株式会社リコー
液体吐出装置
7か月前
株式会社リコー
液体吐出装置
5か月前
独立行政法人 国立印刷局
貼付装置
1か月前
株式会社リコー
画像形成装置
29日前
株式会社リコー
液体吐出装置
5か月前
独立行政法人 国立印刷局
記録媒体
8か月前
ブラザー工業株式会社
プリンタ
6か月前
キヤノン株式会社
画像処理装置
4か月前
ブラザー工業株式会社
プリンタ
6か月前
キヤノン株式会社
印刷制御装置
10か月前
フジコピアン株式会社
中間転写シート
9か月前
独立行政法人 国立印刷局
潜像印刷物
1か月前
ブラザー工業株式会社
プリンタ
4か月前
キヤノン株式会社
画像形成装置
8か月前
キヤノン株式会社
画像形成装置
8か月前
キヤノン株式会社
画像形成装置
3か月前
独立行政法人 国立印刷局
潜像形成体
6日前
理想科学工業株式会社
印刷装置
6か月前
キヤノン株式会社
画像形成装置
1か月前
続きを見る
他の特許を見る