TOP
|
特許
|
意匠
|
商標
特許ウォッチ
Twitter
他の特許を見る
10個以上の画像は省略されています。
公開番号
2025137220
公報種別
公開特許公報(A)
公開日
2025-09-19
出願番号
2024036293
出願日
2024-03-08
発明の名称
水栓装置
出願人
TOTO株式会社
代理人
弁理士法人酒井国際特許事務所
主分類
E03C
1/044 20060101AFI20250911BHJP(上水;下水)
要約
【課題】寸法誤差の発生を抑制することができ、施工不良を抑制するとともに施工性を向上させることができる水栓装置を提供すること。
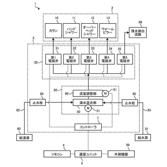
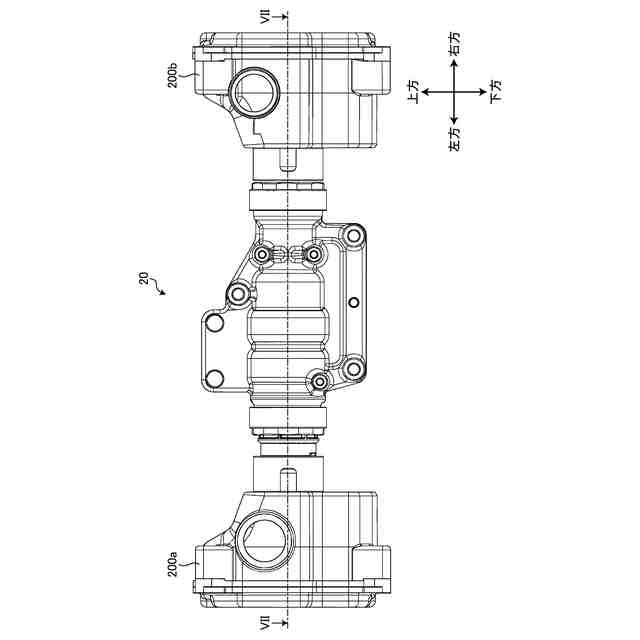
【解決手段】実施形態に係る水栓装置は、複数の吐水部と、浴室の内部の壁に固定され、複数の吐水部へ湯水を供給する水栓本体と、浴室の外部に配置され、複数の吐水部および水栓本体をそれぞれ接続する複数の出湯管とを備える。水栓本体は、湯水を混合する湯水混合部と、浴室の壁に配置された給湯部材に接続される給湯接続部と、浴室の壁に配置された給水部材に接続される給水接続部と、浴室の壁に配置された出湯部材に接続される第1吐水接続部と、浴室の壁に配置された出湯部材に接続される第2吐水接続部とを備え、給湯接続部、給水接続部、第1吐水接続部および第2吐水接続部は、一体に形成される。
【選択図】図19
特許請求の範囲
【請求項1】
複数の吐水部と、
浴室の内部の壁に固定され、複数の前記吐水部へ湯水を供給する水栓本体と、
前記浴室の外部に配置され、複数の前記吐水部および前記水栓本体をそれぞれ接続する複数の出湯管と
を備える水栓装置であって、
前記水栓本体は、
湯水を混合する湯水混合部と、
前記浴室の前記壁に配置された給湯部材に接続される給湯接続部と、
前記浴室の前記壁に配置された給水部材に接続される給水接続部と、
前記浴室の前記壁に配置された出湯部材に接続される第1吐水接続部と、
前記浴室の前記壁に配置された出湯部材に接続される第2吐水接続部と
を備え、
前記給湯接続部、前記給水接続部、前記第1吐水接続部および前記第2吐水接続部は、一体に形成される、水栓装置。
続きを表示(約 1,300 文字)
【請求項2】
前記水栓本体は、
前記給湯接続部と一体に形成され、前記給湯接続部および湯水の温度を調整する温調機能部を接続する給湯流路と、
前記給水接続部と一体に形成され、前記給水接続部および前記温調機能部を接続する給水流路と、
前記温調機能部からの湯水混合水を前記第1吐水接続部および前記第2吐水接続部へ供給するための第1出湯流路および第2出湯流路と
を備え、
前記第1出湯流路および前記第2出湯流路は、それぞれの流路の少なくとも一部が前記給湯流路および前記給水流路と一体に形成される、請求項1に記載の水栓装置。
【請求項3】
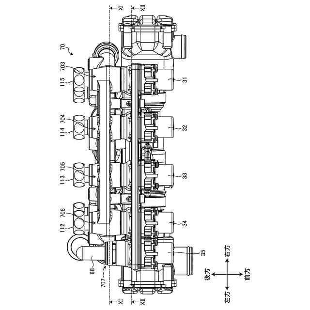
前記水栓本体は、前記給湯接続部、前記給水接続部、前記第1吐水接続部、前記第2吐水接続部、前記給湯流路および前記給水流路と、前記第1出湯流路および前記第2出湯流路の少なくとも一部とを含む一体成形部分が鋳物で形成される、請求項2に記載の水栓装置。
【請求項4】
前記給湯接続部、前記給水接続部、前記第1吐水接続部および前記第2吐水接続部の接続端部は、機械加工によって形成される、請求項3に記載の水栓装置。
【請求項5】
前記給湯接続部、前記給水接続部、前記第1吐水接続部および前記第2吐水接続部は、それぞれ袋ナットおよびブッシュを有し、
前記袋ナットおよび前記ブッシュは、前記袋ナットの内面および前記ブッシュの外面の間にクリアランスを有し、
前記ブッシュ、および前記浴室の前記壁に配置され、前記袋ナットおよび前記ブッシュを介して接続される部材の間は、面シールされる、請求項1~4のいずれか1つに記載の水栓装置。
【請求項6】
前記水栓本体は、
前記給湯接続部と一体に形成され、前記給湯接続部および湯水の温度を調整する温調機能部を接続する給湯流路と、
前記給水接続部と一体に形成され、前記給水接続部および前記温調機能部を接続する給水流路と、
前記温調機能部からの湯水混合水を前記第1吐水接続部および前記第2吐水接続部へ供給するために設けられ、それぞれの流路の少なくとも一部が前記給湯流路および前記給水流路と一体に形成された第1出湯流路および第2出湯流路と
を備え、
前記水栓本体は、
電磁弁を有する吐水切替部と、
前記湯水混合部を駆動するモータと
を備え、
前記電磁弁およびモータは、前記水栓本体の前記給湯接続部、前記給水接続部、前記第1吐水接続部、前記第2吐水接続部、前記給湯流路および前記給水流路と、前記第1出湯流路および前記第2出湯流路の少なくとも一部とを含む一体成形部分が取り付けられた状態で着脱可能な位置に配置される、請求項2に記載の水栓装置。
【請求項7】
前記電磁弁およびモータは、前記水栓本体の前記給湯接続部、前記給水接続部、前記第1吐水接続部、前記第2吐水接続部、前記給湯流路および前記給水流路と、前記第1出湯流路および前記第2出湯流路の少なくとも一部とを含む一体成形部分の前方に配置される、請求項6に記載の水栓装置。
発明の詳細な説明
【技術分野】
【0001】
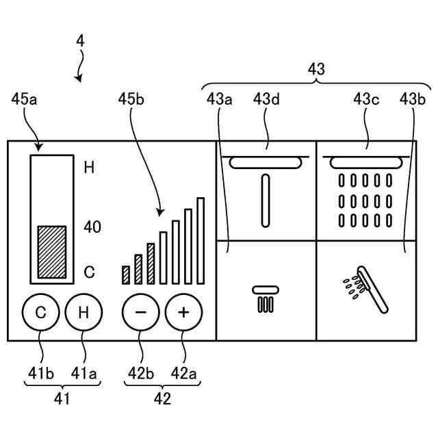
開示の実施形態は、水栓装置に関する。
続きを表示(約 1,600 文字)
【背景技術】
【0002】
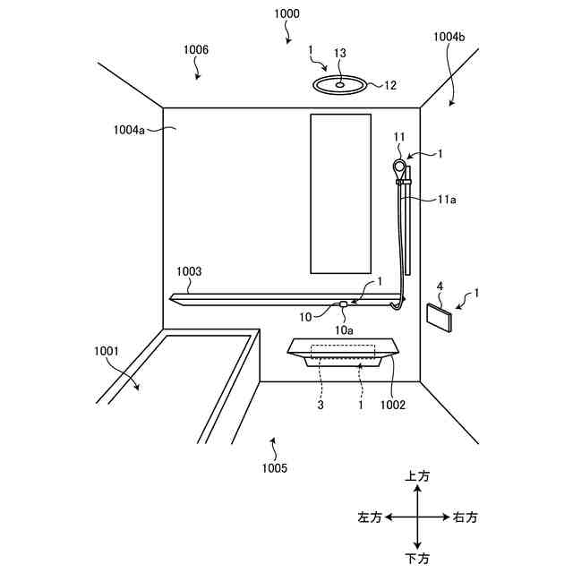
従来、吐水部、水栓本体および出湯管を備え、吐水部および水栓本体が、浴室の外部に配置された出湯管を介して接続された水栓装置が知られている(たとえば、特許文献1参照)。
【先行技術文献】
【特許文献】
【0003】
特開2004-100427号公報
【発明の概要】
【発明が解決しようとする課題】
【0004】
しかしながら、上記のような従来の水栓装置では、給水側および給湯側の接続部だけでなく、出湯側の接続部も浴室の壁側で接続することで、各接続部の組み合わせの寸法誤差が発生するおそれがある。たとえば、4つ以上の接続部を同一の壁側で接続する場合には、各接続部の組み合わせの寸法誤差の影響を無視できない。このため、水栓本体の施工が困難なことがあり、施工不良となるおそれがある。
【0005】
実施形態の一態様は、寸法誤差の発生を抑制することができ、施工不良を抑制するとともに施工性を向上させることができる水栓装置を提供することを目的とする。
【課題を解決するための手段】
【0006】
実施形態の一態様に係る水栓装置は、複数の吐水部と、浴室の内部の壁に固定され、複数の前記吐水部へ湯水を供給する水栓本体と、前記浴室の外部に配置され、複数の前記吐水部および前記水栓本体をそれぞれ接続する複数の出湯管とを備える水栓装置であって、前記水栓本体は、湯水を混合する湯水混合部と、前記浴室の前記壁に配置された給湯部材に接続される給湯接続部と、前記浴室の前記壁に配置された給水部材に接続される給水接続部と、前記浴室の前記壁に配置された出湯部材に接続される第1吐水接続部と、前記浴室の前記壁に配置された出湯部材に接続される第2吐水接続部とを備え、前記給湯接続部、前記給水接続部、前記第1吐水接続部および前記第2吐水接続部は、一体に形成される。
【0007】
このような構成によれば、給湯接続部、給水接続部、第1吐水接続部および第2吐水接続部が一体成形であるため、部品点数を削減することができる。これにより、各接続部の組み合わせの寸法誤差の発生を抑制することができ、寸法誤差の発生による施工不良を抑制するとともに施工性を向上させることができる。また、給湯接続部、給水接続部、第1吐水接続部および第2吐水接続部が一体成形であるため、ウォーターハンマーに耐えられる強度を確保することができる。
【0008】
また、上記の水栓装置において、前記水栓本体は、前記給湯接続部と一体に形成され、前記給湯接続部および湯水の温度を調整する温調機能部を接続する給湯流路と、前記給水接続部と一体に形成され、前記給水接続部および前記温調機能部を接続する給水流路と、前記温調機能部からの湯水混合水を前記第1吐水接続部および前記第2吐水接続部へ供給するための第1出湯流路および第2出湯流路とを備え、前記第1出湯流路および前記第2出湯流路は、それぞれの流路の少なくとも一部が前記給湯流路および前記給水流路と一体に形成される。
【0009】
このような構成によれば、部品点数をさらに削減することができる。これにより、各部の組み合わせの寸法誤差の発生をさらに抑制することができ、寸法誤差の発生による施工不良を抑制するとともに施工性を向上させることができる。
【0010】
また、上記の水栓装置において、前記水栓本体は、前記給湯接続部、前記給水接続部、前記第1吐水接続部、前記第2吐水接続部、前記給湯流路および前記給水流路と、前記第1出湯流路および前記第2出湯流路の少なくとも一部とを含む一体成形部分が鋳物で形成される。
(【0011】以降は省略されています)
この特許をJ-PlatPat(特許庁公式サイト)で参照する
関連特許
TOTO株式会社
浴室
25日前
TOTO株式会社
浴室
25日前
TOTO株式会社
洗面器
2日前
TOTO株式会社
洗面器
2日前
TOTO株式会社
浴室床
2か月前
TOTO株式会社
パッキン
1か月前
TOTO株式会社
衛生陶器
1か月前
TOTO株式会社
水栓装置
16日前
TOTO株式会社
水栓装置
16日前
TOTO株式会社
水栓装置
16日前
TOTO株式会社
水栓装置
16日前
TOTO株式会社
複合材料
17日前
TOTO株式会社
水栓装置
16日前
TOTO株式会社
水栓装置
16日前
TOTO株式会社
水栓装置
16日前
TOTO株式会社
水栓装置
16日前
TOTO株式会社
衛生陶器
1か月前
TOTO株式会社
便器装置
25日前
TOTO株式会社
浴槽装置
1か月前
TOTO株式会社
浴槽装置
1か月前
TOTO株式会社
浴槽装置
1か月前
TOTO株式会社
洗い場床
2か月前
TOTO株式会社
便座装置
25日前
TOTO株式会社
水栓装置
16日前
TOTO株式会社
トイレ装置
25日前
TOTO株式会社
水洗大便器
25日前
TOTO株式会社
排水管継手
1か月前
TOTO株式会社
水洗大便器
25日前
TOTO株式会社
水洗大便器
1か月前
TOTO株式会社
トイレ装置
25日前
TOTO株式会社
トイレ装置
25日前
TOTO株式会社
水洗大便器
25日前
TOTO株式会社
水洗大便器
25日前
TOTO株式会社
トイレ装置
2か月前
TOTO株式会社
トイレ装置
2日前
TOTO株式会社
水洗大便器
1か月前
続きを見る
他の特許を見る