TOP
|
特許
|
意匠
|
商標
特許ウォッチ
Twitter
他の特許を見る
10個以上の画像は省略されています。
公開番号
2025151904
公報種別
公開特許公報(A)
公開日
2025-10-09
出願番号
2024053533
出願日
2024-03-28
発明の名称
システム
出願人
セイコーエプソン株式会社
代理人
個人
,
個人
,
個人
主分類
B41J
2/01 20060101AFI20251002BHJP(印刷;線画機;タイプライター;スタンプ)
要約
【課題】液体吐出装置のメーカーが利用し易いサービスを提供できる技術を提供する。
【解決手段】システムは、液体吐出装置の動作を実行するためのコマンドシーケンスを生成するサーバーと、コマンドシーケンスをサーバーから受領し、コマンドシーケンスに従って液体吐出装置を動作させるクライアントと、を備える。
【選択図】図1
特許請求の範囲
【請求項1】
液体を吐出するヘッドを備えた液体吐出装置の動作を制御するシステムであって、
前記液体吐出装置の動作を実行するためのコマンドシーケンスを生成するサーバーと、
前記コマンドシーケンスを前記サーバーから受領し、前記コマンドシーケンスに従って前記液体吐出装置を動作させるクライアントと、
を備えるシステム。
続きを表示(約 370 文字)
【請求項2】
請求項1に記載のシステムであって、
前記クライアントは、前記液体吐出装置の所定の動作に関する要求を前記サーバーに送信し、
前記サーバーは、要求された前記所定の動作に求められる前記コマンドシーケンスを前記クライアントに送信する、システム。
【請求項3】
請求項2に記載のシステムであって、
前記クライアントは、前記液体吐出装置の動作で得られた結果を前記サーバーに送信し、
前記サーバーは、当該結果を用いて前記所定の動作として適するパラメーターを作成し、前記パラメーターを前記クライアントに送信する、システム。
【請求項4】
請求項1に記載のシステムであって、
前記クライアントは、APIを用いて前記サーバーとのデータの送受信を実行する、システム。
発明の詳細な説明
【技術分野】
【0001】
本開示は、液体を吐出するヘッドを備えた液体吐出装置の動作を制御するシステムに関する。
続きを表示(約 2,100 文字)
【背景技術】
【0002】
特許文献1,2には、プリンター本体のメーカーがヘッドのメーカーと異なる場合に、プリンターメーカーの負担を軽減する技術が開示されている。特許文献1,2では、ヘッドメーカーからプリンターメーカーに対してヘッドやプリンターに関するパラメーターが提供される。
【先行技術文献】
【特許文献】
【0003】
特開2023-060470号公報
特開2023-079561号公報
【発明の概要】
【発明が解決しようとする課題】
【0004】
プリンター本体のメーカーがヘッドメーカーと異なる場合に、特許文献1、2のようなパラメーターを正確に得るためには、ヘッドメーカーから提供されたパラメーターを使って実際の使用環境にあるプリンターをプリンターメーカー側で試験的に動作させて、その試験結果を評価することが好ましい。しかしながら、プリンターメーカー側ではヘッドやプリンターをどのように動作させて試験を行えば良いかがわからない場合がある。そこで、プリンターメーカーにとって利用し易いサービスを提供することが望まれている。このような課題は、プリンター以外の液体吐出装置を使用する場合にも共通する課題である。
【課題を解決するための手段】
【0005】
本開示の一形態によれば、液体を吐出するヘッドを備えた液体吐出装置の動作を制御するシステムが提供される。このシステムは、前記液体吐出装置の動作を実行するためのコマンドシーケンスを生成するサーバーと、前記コマンドシーケンスを前記サーバーから受領し、前記コマンドシーケンスに従って前記液体吐出装置を動作させるクライアントと、を備える。
【図面の簡単な説明】
【0006】
液体吐出システムのブロック図。
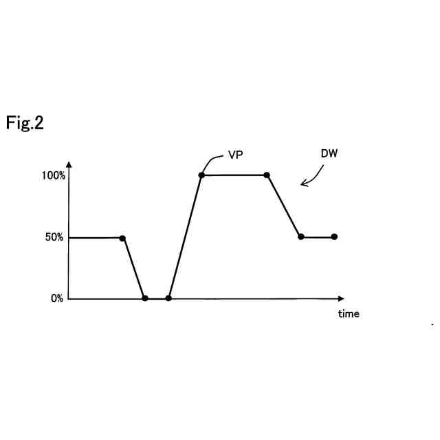
ヘッドの駆動波形の一例を示す説明図。
第1実施形態における評価処理の手順を示すフローチャート。
第1実施形態におけるコマンドシーケンスの一例を示す説明図。
ステップS60の詳細手順を示すフローチャート。
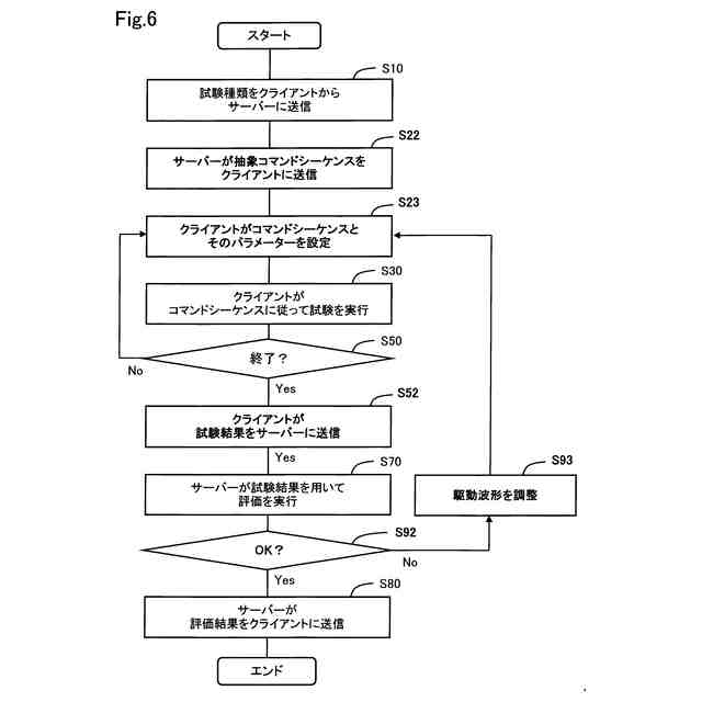
第2実施形態における評価処理の手順を示すフローチャート。
第2実施形態における抽象コマンドシーケンスの一例を示す説明図。
抽象コマンドシーケンスから作成されたコマンドシーケンスの一例を示す説明図。
第3実施形態における評価処理の手順を示すフローチャート。
第4実施形態で使用される複数のコマンドシーケンスの使用方法の説明図。
第4実施形態における評価処理の手順を示すフローチャート。
【発明を実施するための形態】
【0007】
A.第1実施形態:
図1は、一実施形態における液体吐出システム100の概略構成を示すブロック図である。液体吐出システム100は、サーバー200とクライアント300とを備える。クライアント300は、クライアント端末310と液体吐出装置320とを有する。クライアント端末310と液体吐出装置320は、有線又は無線で接続されている。クライアント端末310は、インターネットを介してサーバー200に接続されている。なお、クライアント端末310と液体吐出装置320は、別個の装置として設ける必要はなく、1つの装置内に実装されていてもよい。
【0008】
サーバー200は、API(Application Program Interface)サーバー210と、評価サーバー220とを有する。評価サーバー220は、クライアント300の要求に応じて、以下の1つ以上のサービスを提供するように構成されている。
(1)液体吐出装置320で試験を実行するためのコマンドシーケンスをクライアント300に送信するサービス。
(2)液体吐出装置320の試験結果を評価して、評価結果をクライアント300に送信するサービス。
(3)液体吐出装置320の試験結果を用いて、液体吐出装置320の動作に適したパラメーターをクライアント300に送信するサービス。
なお、評価サーバー220を備えておらず、代わりに評価サーバー220の機能をサーバー200が実行するような形態であっても良い。
【0009】
APIサーバー210は、クライアント300が評価サーバー220のサービスを受ける際に各種データの送受信を実行するAPIをクライアント300に提供する。APIは、Web APIであることが好ましい。
【0010】
クライアント端末310は、ヘッド支援部312を有する。ヘッド支援部312は、APIを用いて評価サーバー220のサービスを受ける機能と、コマンドシーケンスに従って液体吐出装置320に各種の試験を実行させる機能とを有する。クライアント端末310は、プロセッサーとメモリーとを有するコンピューターとして実現される。クライアント端末310の各種機能は、メモリーに格納されたコンピュータープログラムをプロセッサーが実行することによって実現される。
(【0011】以降は省略されています)
この特許をJ-PlatPat(特許庁公式サイト)で参照する
関連特許
個人
箔熱転写装置
29日前
シヤチハタ株式会社
印判
4か月前
東レ株式会社
凸版印刷版原版
10か月前
シヤチハタ株式会社
反転式印判
9か月前
三菱製紙株式会社
感熱記録材料
10か月前
三光株式会社
感熱記録材料
6か月前
キヤノン株式会社
記録装置
22日前
独立行政法人 国立印刷局
印刷物
7か月前
日本製紙株式会社
感熱記録体
7か月前
株式会社リコー
液体吐出装置
4か月前
株式会社リコー
液体吐出装置
7か月前
独立行政法人 国立印刷局
貼付装置
1か月前
株式会社リコー
画像形成装置
29日前
株式会社リコー
画像形成装置
6日前
独立行政法人 国立印刷局
貼付機構
1か月前
株式会社リコー
液体吐出装置
1か月前
株式会社リコー
液体吐出装置
5か月前
株式会社リコー
液体吐出装置
7か月前
株式会社リコー
画像形成装置
10日前
株式会社リコー
液体吐出装置
5か月前
株式会社リコー
印刷システム
10日前
株式会社リコー
液体吐出装置
4か月前
フジコピアン株式会社
熱転写シート
11か月前
独立行政法人 国立印刷局
記録媒体
8か月前
株式会社リコー
液体吐出装置
8か月前
ブラザー工業株式会社
プリンタ
6か月前
キヤノン株式会社
画像形成装置
8か月前
ブラザー工業株式会社
プリンタ
8か月前
キヤノン株式会社
画像形成装置
5か月前
ブラザー工業株式会社
プリンタ
6か月前
理想科学工業株式会社
印刷装置
6か月前
ブラザー工業株式会社
プリンタ
1か月前
キヤノン株式会社
画像形成装置
8か月前
ブラザー工業株式会社
プリンタ
1か月前
キヤノン株式会社
情報処理装置
9か月前
キヤノン株式会社
画像形成装置
6か月前
続きを見る
他の特許を見る