TOP
|
特許
|
意匠
|
商標
特許ウォッチ
Twitter
他の特許を見る
10個以上の画像は省略されています。
公開番号
2025152842
公報種別
公開特許公報(A)
公開日
2025-10-10
出願番号
2024054970
出願日
2024-03-28
発明の名称
電気化学素子積層体、電気化学装置およびエネルギーシステム
出願人
大阪瓦斯株式会社
代理人
弁理士法人R&C
主分類
H01M
8/02 20160101AFI20251002BHJP(基本的電気素子)
要約
【課題】電気化学素子積層体において、荷重の伝達を均一化することが可能な技術を提供する。
【解決手段】第1ガス及び第2ガスが供給される電気化学反応部3と、電気化学反応部3を支持する支持体1と、第1ガスの流路と第2ガスの流路とを分離するセパレータ2と、が積層方向に荷重がかけられた状態で積層される電気化学素子積層体であって、支持体1とセパレータ2との間に配置され、支持体1及びセパレータ2のうちの一方からの荷重を他方へ及ぼすことが可能な平板状構造体92を備える。
【選択図】図14
特許請求の範囲
【請求項1】
第1ガス及び第2ガスが供給される電気化学反応部と、前記電気化学反応部を支持する支持体と、前記第1ガスの流路と前記第2ガスの流路とを分離するセパレータと、が積層方向に荷重がかけられた状態で積層される電気化学素子積層体であって、
前記支持体と前記セパレータとの間に配置され、前記支持体及び前記セパレータのうちの一方からの荷重を他方へ及ぼすことが可能な平板状構造体を備える電気化学素子積層体。
続きを表示(約 860 文字)
【請求項2】
前記平板状構造体は導電性を有する請求項1に記載の電気化学素子積層体。
【請求項3】
前記平板状構造体が金属である請求項1に記載の電気化学素子積層体。
【請求項4】
前記平板状構造体がNiまたはステンレスである請求項3に記載の電気化学素子積層体。
【請求項5】
前記平板状構造体が金属メッシュまたはラスメタルである請求項3に記載の電気化学素子積層体。
【請求項6】
前記平板状構造体が、長手方向において、前記電気化学反応部の長手方向の端部の近傍まで延びている請求項1に記載の電気化学素子積層体。
【請求項7】
前記平板状構造体の厚みが、前記支持体と前記セパレータとの間隔の80%以上である請求項1に記載の電気化学素子積層体。
【請求項8】
前記支持体及び前記セパレータが板状であり、前記支持体と前記セパレータとが接合されて前記支持体及び前記セパレータの対向面間に前記第1ガスのための内部流路が形成されており、
前記平板状構造体が前記内部流路に配置されている請求項1に記載の電気化学素子積層体。
【請求項9】
前記内部流路は、複数の副流路と、前記副流路へ気体を分配する分配部と、前記副流路からの気体が合流する合流部と、を有し、
前記セパレータは波板状に形成されており、波の頂点部位が前記副流路を区分しており、
前記平板状構造体における長手方向の端部が、前記頂点部位の長手方向の端部よりも内側に位置する請求項8に記載の電気化学素子積層体。
【請求項10】
請求項1から9のいずれか1項に記載の電気化学素子積層体と燃料変換器とを少なくとも有し、前記電気化学素子積層体に対して燃料変換器からの還元性成分ガスを供給する、あるいは前記電気化学素子積層体から燃料変換器に還元性成分ガスを供給する燃料供給部を有する電気化学装置。
(【請求項11】以降は省略されています)
発明の詳細な説明
【技術分野】
【0001】
本発明は、電気化学素子積層体、電気化学装置およびエネルギーシステムに関する。
続きを表示(約 1,300 文字)
【背景技術】
【0002】
特許文献1には、固体酸化物形の燃料電池スタックが開示されている。この燃料電池スタックは、複数の発電単位と、一対のエンドプレートと、を備える。7つの発電単位が、上下方向に並べて配置されている。一対のエンドプレートは、7つの発電単位から構成される集合体を上下から挟むように配置されている。燃料電池スタックは、ボルトとナットによって、上下方向に締結されている。発電単位は、燃料室に配置される燃料極側集電体を備えている。燃料極側集電体は、燃料極と、インターコネクタとの間に配置されている。
【先行技術文献】
【特許文献】
【0003】
特開2023-180295号公報
【発明の概要】
【発明が解決しようとする課題】
【0004】
特許文献1の燃料電池スタックでは、ボルトとナットによって上下方向に締結されることにより、発電単位に上下方向に大きな力が加わる。この力は、燃料極側集電体を介して、燃料極からインターコネクタへ及ぶことになる。特許文献1に開示された燃料極側集電体は、図4等に示されるように小さな部材であるため、燃料極及びインターコネクタには局所的に大きな力が加わることになる。そうすると、部材の破損や、部材の変形による反応ガス流動の不均一化など、種々の問題が発生する可能性がある。
【0005】
本発明の目的は、電気化学素子積層体において、荷重の伝達を均一化することが可能な技術を提供することにある。
【課題を解決するための手段】
【0006】
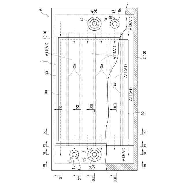
本発明に係る電気化学素子積層体の特徴構成は、第1ガス及び第2ガスが供給される電気化学反応部と、前記電気化学反応部を支持する支持体と、前記第1ガスの流路と前記第2ガスの流路とを分離するセパレータと、が積層方向に荷重がかけられた状態で積層される電気化学素子積層体であって、前記支持体と前記セパレータとの間に配置され、前記支持体及び前記セパレータのうちの一方からの荷重を他方へ及ぼすことが可能な平板状構造体を備える点にある。
【0007】
上記特徴構成によれば、平板状構造体が支持体とセパレータとの間に配置される。平板状構造体は、支持体及びセパレータに沿って平板状に広がった部材であるから、支持体及びセパレータと広い領域で接触することになる。従って、積層方向の荷重が広い領域で伝達されるので、電気化学素子積層体において荷重の伝達を均一化することが可能となる。これにより、部材の破損や、部材の変形によるガス流動の不均一化などの問題の発生を抑制することができる。
【0008】
本発明に係る電気化学素子積層体の更なる特徴構成は、前記平板状構造体は導電性を有する点にある。
【0009】
上記特徴構成によれば、平板状構造体が導電性を有するので、積層方向への電流パスが確保される。従って、電気化学素子積層体の性能が向上する。
【0010】
本発明に係る電気化学素子積層体の更なる特徴構成は、前記平板状構造体が金属である点にある。
(【0011】以降は省略されています)
この特許をJ-PlatPat(特許庁公式サイト)で参照する
関連特許
大阪瓦斯株式会社
蓄電装置
1か月前
大阪瓦斯株式会社
探査装置
6日前
大阪瓦斯株式会社
給湯装置
16日前
大阪瓦斯株式会社
燃焼装置
7日前
大阪瓦斯株式会社
フライヤー
13日前
大阪瓦斯株式会社
衣類乾燥機
1か月前
大阪瓦斯株式会社
衣類乾燥機
1か月前
大阪瓦斯株式会社
ガスコンロ
16日前
大阪瓦斯株式会社
衣類乾燥機
1か月前
大阪瓦斯株式会社
加熱調理器
1か月前
大阪瓦斯株式会社
撥水性塗料
5日前
大阪瓦斯株式会社
管理システム
7日前
大阪瓦斯株式会社
蓄電制御装置
6日前
大阪瓦斯株式会社
地中給電設備
26日前
大阪瓦斯株式会社
鮮度維持装置
26日前
大阪瓦斯株式会社
蓄電制御装置
20日前
大阪瓦斯株式会社
通信システム
3か月前
大阪瓦斯株式会社
警報システム
7日前
大阪瓦斯株式会社
警報システム
7日前
大阪瓦斯株式会社
音声出力装置
7日前
大阪瓦斯株式会社
高耐熱組成物
6日前
大阪瓦斯株式会社
ガラス複合体
8日前
大阪瓦斯株式会社
ガラス複合体
8日前
大阪瓦斯株式会社
燃料電池装置
26日前
大阪瓦斯株式会社
酸化物複合体
6日前
大阪瓦斯株式会社
異常診断装置
27日前
大阪瓦斯株式会社
住宅設備機器
1か月前
大阪瓦斯株式会社
異常診断装置
27日前
大阪瓦斯株式会社
異常診断装置
27日前
大阪瓦斯株式会社
異常診断装置
27日前
大阪瓦斯株式会社
異常診断装置
27日前
大阪瓦斯株式会社
異常診断装置
27日前
大阪瓦斯株式会社
異常診断装置
27日前
大阪瓦斯株式会社
動作制御装置
6日前
大阪瓦斯株式会社
異常診断装置
27日前
大阪瓦斯株式会社
異常診断装置
27日前
続きを見る
他の特許を見る