TOP
|
特許
|
意匠
|
商標
特許ウォッチ
Twitter
他の特許を見る
公開番号
2025147917
公報種別
公開特許公報(A)
公開日
2025-10-07
出願番号
2024048430
出願日
2024-03-25
発明の名称
ガラス複合体
出願人
大阪瓦斯株式会社
代理人
弁理士法人R&C
主分類
B32B
18/00 20060101AFI20250930BHJP(積層体)
要約
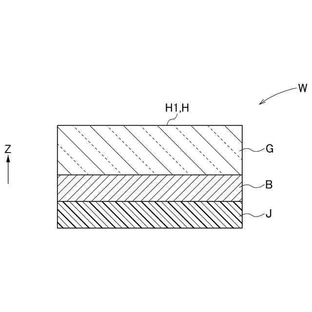
【課題】電磁波透過性及び採光性を向上できると共に、夜間等での映り込みを低減できるガラス複合体を提供する。
【解決手段】光反射層Bが、積層方向Zにおける厚肉部位B3と、積層方向Zにおける厚みが厚肉部位B3の厚みの2/3以下である薄肉部位とを有し、薄肉部位は、第1放射面H1に直交する平面視において連続して一体に設けられ且つ平面視での面積が5cm
2
以上の面積を有する第1金属薄肉部位と、平面視において連続して一体に設けられ且つ平面視での面積が第1金属薄肉部位の面積未満である第2金属薄肉部位B2とを有し、第2金属薄肉部位B2は、平面視で分散して分布する形態で複数設けられ、全体での、面平均日射反射率が40%以上であり、且つ面平均の8μm以上13μm以下の赤外光の輻射率の波長平均である平均輻射率が80%以上である。
【選択図】図1
特許請求の範囲
【請求項1】
放射面である第1放射面から赤外光を放射する赤外放射ガラス層と、当該赤外放射ガラス層の前記第1放射面の存在側とは反対側の面に対向して設けられる裏面ガラス層とを有し、
前記赤外放射ガラス層と前記裏面ガラス層との間に、光を反射する光反射層を有し、
前記光反射層が、積層方向における厚肉部位と、前記積層方向における厚みが前記厚肉部位の厚みの2/3以下である薄肉部位とを有し、
前記薄肉部位は、前記第1放射面に直交する平面視において連続して一体に設けられ且つ前記平面視での面積が5cm
2
以上の面積を有する第1金属薄肉部位と、前記平面視において連続して一体に設けられ且つ前記平面視での面積が前記第1金属薄肉部位の面積未満である第2金属薄肉部位とを有し、
前記第2金属薄肉部位は、前記平面視で分散して分布する形態で複数設けられ、
全体での、面平均日射反射率が40%以上であり、且つ面平均の8μm以上13μm以下の赤外光の輻射率の波長平均である平均輻射率が80%以上であるガラス複合体。
続きを表示(約 900 文字)
【請求項2】
前記光反射層は、樹脂材料に金属が蒸着されて形成された金属蒸着層であり、
前記金属は、銀、銀合金、アルミ、アルミ合金及び銅合金のうち少なくとも一つ以上であり、
前記赤外放射ガラス層と前記金属蒸着層との間、前記裏面ガラス層と前記金属蒸着層との間を接着する中間樹脂が、ポリビニルブチラール、ポリエチレンビニルアセテート、ポリウレタンの何れか一つから成る請求項1に記載のガラス複合体。
【請求項3】
前記光反射層は、前記赤外放射ガラス層の表面に形成されたセラミクス層であり、
当該光反射層と前記裏面ガラス層との間を接着する中間樹脂が、ポリビニルブチラール、ポリエチレンビニルアセテート、ポリウレタンの何れか一つから成る請求項1に記載のガラス複合体。
【請求項4】
前記積層方向において、前記第1金属薄肉部位及び前記第2金属薄肉部位のそれぞれの厚みは、0nm以上50nm以下である請求項1又は2に記載のガラス複合体。
【請求項5】
前記積層方向において、前記第1金属薄肉部位及び前記第2金属薄肉部位のそれぞれの厚みは、0nm以上10nm以下である請求項1又は2に記載のガラス複合体。
【請求項6】
前記平面視において、前記第2金属薄肉部位の面積は、0.03cm
2
以上である請求項1又は2に記載のガラス複合体。
【請求項7】
前記赤外放射ガラス層及び前記裏面ガラス層が、
無アルカリガラス、ソーダライムガラス、アルカリボロシリケートガラス及びアクリル樹脂ガラスの少なくとも1つ以上からなる請求項1又は2に記載のガラス複合体。
【請求項8】
前記平面視において、前記光反射層の全体の面積に対する前記薄肉部位の面積の比率は、1%以上50%以下である請求項1又は2に記載のガラス複合体。
【請求項9】
前記赤外放射ガラス層の前記第1放射面の存在側とは反対側に、調光機能を有する調光層を有する請求項1又は2に記載のガラス複合体。
発明の詳細な説明
【技術分野】
【0001】
本発明は、少なくとも一対のガラス層を合わせガラスとして備えて放射冷却機能を発揮するガラス複合体に関する。
続きを表示(約 2,500 文字)
【背景技術】
【0002】
冷却対象物を冷却する機能として、放射冷却が知られている。放射冷却とは、物質が周囲に赤外線などの電磁波を放射することでその温度が下がる現象のことを言う。この現象を利用すれば、たとえば、電気などのエネルギーを消費せずに冷却対象を冷やす複合冷却装置を実現できる。
【0003】
特許文献1には、放射面から赤外光を放射する高放射率コーティング層と、光を反射する低放射率コーティング層とが、ガラス基板に積層されたガラス複合体が開示されている。ここで、低放射率コーティング層には、赤外線や紫外線を遮蔽する遮蔽層が含まれ、当該遮蔽層は銀等の金属材料から構成される点が示されている。
【先行技術文献】
【特許文献】
【0004】
特開2022-543529号公報
【発明の概要】
【発明が解決しようとする課題】
【0005】
上記特許文献1に示されるガラス複合体のように、銀等の金属材料から構成される遮蔽層を有する場合、例えば、ガラス複合体にて外部領域と内部領域とを区画される窓部を有する車両等の構造体においては、外部領域と内部領域との間での通信用の電磁波が遮られたり、外部領域から内部領域への採光性が悪くなったりすると共に、夜間にガラス複合体を介して内部領域から外部領域を見る際の映り込みが大きくなるといった課題があった。
しかしながら、上記特許文献1に開示の技術では、このような課題について認識されておらず、改善の余地があった。
【0006】
本発明は、上述の課題に鑑みてなされたものであり、その目的は、電磁波透過性及び採光性を向上できると共に、夜間等での映り込みを低減できるガラス複合体を提供する点にある。
【課題を解決するための手段】
【0007】
上記目的を達成するためのガラス複合体の特徴構成は、
放射面である第1放射面から赤外光を放射する赤外放射ガラス層と、当該赤外放射ガラス層の前記第1放射面の存在側とは反対側の面に対向して設けられる裏面ガラス層とを有し、
前記赤外放射ガラス層と前記裏面ガラス層との間に、光を反射する光反射層を有し、
前記光反射層が、積層方向における厚肉部位と、前記積層方向における厚みが前記厚肉部位の厚みの2/3以下である薄肉部位とを有し、
前記薄肉部位は、前記第1放射面に直交する平面視において連続して一体に設けられ且つ前記平面視での面積が5cm
2
以上の面積を有する第1金属薄肉部位と、前記平面視において連続して一体に設けられ且つ前記平面視での面積が前記第1金属薄肉部位の面積未満である第2金属薄肉部位とを有し、
前記第2金属薄肉部位は、前記平面視で分散して分布する形態で複数設けられ、
全体での、面平均日射反射率が40%以上であり、且つ面平均の8μm以上13μm以下の赤外光の輻射率の波長平均である平均輻射率が80%以上である点にある。
【0008】
上記特徴構成によれば、光反射層が、積層方向における厚肉部位と、積層方向における厚みが厚肉部位の厚みの2/3以下である薄肉部位とを有し、当該薄肉部位が、第1放射面に直交する平面視において連続して一体に設けられ且つ平面視での面積が5cm
2
以上の面積を有する第1金属薄肉部位を有するから、当該第1金属薄肉部位の厚みを、例えば通信用の電磁波が透過する適切な厚みに設定することで、当該ガラス複合体を介して電磁波による通信を行うことが可能となる。
更に、光反射層の薄肉部位として、平面視において連続して一体に設けられ且つ平面視での面積が第1金属薄肉部位の面積未満である第2金属薄肉部位を、平面視で分散して分布する形態で複数設けるから、放射面に沿う面方向に分散する形で、ガラス複合体を介して所定の採光を得ることができる。
しかも、平面視で分散して複数設けられる当該第2金属薄肉部位は、第1金属薄肉部位よりも平面視での面積が小さいため、光反射層としては一定程度の反射率を確保することができる。
以上の構成により、全体での、面平均日射反射率が40%以上であり、且つ面平均の8μm以上13μm以下の赤外光の輻射率の波長平均である平均輻射率が80%以上とすることで、電磁波透過性及び採光性を向上できると共に、夜間等での映り込みを低減できる合わせガラスを有するガラス複合体を実現できる。
【0009】
ガラス複合体の更なる特徴構成は、
前記光反射層は、樹脂材料に金属が蒸着されて形成された金属蒸着層であり、
前記金属は、銀、銀合金、アルミ、アルミ合金及び銅合金のうち少なくとも一つ以上であり、
前記赤外放射ガラス層と前記金属蒸着層との間、前記裏面ガラス層と前記金属蒸着層との間を接着する中間樹脂が、ポリビニルブチラール、ポリエチレンビニルアセテート、ポリウレタンの何れか一つ以上から成る点にある。
【0010】
上記特徴構成の如く、光反射層として、樹脂材料に金属が蒸着されて形成された金属蒸着層を採用し、その金属として、銀、銀合金、アルミ、アルミ合金及び銅合金のうち少なくとも一つ以上とすると共に、赤外放射ガラス層と金属蒸着層との間、裏面ガラス層と金属蒸着層との間を、ポリビニルブチラール、ポリエチレンビニルアセテート、ポリウレタンの何れか一つから成る中間樹脂にて接着することで、赤外放射ガラス層と裏面ガラス層とを、その間に光反射層を介在させた状態で、良好に接着することができる。
因みに、当該構成において、光反射層としての金属が蒸着される樹脂材料については、ポリビニルブチラール、ポリエチレンビニルアセテート、ポリウレタン、ポリエチレンテレフタレートの何れか一つから成る樹脂を採用することで、上記中間樹脂による接着を良好に実現できる。
(【0011】以降は省略されています)
この特許をJ-PlatPat(特許庁公式サイト)で参照する
関連特許
大阪瓦斯株式会社
蓄電装置
1か月前
大阪瓦斯株式会社
牽引装置
4か月前
大阪瓦斯株式会社
給湯装置
8日前
大阪瓦斯株式会社
牽引装置
4か月前
大阪瓦斯株式会社
衣類乾燥機
1か月前
大阪瓦斯株式会社
衣類乾燥機
1か月前
大阪瓦斯株式会社
衣類乾燥機
1か月前
大阪瓦斯株式会社
加熱調理器
1か月前
大阪瓦斯株式会社
ガスコンロ
8日前
大阪瓦斯株式会社
フライヤー
5日前
大阪瓦斯株式会社
燃料電池装置
18日前
大阪瓦斯株式会社
通信システム
2か月前
大阪瓦斯株式会社
蓄電制御装置
12日前
大阪瓦斯株式会社
ガラス複合体
今日
大阪瓦斯株式会社
鮮度維持装置
18日前
大阪瓦斯株式会社
地中給電設備
18日前
大阪瓦斯株式会社
切欠開裂治具
5か月前
大阪瓦斯株式会社
異常診断装置
19日前
大阪瓦斯株式会社
異常診断装置
19日前
大阪瓦斯株式会社
異常診断装置
19日前
大阪瓦斯株式会社
異常診断装置
19日前
大阪瓦斯株式会社
異常診断装置
19日前
大阪瓦斯株式会社
異常診断装置
19日前
大阪瓦斯株式会社
異常診断装置
19日前
大阪瓦斯株式会社
異常診断装置
19日前
大阪瓦斯株式会社
異常診断装置
19日前
大阪瓦斯株式会社
住宅設備機器
1か月前
大阪瓦斯株式会社
ガラス複合体
今日
大阪瓦斯株式会社
熱供給システム
8日前
大阪瓦斯株式会社
蓄電池管理装置
12日前
大阪瓦斯株式会社
放射冷却式装置
3か月前
大阪瓦斯株式会社
燃料電池システム
6日前
大阪瓦斯株式会社
音声出力システム
4日前
大阪瓦斯株式会社
燃料電池システム
6日前
大阪瓦斯株式会社
燃料電池システム
今日
大阪瓦斯株式会社
燃料電池システム
1か月前
続きを見る
他の特許を見る