TOP
|
特許
|
意匠
|
商標
特許ウォッチ
Twitter
他の特許を見る
公開番号
2025146663
公報種別
公開特許公報(A)
公開日
2025-10-03
出願番号
2025002399
出願日
2025-01-07
発明の名称
熱間加工磁石
出願人
TDK株式会社
代理人
個人
,
個人
,
個人
主分類
H01F
1/057 20060101AFI20250926BHJP(基本的電気素子)
要約
【課題】高い保磁力を有する熱間加工磁石を提供すること。
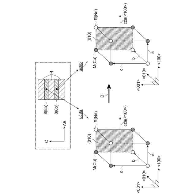
【解決手段】熱間加工磁石2は、希土類元素R、遷移金属元素T、及びホウ素を含む。熱間加工磁石2は、希土類元素Rとして、Ndを含む。熱間加工磁石2は、遷移金属元素Tとして、Feを含む。熱間加工磁石は、複数の主相粒子4と、複数の主相粒子4の間に位置する粒界相6と、を含む。複数の主相粒子4は、希土類元素R、遷移金属元素T、及びホウ素を含む。粒界相6は、複数の結晶粒8を含む。複数の結晶粒8は、一つ以上の主相粒子4に接している。複数の結晶粒8の晶帯軸czaは、一つの方向Dに沿って配向されている。
【選択図】図4
特許請求の範囲
【請求項1】
希土類元素R、遷移金属元素T、及びホウ素を含む熱間加工磁石であって、
前記熱間加工磁石は、前記希土類元素Rとして、Ndを含み、
前記熱間加工磁石は、前記遷移金属元素Tとして、Feを含み、
前記熱間加工磁石は、複数の主相粒子と、複数の前記主相粒子の間に位置する粒界相と、を含み、
複数の前記主相粒子は、前記希土類元素R、前記遷移金属元素T、及び前記ホウ素を含み、
前記粒界相は、複数の結晶粒を含み、
複数の前記結晶粒は、一つ以上の前記主相粒子に接しており、
複数の前記結晶粒の晶帯軸は、一つの方向に沿って配向されている、
熱間加工磁石。
続きを表示(約 1,300 文字)
【請求項2】
複数の前記結晶粒は、非磁性である、
請求項1に記載の熱間加工磁石。
【請求項3】
前記熱間加工磁石の断面における複数の前記結晶粒の断面の面積分率は、3%以上8%以下であり、
前記熱間加工磁石の前記断面は、前記熱間加工磁石の磁化容易軸方向に平行である、
請求項1に記載の熱間加工磁石。
【請求項4】
複数の前記結晶粒は、前記希土類元素R及び元素Mを含み、
前記元素Mは、Cu、Ga、Zn、Ni、及びCrからなる群より選ばれる少なくとも一つであり、
複数の前記結晶粒中の前記希土類元素Rの含有量は、50質量%以上98質量%以下であり、
複数の前記結晶粒中の前記遷移金属元素Tの含有量は、0質量%以上50質量%以下であり、
複数の前記結晶粒中の前記元素Mの含有量は、0質量%よりも大きく35質量%以下である、
請求項1に記載の熱間加工磁石。
【請求項5】
複数の前記結晶粒それぞれは、立方晶、正方晶、又は直方晶であり、
前記晶帯軸は、<100>、<010>、又は<001>である、
請求項1に記載の熱間加工磁石。
【請求項6】
複数の前記結晶粒は、Nd及びCuを含み、
複数の前記結晶粒それぞれは、立方晶、正方晶、又は直方晶であり、
複数の前記結晶粒の結晶構造の対称性を示す空間群は、Pnma、I4/mcm、Fm-3m、又はIa-3である、
請求項1に記載の熱間加工磁石。
【請求項7】
一つ以上の前記結晶粒を含む前記粒界相の幅は、前記熱間加工磁石の磁化容易軸方向において、4nm以上500nm以下である、
請求項1に記載の熱間加工磁石。
【請求項8】
一つ以上の前記結晶粒に接する一つ以上の前記主相粒子は、柱状晶及び等軸晶のうち少なくとも一つを含む、
請求項1に記載の熱間加工磁石。
【請求項9】
前記熱間加工磁石は、元素Mを更に含み、
前記元素Mは、Cu、Ga、Zn、Ni、及びCrからなる群より選ばれる少なくとも一つであり、
前記熱間加工磁石中の前記希土類元素Rの含有量は、26.00質量%以上32.00質量%以下であり、
前記熱間加工磁石中の前記ホウ素の含有量は、0.77質量%以上1.15質量%以下であり、
前記熱間加工磁石中の前記元素Mの含有量は、0.67質量%以上7.30質量%以下である、
請求項1に記載の熱間加工磁石。
【請求項10】
前記熱間加工磁石の磁化容易軸方向における複数の前記主相粒子それぞれの幅は、Sと表され、
前記磁化容易軸方向に垂直な方向における複数の前記主相粒子それぞれの幅は、Lと表され、
前記Sは、前記Lよりも小さく、
L/Sは、2以上10以下であり、
前記Sは、20nm以上200nm以下である、
請求項1に記載の熱間加工磁石。
(【請求項11】以降は省略されています)
発明の詳細な説明
【技術分野】
【0001】
本開示は、熱間加工磁石に関する。
続きを表示(約 1,600 文字)
【背景技術】
【0002】
近年、風力発電及び電気自動車の普及に伴い、ネオジム磁石の需要量が増加し、その特性の向上が求められている。ネオジム磁石の重要な特性である保磁力の発現機構の解明のために、近年たくさんの研究開発が積み重ねられ、保磁力の発現機構についての理解が深まってきた。(例えば、下記特許文献1及び下記非特許文献1参照。)ネオジム磁石の保磁力は、ネオジム磁石を構成する強磁性物質(例えば、Nd
2
Fe
14
B)の結晶異方性磁界Haによって理論的に決定される。しかし、実際のネオジム磁石は多結晶を含むため、理論値の約20%程度の保磁力しか発揮できていない。
【先行技術文献】
【特許文献】
【0003】
特開2019-009421号公報
【非特許文献】
【0004】
H. Sepehri-Amin et al., Grainboundary and interface chemistry of an Nd-Fe-B-based sintered magnet, ActaMaterialia 60 (2012) 819-830, Published by Elsevier Ltd.
【発明の概要】
【発明が解決しようとする課題】
【0005】
本開示の一側面の目的は、高い保磁力を有する熱間加工磁石を提供することである。
【課題を解決するための手段】
【0006】
例えば、以下の通り、本開示の一側面は、[1]~[14]のいずれか一つに記載の熱間加工磁石に関する。
【0007】
[1] 希土類元素R、遷移金属元素T、及びホウ素(B)を含む熱間加工磁石(hot deformed magnet)であって、
前記熱間加工磁石は、前記希土類元素Rとして、Ndを含み、
前記熱間加工磁石は、前記遷移金属元素Tとして、Feを含み、
前記熱間加工磁石は、複数の主相粒子(main phase grains)と、複数の前記主相粒子の間に位置する粒界相(grain boundary phase)と、を含み、
複数の前記主相粒子は、前記希土類元素R、前記遷移金属元素T、及び前記ホウ素を含み、
前記粒界相は、複数の結晶粒(crystal grains)を含み、
複数の前記結晶粒は、一つ以上の前記主相粒子に接しており、
複数の前記結晶粒の晶帯軸(crystal zone axes)は、一つの方向に沿って配向されている、
熱間加工磁石。
【0008】
[2] 複数の前記結晶粒は、非磁性(non-magnetic)である、
[1]に記載の熱間加工磁石。
【0009】
[3] 前記熱間加工磁石の断面における複数の前記結晶粒の断面の面積分率は、3%以上8%以下であり、
前記熱間加工磁石の前記断面は、前記熱間加工磁石の磁化容易軸方向(easy magnetization axis direction)に平行である、
[1]又は[2]に記載の熱間加工磁石。
【0010】
[4] 複数の前記結晶粒は、前記希土類元素R及び元素Mを含み、
前記元素Mは、Cu、Ga、Zn、Ni、及びCrからなる群より選ばれる少なくとも一つであり、
複数の前記結晶粒中の前記希土類元素Rの含有量は、50質量%以上98質量%以下であり、
複数の前記結晶粒中の前記遷移金属元素Tの含有量は、0質量%以上50質量%以下であり、
複数の前記結晶粒中の前記元素Mの含有量は、0質量%よりも大きく35質量%以下である、
[1]~[3]のいずれか一つに記載の熱間加工磁石。
(【0011】以降は省略されています)
この特許をJ-PlatPat(特許庁公式サイト)で参照する
関連特許
TDK株式会社
センサ
5日前
TDK株式会社
フィルタ
9日前
TDK株式会社
電子部品
1か月前
TDK株式会社
電子部品
5日前
TDK株式会社
電子部品
1か月前
TDK株式会社
電子部品
5日前
TDK株式会社
電子部品
9日前
TDK株式会社
電子部品
9日前
TDK株式会社
電子部品
1か月前
TDK株式会社
電子部品
1か月前
TDK株式会社
コイル部品
5日前
TDK株式会社
コイル部品
9日前
TDK株式会社
コイル部品
9日前
TDK株式会社
コイル部品
9日前
TDK株式会社
コイル装置
13日前
TDK株式会社
光検知装置
6日前
TDK株式会社
センサ装置
6日前
TDK株式会社
ガスセンサ
9日前
TDK株式会社
ガスセンサ
6日前
TDK株式会社
コイル部品
7日前
TDK株式会社
コイル部品
5日前
TDK株式会社
ガスセンサ
5日前
TDK株式会社
コイル部品
13日前
TDK株式会社
コイル部品
1か月前
TDK株式会社
ガスセンサ
今日
TDK株式会社
ガスセンサ
1か月前
TDK株式会社
コイル装置
1か月前
TDK株式会社
コイル装置
1か月前
TDK株式会社
コイル部品
1日前
TDK株式会社
磁気センサ
1か月前
TDK株式会社
圧力センサ
1日前
TDK株式会社
磁気センサ
29日前
TDK株式会社
温度センサ
20日前
TDK株式会社
電力変換装置
9日前
TDK株式会社
フィルタ装置
9日前
TDK株式会社
電力変換装置
5日前
続きを見る
他の特許を見る