TOP
|
特許
|
意匠
|
商標
特許ウォッチ
Twitter
他の特許を見る
公開番号
2025152370
公報種別
公開特許公報(A)
公開日
2025-10-09
出願番号
2024054233
出願日
2024-03-28
発明の名称
コイル部品
出願人
TDK株式会社
代理人
個人
,
個人
,
個人
主分類
H01F
27/29 20060101AFI20251002BHJP(基本的電気素子)
要約
【課題】二重コイルにおいてコイル長差を小さくすることでフィルタ特性等のコイル特性を向上させるコイル部品を提供する。
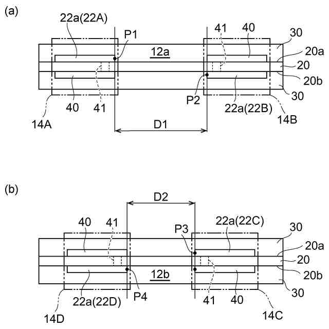
【解決手段】コイル部品10において、本体部の端面12aにおける第1の距離D1が端面12bにおける第2の距離D2より長く、それにより第1のコイル部のコイル長と第2のコイル部のコイル長との差が縮まっているため、高いコイル特性が実現されている。たとえばコイル部品10をコモンモードフィルタとして用いる場合、第1のコイル部C1のコイル長と第2のコイル部C2のコイル長との差が縮まっている(または同じコイル長になっている)ため、高いフィルタ特性が実現される。
【選択図】図6
特許請求の範囲
【請求項1】
互いに平行な第1の端面および第2の端面を有する素体と、
前記素体内に設けられ、前記第1の端面および前記第2の端面に対して直交し、かつ、前記第1の端面と前記第2の端面との間に亘って延在する絶縁基板と、
前記絶縁基板の一方面に設けられ、前記絶縁基板に対して直交する磁芯周りに巻回され、内側端部と前記素体の前記第1の端面まで延びる外側端部とを有する第1の平面コイルパターンと、前記絶縁基板の他方面に設けられ、前記絶縁基板の厚さ方向から見て前記第1の平面コイルパターンの内側端部に重なる内側端部と前記素体の前記第1の端面まで延びる外側端部とを有する第2の平面コイルパターンと、前記絶縁基板を厚さ方向に貫通して前記第1の平面コイルパターンの内側端部と前記第2の平面コイルパターンの内側端部とを接続する第1の貫通導体とを有する第1のコイル部と、
前記絶縁基板の前記一方面に前記第1の平面コイルパターンと並行して巻回されるように設けられ、内側端部と前記素体の前記第2の端面まで延びる外側端部とを有する第3の平面コイルパターンと、前記絶縁基板の他方面に設けられ、前記絶縁基板の厚さ方向から見て前記第3の平面コイルパターンの内側端部に重なる内側端部と前記素体の前記第2の端面まで延びる外側端部とを有する第4の平面コイルパターンと、前記絶縁基板を厚さ方向に貫通し、前記第3の平面コイルパターンの内側端部と前記第4の平面コイルパターンの内側端部とを接続する第2の貫通導体とを有する第2のコイル部と、
前記素体の前記第1の端面に設けられて前記第1の平面コイルパターンの外側端部と接続された第1の外部端子電極、前記素体の前記第1の端面に設けられて前記第1の平面コイルパターンの外側端部と接続された第2の外部端子電極、前記素体の前記第2の端面に設けられて前記第3の平面コイルパターンの外側端部と接続された第3の外部端子電極、および、前記素体の前記第2の端面に設けられて前記第4の平面コイルパターンの外側端部と接続された第4の外部端子電極と
を備え、
前記第1の端面に露出する前記第1の平面コイルパターンの外側端部と前記第2の端面に露出する前記第3の平面コイルパターンの外側端部とは、前記第1の端面と前記第2の端面との対面方向に関して向かい合い、かつ、前記第1の端面に露出する前記第2の平面コイルパターンの外側端部と前記第2の端面に露出する前記第4の平面コイルパターンの外側端部とは、前記第1の端面と前記第2の端面との対面方向に関して向かい合い、
前記絶縁基板と平行な方向に関し、前記第1の端面における前記第1の平面コイルパターンの外側端部と前記第1の外部端子電極との接続箇所と、前記第2の平面コイルパターンの外側端部と前記第2の外部端子電極との接続箇所との間の第1の距離が、前記第2の端面における前記第3の平面コイルパターンの外側端部と前記第3の外部端子電極との接続箇所と、前記第4の平面コイルパターンの外側端部と前記第4の外部端子電極との接続箇所との間の第2の距離と異なる、コイル部品。
続きを表示(約 670 文字)
【請求項2】
前記第2の端面における前記第2の距離が前記第1の端面における前記第1の距離より短い、請求項1に記載のコイル部品。
【請求項3】
前記第2の端面における前記第2の距離が前記第1の端面における前記第1の距離より長い、請求項1に記載のコイル部品。
【請求項4】
前記絶縁基板の厚さ方向から見て、前記第1のコイル部の前記第1の貫通導体と前記第2のコイル部の前記第2の貫通導体とは前記磁芯を挟んで配置されている、請求項1に記載のコイル部品。
【請求項5】
前記絶縁基板の厚さ方向から見て、前記第1のコイル部の前記第1の貫通導体と前記第2のコイル部の前記第2の貫通導体とが隣り合っている、請求項1に記載のコイル部品。
【請求項6】
前記第1の平面コイルパターン、前記第2の平面コイルパターン、前記第3の平面コイルパターンおよび前記第4の平面コイルパターンの外側端部の少なくとも1つが、前記絶縁基板を介して重なるとともに前記絶縁基板に設けられた貫通導体で接続されたペア電極により二重化されている、請求項1に記載のコイル部品。
【請求項7】
前記ペア電極が、前記外側端部に関して、前記絶縁基板と平行な方向にずれている、請求項6に記載のコイル部品。
【請求項8】
前記絶縁基板の厚さ方向から見て、前記素体が長方形の形状を呈し、
前記第1の端面および前記第2の端面は、前記長方形の一対の短辺にそれぞれ対応している、請求項1に記載のコイル部品。
発明の詳細な説明
【技術分野】
【0001】
本発明は、コイル部品に関する。
続きを表示(約 2,100 文字)
【背景技術】
【0002】
下記特許文献1には、基板の一方面に設けられた一対のコイルパターンと基板の他方面に設けられた一対のコイルパターンとによって二重コイルが構成されたコイル部品が開示されている。
【先行技術文献】
【特許文献】
【0003】
特開2017-92444号公報
【発明の概要】
【発明が解決しようとする課題】
【0004】
発明者らは、二重コイルのコイル長について研究を重ね、コイル長差を小さくすることでフィルタ特性等のコイル特性を向上することができる技術を新たに見出した。
【0005】
本発明は、二重コイルにおけるコイル特性の向上が図られたコイル部品を提供することを目的とする。
【課題を解決するための手段】
【0006】
本発明の一側面に係るコイル部品は、互いに平行な第1の端面および第2の端面を有する素体と、素体内に設けられ、第1の端面および第2の端面に対して直交し、かつ、第1の端面と第2の端面との間に亘って延在する絶縁基板と、絶縁基板の一方面に設けられ、絶縁基板に対して直交する磁芯周りに巻回され、内側端部と素体の第1の端面まで延びる外側端部とを有する第1の平面コイルパターンと、絶縁基板の他方面に設けられ、絶縁基板の厚さ方向から見て第1の平面コイルパターンの内側端部に重なる内側端部と素体の第1の端面まで延びる外側端部とを有する第2の平面コイルパターンと、絶縁基板を厚さ方向に貫通して第1の平面コイルパターンの内側端部と第2の平面コイルパターンの内側端部とを接続する第1の貫通導体とを有する第1のコイル部と、絶縁基板の一方面に第1の平面コイルパターンと並行して巻回されるように設けられ、内側端部と素体の第2の端面まで延びる外側端部とを有する第3の平面コイルパターンと、絶縁基板の他方面に設けられ、絶縁基板の厚さ方向から見て第3の平面コイルパターンの内側端部に重なる内側端部と素体の第2の端面まで延びる外側端部とを有する第4の平面コイルパターンと、絶縁基板を厚さ方向に貫通し、第3の平面コイルパターンの内側端部と第4の平面コイルパターンの内側端部とを接続する第2の貫通導体とを有する第2のコイル部と、素体の第1の端面に設けられて第1の平面コイルパターンの外側端部と接続された第1の外部端子電極、素体の第1の端面に設けられて第1の平面コイルパターンの外側端部と接続された第2の外部端子電極、素体の第2の端面に設けられて第3の平面コイルパターンの外側端部と接続された第3の外部端子電極、および、素体の第2の端面に設けられて第4の平面コイルパターンの外側端部と接続された第4の外部端子電極とを備え、第1の端面に露出する第1の平面コイルパターンの外側端部と第2の端面に露出する第3の平面コイルパターンの外側端部とは、第1の端面と第2の端面との対面方向に関して向かい合い、かつ、第1の端面に露出する第2の平面コイルパターンの外側端部と第2の端面に露出する第4の平面コイルパターンの外側端部とは、第1の端面と第2の端面との対面方向に関して向かい合い、絶縁基板と平行な方向に関し、第1の端面における第1の平面コイルパターンの外側端部と第1の外部端子電極との接続箇所と、第2の平面コイルパターンの外側端部と第2の外部端子電極との接続箇所との間の第1の距離が、第2の端面における第3の平面コイルパターンの外側端部と第3の外部端子電極との接続箇所と、第4の平面コイルパターンの外側端部と第4の外部端子電極との接続箇所との間の第2の距離と異なる。
【0007】
上記コイル部品においては、第1の端面における第1の距離と第2の端面における第2の距離とが異なっており、それにより、第1のコイル部のコイル長と第2のコイル部のコイル長との差が縮まり、高いコイル特性を実現することができる。
【発明の効果】
【0008】
本発明によれば、二重コイルにおけるコイル特性の向上が図られたコイル部品が提供される。
【図面の簡単な説明】
【0009】
図1は、実施形態に係るコイル部品の概略斜視図である。
図2は、図1に示すコイル部品の分解図である。
図3は、図1に示すコイル部品のIII-III線断面図である。
図4は、基板上面に設けられた平面コイルパターンを示した平面図である。
図5は、基板下面に設けられた平面コイルパターンを示した透過図である。
図6(a)(b)は、図1に示す素体の各端面を示した図である。
図7は、異なる形態のコイル部品の分解図である。
【発明を実施するための形態】
【0010】
以下、添付図面を参照して、本発明の実施形態について詳細に説明する。説明において、同一要素又は同一機能を有する要素には、同一符号を用いることとし、重複する説明は省略する。
(【0011】以降は省略されています)
この特許をJ-PlatPat(特許庁公式サイト)で参照する
関連特許
TDK株式会社
センサ
10日前
TDK株式会社
フィルタ
14日前
TDK株式会社
電子部品
14日前
TDK株式会社
電子部品
4日前
TDK株式会社
フィルタ
4日前
TDK株式会社
電子部品
10日前
TDK株式会社
電子部品
14日前
TDK株式会社
圧電素子
4日前
TDK株式会社
電子部品
4日前
TDK株式会社
電子部品
10日前
TDK株式会社
電子部品
1か月前
TDK株式会社
電子部品
3日前
TDK株式会社
電子部品
1か月前
TDK株式会社
電子部品
3日前
TDK株式会社
コイル部品
14日前
TDK株式会社
コイル部品
14日前
TDK株式会社
コイル部品
14日前
TDK株式会社
ガスセンサ
10日前
TDK株式会社
ガスセンサ
11日前
TDK株式会社
ガスセンサ
14日前
TDK株式会社
ガスセンサ
5日前
TDK株式会社
コイル部品
12日前
TDK株式会社
センサ装置
11日前
TDK株式会社
光検知装置
11日前
TDK株式会社
コイル部品
6日前
TDK株式会社
圧力センサ
6日前
TDK株式会社
コイル部品
10日前
TDK株式会社
コイル部品
10日前
TDK株式会社
コイル部品
4日前
TDK株式会社
磁気センサ
4日前
TDK株式会社
コイル装置
18日前
TDK株式会社
温度センサ
25日前
TDK株式会社
磁気センサ
1か月前
TDK株式会社
コイル部品
1か月前
TDK株式会社
コイル部品
3日前
TDK株式会社
コイル装置
3日前
続きを見る
他の特許を見る