TOP
|
特許
|
意匠
|
商標
特許ウォッチ
Twitter
他の特許を見る
公開番号
2025146283
公報種別
公開特許公報(A)
公開日
2025-10-03
出願番号
2024046969
出願日
2024-03-22
発明の名称
積層コイル部品
出願人
TDK株式会社
代理人
個人
,
個人
,
個人
主分類
H01F
27/28 20060101AFI20250926BHJP(基本的電気素子)
要約
【課題】Q値の低下を抑制する積層コイル部品を提供する。
【解決手段】積層コイル部品1は、素体2と、素体2内に配置されたコイル3と、素体2の表面上に配置された外部電極41,42と、素体2内に配置された接続導体51,52とを備える。コイル3は、一方向に沿って並んだ複数のコイル導体30を含む。外部電極41,42は、方向D1と直交する方向でコイル3と隣り合っている。接続導体51,52は、コイル3と外部電極41,42とを電気的に接続する。複数のコイル導体30は、コイル3の端を含み接続導体51,52と物理的に接続された最端のコイル導体31,37を含む。接続導体51,52は、コイル3のうち厚さが最も小さい部分の厚さよりも大きい厚さを有する。
【選択図】図2
特許請求の範囲
【請求項1】
素体と、
前記素体内に配置され、一方向に沿って並んだ複数のコイル導体を含むコイルと、
前記素体の表面上に配置され、前記一方向と直交する方向で前記コイルと隣り合う外部電極と、
前記素体内に配置され、前記コイルと前記外部電極とを互いに電気的に接続する接続導体と、を備え、
前記複数のコイル導体は、前記コイルの端を含み前記接続導体と物理的に接続された最端のコイル導体を含み、
前記接続導体は、前記コイルのうち厚さが最も小さい部分の厚さよりも大きい厚さを有する、
積層コイル部品。
続きを表示(約 320 文字)
【請求項2】
前記接続導体は、前記最端のコイル導体と同じ層において前記最端のコイル導体と連続する部分を含む、請求項1に記載の積層コイル部品。
【請求項3】
前記接続導体は、前記一方向から見て前記コイルと重ならないように配置されている、
請求項1又は2に記載の積層コイル部品。
【請求項4】
前記接続導体は、前記最端のコイル導体の厚さが最も小さい部分の厚さよりも大きい厚さを有する、請求項1又は2に記載の積層コイル部品。
【請求項5】
前記接続導体は、前記一方向において前記最端のコイル導体の内側よりも該最端のコイル導体の外側に突出している、請求項1又は2に記載の積層コイル部品。
発明の詳細な説明
【技術分野】
【0001】
本発明は、積層コイル部品に関する。
続きを表示(約 1,600 文字)
【背景技術】
【0002】
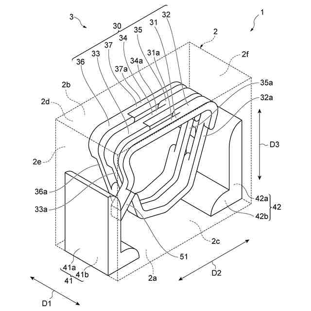
素体と、素体内に配置されているコイルと、素体の表面上に配置された外部電極と、コイルと外部電極とを電気的に接続する接続導体とを備える積層コイル部品が知られている(たとえば、特許文献1)。
【先行技術文献】
【特許文献】
【0003】
特開2018-113309号公報
【発明の概要】
【発明が解決しようとする課題】
【0004】
本発明の一つの態様は、Q値の低下を抑制する積層コイル部品を提供することを目的とする。
【課題を解決するための手段】
【0005】
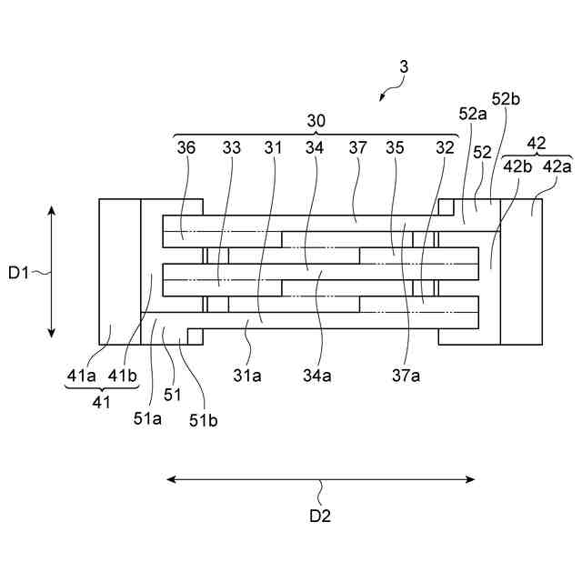
本発明の一つの態様に係る積層コイル部品は、素体と、素体内に配置されたコイルと、素体の表面上に配置された外部電極と、素体内に配置された接続導体とを備える。コイルは、一方向に沿って並んだ複数のコイル導体を含む。外部電極は、一方向と直交する方向でコイルと隣り合っている。接続導体は、コイルと外部電極とを電気的に接続する。複数のコイル導体は、コイルの端を含み接続導体と物理的に接続された最端のコイル導体を含む。接続導体は、コイルのうち厚さが最も小さい部分の厚さよりも大きい厚さを有する。
【0006】
積層コイル部品のQ値は、電気抵抗に反比例する。接続導体がコイルと外部電極とを電気的に接続する積層コイル部品の電気抵抗は、コイルと接続導体との合成抵抗に依存する。導体の電気抵抗は、導体の断面積に反比例するので、接続導体の電気抵抗は、接続導体の厚さに応じて変化する。したがって、積層コイル部品のQ値は、接続導体の厚さに応じて変化する。
【0007】
積層コイル部品では、所定の外形サイズに対して複数のインダクタンス値が求められる。インダクタンス値は、磁路長に反比例する。磁路長は、コイルを構成する複数のコイル導体のそれぞれの厚さに依存するので、コイルの厚さは、一定に定まりがたい。
高いインダクタンス値を有する積層コイル部品を得るために、コイル導体の厚さを小さくすることで磁路長を小さくする場合がある。コイル導体の厚さを小さくすると、コイル導体の断面積が小さくなるので、積層コイル部品の電気抵抗が大きくなる。したがって、高いインダクタンス値を有する積層コイル部品では、積層コイル部品のQ値が低下する傾向がある。
積層コイル部品において、接続導体の磁路長に対する影響は小さいので、接続導体の厚さは、インダクタンス値に影響しがたい。接続導体の厚さを大きくすると、接続導体の断面積が大きくなるので、積層コイル部品の電気抵抗が小さくなる。したがって、接続導体の厚さのみを大きくすることで、高いインダクタンス値を有しながら、Q値の低下が抑制された積層コイル部品を提供できる。
【0008】
上記一つの態様では、接続導体は、コイルのうち厚さが最も小さい部分の厚さよりも大きい厚さを有する。上記一つの態様での接続導体の電気抵抗は、コイルのうち厚さが最も小さい部分の厚さと同等以下の厚さを接続導体が有する構成での接続導体の電気抵抗よりも小さい。したがって、上記一つの態様は、積層コイル部品のQ値の低下を抑制する。
【発明の効果】
【0009】
本発明の一つの態様は、Q値の低下を抑制する積層コイル部品を提供する。
【図面の簡単な説明】
【0010】
図1は、一実施形態に係る積層コイル部品の斜視図である。
図2は、本実施形態に係るコイルの斜視図である。
図3は、本実施形態に係るコイルを一側面から見た平面図である。
図4は、本実施形態に係るコイルを一主面から見た平面図である。
図5は、本実施形態に係る積層コイル部品の構成を示す分解図である。
【発明を実施するための形態】
(【0011】以降は省略されています)
この特許をJ-PlatPat(特許庁公式サイト)で参照する
関連特許
TDK株式会社
センサ
5日前
TDK株式会社
電子部品
5日前
TDK株式会社
電子部品
5日前
TDK株式会社
電子部品
1か月前
TDK株式会社
フィルタ
9日前
TDK株式会社
電子部品
9日前
TDK株式会社
電子部品
9日前
TDK株式会社
電子部品
1か月前
TDK株式会社
電子部品
1か月前
TDK株式会社
電子部品
1か月前
TDK株式会社
電子部品
1か月前
TDK株式会社
コイル装置
1か月前
TDK株式会社
光検知装置
6日前
TDK株式会社
センサ装置
6日前
TDK株式会社
磁気センサ
1か月前
TDK株式会社
ガスセンサ
6日前
TDK株式会社
コイル部品
7日前
TDK株式会社
磁気センサ
29日前
TDK株式会社
ガスセンサ
9日前
TDK株式会社
ガスセンサ
1か月前
TDK株式会社
コイル部品
1か月前
TDK株式会社
コイル部品
9日前
TDK株式会社
コイル部品
9日前
TDK株式会社
コイル装置
13日前
TDK株式会社
コイル部品
13日前
TDK株式会社
温度センサ
20日前
TDK株式会社
コイル装置
1か月前
TDK株式会社
コイル部品
9日前
TDK株式会社
コイル部品
5日前
TDK株式会社
ガスセンサ
5日前
TDK株式会社
ガスセンサ
今日
TDK株式会社
コイル部品
1日前
TDK株式会社
コイル部品
5日前
TDK株式会社
圧力センサ
1日前
TDK株式会社
積層電子部品
1か月前
TDK株式会社
電磁波センサ
今日
続きを見る
他の特許を見る