TOP
|
特許
|
意匠
|
商標
特許ウォッチ
Twitter
他の特許を見る
10個以上の画像は省略されています。
公開番号
2025153345
公報種別
公開特許公報(A)
公開日
2025-10-10
出願番号
2024055787
出願日
2024-03-29
発明の名称
配置部材、及び、発光装置
出願人
日亜化学工業株式会社
代理人
弁理士法人ITOH
主分類
H10H
20/85 20250101AFI20251002BHJP()
要約
【課題】 実装の利便性に配慮された配置部材を実現する。
【解決手段】 配置面と、配置面に設けられ、互いに離隔する第1電極部材及び第2電極部材を含む複数の電極部材と、第1電極及び第2電極を識別できる、第1電極部材側に設けられた第1識別マークと、第2電極部材側に設けられた第2識別マークとを含み、アライメントの基準線を特定することができる、複数の識別マークと、を備え、第1識別マークと第2識別マークは、異なるマーキング形状である、配置部材。
【選択図】 図9
特許請求の範囲
【請求項1】
配置面と、
前記配置面の上に設けられ、互いに離隔する第1電極部材及び第2電極部材を含む複数の電極部材と、
第1電極及び第2電極を識別できる前記第1電極部材側に設けられた第1識別マーク及び前記第2電極部材側に設けられた第2識別マークを含み、アライメントの基準線を特定することができる、複数の識別マークと、を備え、
前記第1識別マークと前記第2識別マークは、異なるマーキング形状である、配置部材。
続きを表示(約 1,100 文字)
【請求項2】
前記第1識別マーク及び前記第2識別マークに基づいて前記基準線を特定することができる、請求項1に記載の配置部材。
【請求項3】
前記第1識別マークは、前記第1電極部材の上に設けられており、
前記第2識別マークは、前記第2電極部材の上に設けられている、請求項1に記載の配置部材。
【請求項4】
前記第1識別マークのマーキング形状は、1つのマークで構成され、
前記第2識別マークのマーキング形状は、複数のマークで構成されている、請求項1に記載の配置部材。
【請求項5】
前記第1識別マークのマーキング形状を構成する前記1つのマークと、前記第2識別マークのマーキング形状を構成する前記複数のマークは、上面視で、前記基準線が通過する位置に設けられている、請求項4に記載の配置部材。
【請求項6】
前記第1電極部材と前記第2電極部材は、第1方向に並べて配置され、
前記第1識別マークは、前記第1方向における前記第1電極部材の両端のうち、前記第2電極部材からより遠い方の端に近い位置に設けられ、
前記第2識別マークは、前記第1方向における前記第2電極部材の両端のうち、前記第1電極部材からより遠い方の端に近い位置に設けられる、請求項1に記載の配置部材。
【請求項7】
前記複数の電極部材は、前記第1電極部材と前記第2電極部材の間に設けられる1または複数の第3電極部材をさらに含み、
前記配置部材は、上面視で、前記第1方向の幅が、前記第1方向に垂直な方向の幅よりも大きい、請求項6に記載の配置部材。
【請求項8】
請求項1乃至7のいずれか一項に記載の、1または複数の配置部材と、
前記第1電極部材及び前記第2電極部材と電気的に接続する、1または複数の発光素子と、
前記1または複数の配置部材、及び、前記1または複数の発光素子が配置されるパッケージと、
を備える発光装置。
【請求項9】
前記1または複数の配置部材には、請求項7に記載の配置部材である第1配置部材が含まれ、
前記1または複数の発光素子には、前記第1配置部材の前記第1電極部材及び前記第3電極部材と接続する第1発光素子と、前記第3電極部材及び前記第2電極部材と接続する第2発光素子とが含まれ、
前記第1発光素子及び前記第2発光素子は、上面視で、前記第1識別マークと前記第2識別マークを結ぶ線分が通過する位置に配置される、請求項8に記載の発光装置。
発明の詳細な説明
【技術分野】
【0001】
本発明は、配置部材、及び、発光装置に関する。
続きを表示(約 1,400 文字)
【背景技術】
【0002】
特開2009-76524号には、発光素子と、基準点として凸形状のアライメントマークが形成されたサブマウントと、ワイヤとを備える発光装置が開示されている。この発光装置において、サブマウントに設けられた金属部材と、サブマウントに載置された発光素子の電極とがワイヤで接続されている。また、サブマウントは、発光素子が配置される配置部材の役割を果たしている。
【先行技術文献】
【特許文献】
【0003】
特開2009-76524号
【発明の概要】
【発明が解決しようとする課題】
【0004】
配置部材や発光素子を実装するときの利便性に配慮された配置部材を実現するという課題を解決する発明を開示する。
【0005】
あるいは、上述の課題に代えて、効率的に光を取り出すことのできる発光装置を実現するという課題を解決する発明を開示する。
【0006】
なお、本明細書において、上述した各課題のうち複数の課題を複合的に解決する発明も開示される。
【課題を解決するための手段】
【0007】
実施形態に開示される配置部材は、配置面と、前記配置面に設けられ、互いに離隔する第1電極部材及び第2電極部材を含む複数の電極部材と、第1電極及び第2電極を識別できる、前記第1電極部材側に設けられた第1識別マークと、前記第2電極部材側に設けられた第2識別マークとを含み、アライメントの基準線を特定することができる、複数の識別マークと、を備え、前記第1識別マークと前記第2識別マークは、異なるマーキング形状である。
【0008】
実施形態に開示される発光装置は、上記の配置部材と、前記配置面に配置され、前記第1電極部材及び前記第2電極部材と電気的に接続する、1または複数の発光素子と、前記1または複数の配置部材、及び、前記1または複数の発光素子が配置されるパッケージと、を備える。
【0009】
実施形態によって開示される1または複数の発明の少なくとも一つにおいて、配置部材や発光素子を実装するときの利便性に配慮された配置部材を実現できる。
【図面の簡単な説明】
【0010】
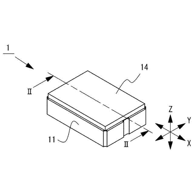
図1は、実施形態に係る発光装置の斜視図である。
図2は、図1のII-II断面線における、実施形態に係る発光装置の断面図である。
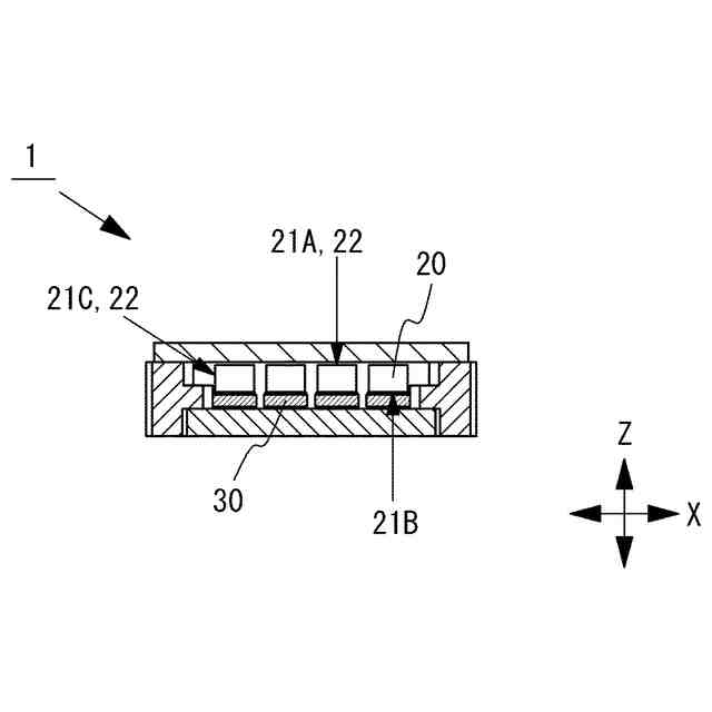
図3は、実施形態に係る発光装置の、蓋体を除いた状態の上面図である。
図4は、実施形態に係る基体にサブマウントが配置された状態の上面図である。
図5は、実施形態に係るパッケージの断面図である。
図6は、実施形態に係る基体の上面図である。
図7は、実施形態に係る基体の下面図である。
図8は、図6のVIII-VIII断面線における、実施形態に係る基体の断面図である。
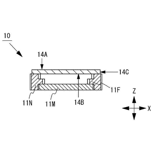
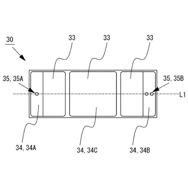
図9は、実施形態に係るサブマウント(配置部材)の上面図である。
図10は、実施形態に係るサブマウントに発光素子が配置された状態の上面図である。
図11は、実施形態に係るサブマウントの側面図である。
【発明を実施するための形態】
(【0011】以降は省略されています)
この特許をJ-PlatPat(特許庁公式サイト)で参照する
関連特許
日亜化学工業株式会社
発光装置
10日前
日亜化学工業株式会社
発光素子
11日前
日亜化学工業株式会社
発光装置、および面状光源
11日前
日亜化学工業株式会社
配置部材、及び、発光装置
10日前
日亜化学工業株式会社
半導体素子およびその製造方法
11日前
日亜化学工業株式会社
発光装置の製造方法及び発光装置
11日前
日亜化学工業株式会社
光源、発光モジュール、及び携帯端末
6日前
日亜化学工業株式会社
発光装置、および発光装置の製造方法
12日前
日亜化学工業株式会社
光源装置およびそれらを有する加熱システム
12日前
日亜化学工業株式会社
透光性部材の製造方法及び発光装置の製造方法
4日前
日亜化学工業株式会社
発光装置、発光モジュール、発光装置の製造方法
18日前
日亜化学工業株式会社
セラミックス基板の製造方法及び発光装置の製造方法
10日前
日亜化学工業株式会社
発光装置
14日前
日亜化学工業株式会社
面状光源
3日前
日亜化学工業株式会社
発光装置
3日前
日亜化学工業株式会社
光源装置およびレンズ構造体
19日前
日亜化学工業株式会社
発光装置、およびディスプレイ
13日前
エイブリック株式会社
縦型ホール素子
6日前
エイブリック株式会社
縦型ホール素子
6日前
株式会社半導体エネルギー研究所
表示装置
6日前
富士電機株式会社
半導体装置
3日前
日亜化学工業株式会社
発光素子
11日前
TDK株式会社
圧電素子
11日前
日亜化学工業株式会社
発光装置
10日前
ローム株式会社
窒化物半導体装置
6日前
富士電機株式会社
半導体装置の製造方法
5日前
株式会社カネカ
太陽電池モジュール
10日前
株式会社MARUWA
発光装置及び照明器具
10日前
日本電気株式会社
超伝導量子回路装置
11日前
サンケン電気株式会社
発光装置
10日前
ローム株式会社
光センサ
4日前
ローム株式会社
RAM
10日前
ローム株式会社
半導体装置
5日前
株式会社Gaianixx
積層構造体及び電子デバイス
6日前
ローム株式会社
半導体装置
10日前
ローム株式会社
半導体装置
10日前
続きを見る
他の特許を見る