TOP
|
特許
|
意匠
|
商標
特許ウォッチ
Twitter
他の特許を見る
10個以上の画像は省略されています。
公開番号
2025143352
公報種別
公開特許公報(A)
公開日
2025-10-01
出願番号
2025110420,2021084692
出願日
2025-06-30,2021-05-19
発明の名称
光源装置およびレンズ構造体
出願人
日亜化学工業株式会社
代理人
個人
,
個人
,
個人
,
個人
主分類
G02B
7/02 20210101AFI20250924BHJP(光学)
要約
【課題】支持体とレンズとの密着性がよい光源装置およびレンズ構造体を提供する。
【解決手段】
光源装置は、光源と、光源の発光面の上方に、光源から間隔を空けて配置され、光学機能部および鍔部を有するレンズと、レンズの少なくとも鍔部を支持する支持体とを備える。レンズおよび支持体は、透光性および遮光性を有する1つの2色成形体である。光学機能部は、光源と反対側に位置する第1面と、第1面の反対側に位置し、かつ、光源に向かい合う第2面とを含む。第1面の表面積は第2面の表面積よりも大きく、平面視において、第1面および第2面は発光部を覆っている。支持体の第1フード部は、鍔部から光源と反対側に延び、支持体の第2フード部は光源側に延び、支持体の支持体鍔部は、第1フード部の外側、かつ、第2フード部の上方に位置する。第1フード部の高さは、光学機能部の第1面の最大高さよりも大きい。
【選択図】図1B
特許請求の範囲
【請求項1】
上面に発光面を有する光源であって、二次元に配列された複数の発光部を含む、光源と、
前記光源の前記発光面の上方に、前記光源から間隔を空けて配置されたレンズであって、光学機能部と、前記光学機能部の外周に沿って配置された鍔部と、を有する、レンズと、
前記レンズの少なくとも前記鍔部を支持する支持体と、を備え、
前記レンズおよび前記支持体は、透光性および遮光性を有する1つの2色成形体であり、
前記光学機能部は、前記光源と反対側に位置する第1面と、前記第1面の反対側に位置し、かつ、前記光源に向かい合う第2面とを含み、前記第1面の表面積は、前記第2面の表面積よりも大きく、平面視において、前記第1面および前記第2面は、前記複数の発光部を覆っており、
前記支持体は、第1フード部と、第2フード部と、支持体鍔部とを含み、
前記第1フード部は、前記鍔部から前記光源と反対側に延び、
前記第2フード部は、前記光源側に延び、
前記支持体鍔部は、前記第1フード部の外側、かつ、前記第2フード部の上方に位置し、
前記第1フード部の高さは、前記光学機能部の前記第1面の最大高さよりも大きい、光源装置。
続きを表示(約 640 文字)
【請求項2】
前記第1面は凹凸を有し、
前記第2面は平坦な面である、請求項1に記載の光源装置。
【請求項3】
前記光学機能部は、凸レンズを含む、請求項1に記載の光源装置。
【請求項4】
前記第1面の曲率半径は、前記第2面の曲率半径よりも小さい、請求項3に記載の光源装置。
【請求項5】
前記第1面の曲率半径が1.5mm以上3.0mm以下であり、
前記第2面の曲率半径が5.0mm以上30.0mmである、請求項4に記載の光源装置。
【請求項6】
前記第2フード部の高さは、0.5mm以上3.0mm以下である、請求項1から5のいずれか一項に記載の光源装置。
【請求項7】
前記第1フード部は、先細り形状である、請求項1から6のいずれか一項に記載の光源装置。
【請求項8】
前記支持体は、前記鍔部の外側面の少なくとも一部に接する、請求項1から7のいずれか一項に記載の光源装置。
【請求項9】
基板をさらに備え、
前記光源は、前記基板の第1面に配置され、
前記第2フード部は、前記基板に固定されている、請求項1から8のいずれか一項に記載の光源装置。
【請求項10】
前記支持体は、前記光学機能部の前記第1面の縁部をさらに覆っている、請求項1から9のいずれか一項に記載の光源装置。
(【請求項11】以降は省略されています)
発明の詳細な説明
【技術分野】
【0001】
本願は、光源装置およびレンズ構造体に関する。
続きを表示(約 2,700 文字)
【背景技術】
【0002】
従来、プレス成形されたレンズ体と該レンズ体を取り囲む枠体が射出成形で一体化された複合成形レンズが開示されている。この複合成形レンズの製造において用いられる複合成形レンズ用金型の上型及び下型は、レンズ部用コアと鍔部用コアと枠部用コアとからなり、それぞれが独立して移動自在であるが、複合成形レンズの製造工程数が多い(例えば、特許文献1参照)。
【先行技術文献】
【特許文献】
【0003】
特開2013-202810号公報
【発明の概要】
【発明が解決しようとする課題】
【0004】
本開示は、支持体とレンズとの密着性がよい光源装置およびレンズ構造体を提供することを目的とする。
【課題を解決するための手段】
【0005】
本開示の一実施形態に係る光源装置は、上面に発光面を有する光源であって、二次元に配列された複数の発光部を含む、光源と、前記光源の前記発光面の上方に、前記光源から間隔を空けて配置されたレンズであって、光学機能部と、前記光学機能部の外周に沿って配置された鍔部と、を有する、レンズと、遮光部材からなり、かつ、前記レンズの少なくとも前記鍔部を支持する支持体と、を備え、前記光学機能部は、前記光源と反対側に位置する第1面と、前記第1面の反対側に位置し、かつ、前記光源に向かい合う第2面とを含み、前記第1面の表面積は、前記第2面の表面積よりも大きく、平面視において、前記第1面および前記第2面は、前記複数の発光部を覆っており、前記鍔部は、前記第1面と同じ側に位置する第3面と、前記第2面と同じ側に位置する第4面とを有し、前記鍔部は、前記第4面に、少なくとも1つの第1凹部を有する。
【0006】
本開示の一実施形態に係るレンズ構造体は、光学機能部と、前記光学機能部の外周に沿って配置された鍔部と、を有するレンズと、遮光部材からなり、かつ、前記レンズの少なくとも前記鍔部を支持する支持体と、を含むレンズ構造体であって、前記レンズおよび前記支持体は、1つの2色成形体であり、前記光学機能部は、第1面と、前記第1面の反対側に位置する第2面とを有し、前記第1面の表面積は、前記第2面の表面積よりも大きく、前記鍔部は、前記第1面と同じ側に位置する第3面と、前記第2面と同じ側に位置する第4面と有し、前記鍔部は、前記第4面に、少なくとも1つの第1凹部を有する。
【発明の効果】
【0007】
本開示の一実施形態によれば、支持体とレンズとの密着性がよい光源装置およびレンズ構造体を提供することができる。
【図面の簡単な説明】
【0008】
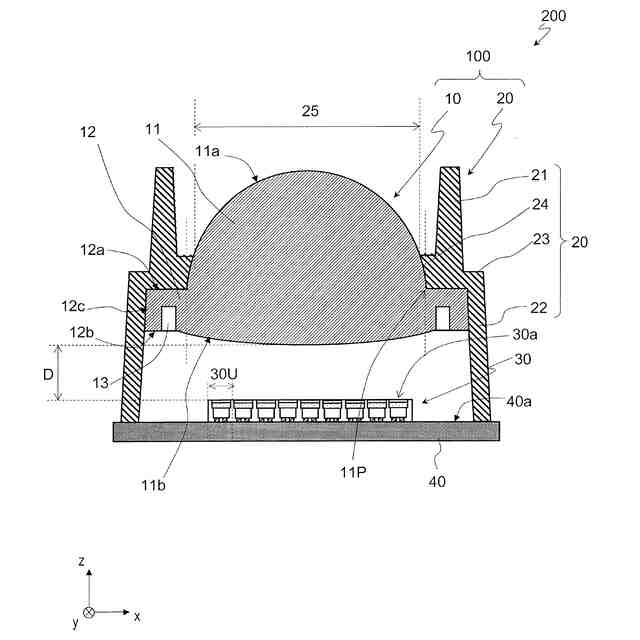
図1Aは、本開示による実施形態の光源装置の上面図である。
図1Bは、図1Aに示す1B-1B線における模式的断面図である。
図2Aは、実施形態におけるレンズ構造体の模式的上面図である。
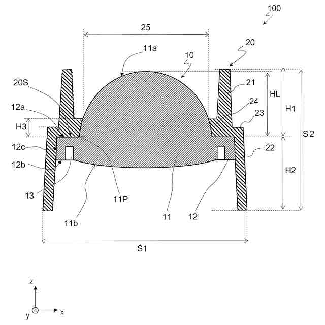
図2Bは、実施形態におけるレンズ構造体の模式的下面図である。
図2Cは、図2Aおよび図2Bに示す2C-2C線における模式的断面図である。
図3Aは、実施形態におけるレンズの模式的下面図である。
図3Bは、図3Aに示す3B-3B線における模式的断面図である。
図4Aは、実施形態における他のレンズを示す模式的下面図である。
図4Bは、実施形態におけるさらに他のレンズを示す模式的下面図である。
図5Aは、実施形態における光源を示す模式的上面図である。
図5Bは、図5Aに示す5B-5B線における模式的断面図である。
図5Cは、光源の一部を示す拡大模式的断面図である。
図6Aは、実施形態の光源装置の製造工程を示す工程断面図である。
図6Bは、実施形態の光源装置の製造工程を示す工程断面図である。
図6Cは、実施形態の光源装置の製造工程を示す工程断面図である。
図6Dは、実施形態の光源装置の製造工程を示す工程断面図である。
図6Eは、実施形態の光源装置の製造工程を示す工程断面図である。
図7Aは、変形例1のレンズの一部を示す拡大模式的下面図である。
図7Bは、図7Aに示す7B-7B線における拡大模式的断面図である。
図8Aは、変形例2のレンズの一部を示す拡大模式的下面図である。
図8Bは、図8Aに示す8B-8B線における拡大模式的断面図である。
図9Aは、変形例3のレンズの一部を示す拡大模式的下面図である。
図9Bは、図9Aに示す9B-9B線における拡大模式的断面図である。
図10Aは、変形例4のレンズの一部を示す拡大模式的下面図である。
図10Bは、図10Aに示す10B-10B線における拡大模式的断面図である。
図11は、実施形態の光源装置の他の例を示す模式的断面図である。
【発明を実施するための形態】
【0009】
以下、発明の実施形態について適宜図面を参照して説明する。ただし、以下に説明する光源装置は、本発明の技術思想を具体化するためのものであって、特定的な記載がない限り、本発明を以下のものに限定しない。また、一つの実施形態において説明する内容は、他の実施形態及び変形例にも適用可能である。さらに、図面が示す部材の大きさや位置関係等は、説明を明確にするため、誇張していることがある。
【0010】
以下の説明において、実質的に同じ機能を有する構成要素は共通の参照符号で示し、説明を省略することがある。あるいは、説明で参照しない構成要素に参照符号を付さない場合がある。以下の説明では、特定の方向または位置を示す用語(例えば、「上」、「下」、「右」、「左」およびそれらの用語を含む別の用語)を用いる場合がある。しかしながら、それらの用語は、参照した図面における相対的な方向または位置をわかり易さのために用いているに過ぎない。参照した図面における「上」、「下」等の用語による相対的な方向または位置の関係が同一であれば、本開示以外の図面、実際の製品、製造装置等において、参照した図面と同一の配置でなくてもよい。本開示において「平行」とは、特に他の言及がない限り、2つの直線、辺、面等が0°から±5°程度の範囲にある場合を含む。また、本開示において「垂直」または「直交」とは、特に他の言及がない限り、2つの直線、辺、面等が90°から±5°程度の範囲にある場合を含む。
(【0011】以降は省略されています)
この特許をJ-PlatPat(特許庁公式サイト)で参照する
関連特許
日亜化学工業株式会社
発光素子
1日前
日亜化学工業株式会社
窒化物半導体発光素子
3日前
日亜化学工業株式会社
発光装置、発光モジュール、発光装置の製造方法
今日
日亜化学工業株式会社
光源装置
3日前
日亜化学工業株式会社
光源装置およびレンズ構造体
1日前
日亜化学工業株式会社
非水電解質二次電池用正極活物質及びその製造方法
2日前
カンタツ株式会社
光学系
24日前
日本精機株式会社
表示装置
29日前
日本精機株式会社
表示装置
29日前
日本精機株式会社
表示装置
1か月前
株式会社シグマ
高倍率ズームレンズ
1か月前
キヤノン株式会社
映像表示装置
13日前
アイカ工業株式会社
反射防止フィルム
24日前
住友化学株式会社
偏光板
1か月前
アイカ工業株式会社
反射防止フィルム
今日
インターマン株式会社
立体映像表示装置
13日前
瀚宇彩晶股ふん有限公司
表示パネル
1か月前
日本精機株式会社
ヘッドアップディスプレイ
29日前
沖電気工業株式会社
光導波路素子
29日前
沖電気工業株式会社
光導波路素子
29日前
沖電気工業株式会社
光導波路素子
29日前
個人
透過型及び反射型顕微鏡
13日前
キヤノン株式会社
レンズ装置および撮像装置
1日前
東レ株式会社
プラスチック光ファイバ
23日前
キヤノン株式会社
画像表示装置
21日前
レーザーテック株式会社
検査装置及び検査方法
3日前
キヤノン株式会社
表示装置
6日前
AGC株式会社
光学素子
1か月前
キヤノン株式会社
光学系及び撮像装置
7日前
東レ株式会社
先端に凸面を有する光ファイバ
13日前
株式会社小糸製作所
画像投影装置
13日前
株式会社小糸製作所
画像生成装置
22日前
日東電工株式会社
光学積層体
27日前
日東電工株式会社
光学積層体
14日前
株式会社小糸製作所
画像投影装置
14日前
株式会社JVCケンウッド
液晶表示装置
1か月前
続きを見る
他の特許を見る