TOP
|
特許
|
意匠
|
商標
特許ウォッチ
Twitter
他の特許を見る
10個以上の画像は省略されています。
公開番号
2025144523
公報種別
公開特許公報(A)
公開日
2025-10-02
出願番号
2025010097
出願日
2025-01-23
発明の名称
発光装置、発光モジュール、発光装置の製造方法
出願人
日亜化学工業株式会社
代理人
弁理士法人iX
主分類
H10H
20/831 20250101AFI20250925BHJP()
要約
【課題】半導体構造体の面積及び電極の面積を大きくすること。
【解決手段】発光素子は、内側半導体構造体と内側電極とを備える内側発光部と、平面視において内側発光部の全周を囲み、外側半導体構造体と外側電極とを備える外側発光部とを有する。発光装置の発光面において、内側半導体構造体及び外側半導体構造体が最表面である。外側電極は、第1外縁に沿って延びる第1延伸部と、第3外縁及び第4外縁の一方に沿って延びる第2延伸部とを有する第1外側電極と、第2外縁に沿って延びる第3延伸部と、第3外縁及び第4外縁の他方に沿って延びる第4延伸部とを有する第2外側電極とを有する。平面視において、第1延伸部の端部と第4延伸部の端部との間に第1間隙が位置し、第2延伸部の端部と第3延伸部の端部との間に第2間隙が位置する。
【選択図】図3
特許請求の範囲
【請求項1】
支持部材と、
前記支持部材上に配置され、且つ、平面視において、第1方向に延びる第1外縁及び第2外縁と、前記第1方向に直交する第2方向に延びる第3外縁及び第4外縁を有する矩形形状の発光素子と、を備え、
前記発光素子は、
内側発光面及び前記内側発光面の反対側に位置する内側電極面を有する内側半導体構造体と、前記内側電極面に配置された正負の内側電極と、を備える内側発光部と、
平面視において前記内側発光部の全周を囲み、外側発光面及び前記外側発光面の反対側に位置する外側電極面を有する外側半導体構造体と、前記外側電極面に配置された正負の外側電極と、を備える外側発光部と、
を有し、且つ、
発光面において、前記内側半導体構造体及び前記外側半導体構造体が最表面であり、
前記正負の外側電極は、
前記第1外縁に沿って延びる第1延伸部と、前記第3外縁及び前記第4外縁の一方に沿って延びる第2延伸部とを有する第1外側電極と、
前記第2外縁に沿って延びる第3延伸部と、前記第3外縁及び前記第4外縁の他方に沿って延びる第4延伸部とを有する第2外側電極と、
を有し、且つ、
平面視において、前記第1延伸部の端部と前記第4延伸部の端部との間に第1間隙が位置し、前記第2延伸部の端部と前記第3延伸部の端部との間に第2間隙が位置する、発光装置。
続きを表示(約 2,400 文字)
【請求項2】
前記第1延伸部と前記第2延伸部とは連続し、前記第3延伸部と前記第4延伸部とは連続する、請求項1に記載の発光装置。
【請求項3】
平面視において、前記第1延伸部の端部と前記第2延伸部の端部との間に第3間隙が位置し、前記第3延伸部の端部と前記第4延伸部の端部との間に第4間隙が位置する、請求項1に記載の発光装置。
【請求項4】
平面視において、前記第1間隙と前記第2間隙を結ぶ仮想線上に前記正負の内側電極が位置する、請求項1~3のいずれか1つに記載の発光装置。
【請求項5】
前記内側発光部は、平面視において、前記第1外縁、前記第2外縁、前記第3外縁、及び前記第4外縁に沿う枠状の枠状発光部を有し、
前記内側電極は、前記枠状発光部の内側電極面に配置された第1内側電極及び第2内側電極を有し、
前記第1内側電極は、前記第1延伸部に沿って延びる第5延伸部と、前記第2延伸部に沿って延びる第6延伸部とを有し、
前記第2内側電極は、前記第3延伸部に沿って延びる第7延伸部と、前記第4延伸部に沿って延びる第8延伸部とを有し、
前記第1内側電極及び前記第1外側電極は、隣接するとともに同じ極性を有し、
前記支持部材は、1つの前記発光素子の前記第1内側電極及び前記第1外側電極に共通に接合される1つの共通配線部を有する、請求項1~3のいずれか1つに記載の発光装置。
【請求項6】
前記外側電極面の前記第1外縁、前記第2外縁、前記第3外縁、及び前記第4外縁に沿う方向の長さに対する、前記外側電極の前記第1外縁、前記第2外縁、前記第3外縁、及び前記第4外縁に沿う方向の長さの比は、0.8以上である、請求項1~3のいずれか1つに記載の発光装置。
【請求項7】
支持部材と、
前記支持部材上に配置され、且つ、平面視において、第1方向に延びる第1外縁及び第2外縁と、前記第1方向に直交する第2方向に延びる第3外縁及び第4外縁を有する矩形形状の発光素子と、を備え、
前記発光素子は、
内側発光面及び前記内側発光面の反対側に位置する内側電極面を有する内側半導体構造体と、前記内側電極面に配置された正負の内側電極と、を備える内側発光部と、
平面視において前記内側発光部の全周を囲み、外側発光面及び前記外側発光面の反対側に位置する外側電極面を有する外側半導体構造体と、前記外側電極面に配置された正負の外側電極と、を備える外側発光部と、
を有し、且つ、
発光面において、前記内側半導体構造体及び前記外側半導体構造体が最表面であり、
前記外側電極は、
前記第1外縁、前記第2外縁、前記第3外縁、及び前記第4外縁に沿って連続する第1外側電極と、
前記第1外縁、前記第2外縁、前記第3外縁、及び前記第4外縁に沿って連続する第2外側電極と、
を有し、
前記内側電極は、
前記第1外縁、前記第2外縁、前記第3外縁、及び前記第4外縁に沿って連続する第1内側電極と、
前記第1外縁、前記第2外縁、前記第3外縁、及び前記第4外縁に沿って連続する第2内側電極と、
を有し、
平面視において、前記第2外側電極と前記第2内側電極との間に、前記第1外側電極及び前記第1内側電極が配置され、
前記支持部材は、前記第1外側電極及び前記第1内側電極に共通に接合される1つの共通配線部を有する、発光装置。
【請求項8】
前記内側発光面上及び前記外側発光面上に配置された波長変換部材をさらに備える請求項1または7に記載の発光装置。
【請求項9】
前記内側発光部は、前記内側発光部の中央に位置し、かつ照射領域において中央領域に光を照射する矩形形状の中央発光部を含む、請求項1または7に記載の発光装置と、
前記発光装置における前記内側発光面上及び前記外側発光面上に配置されたレンズと、
を備え、
前記レンズによる前記中央発光部の配光角度の変化量は、前記レンズによる前記外側発光部の配光角度の変化量よりも大きい、発光モジュール。
【請求項10】
第1面と、前記第1面の反対側に位置する第2面とを有する素子基板と、
前記素子基板の前記第2面に配置され、且つ、平面視において、第1方向に延びる第1外縁及び第2外縁と、前記第1方向に直交する第2方向に延びる第3外縁及び第4外縁を有する矩形形状の発光素子と、
を有する構造体を準備する工程と、
前記第2面と支持部材とが対向するように、前記支持部材上に前記構造体を配置する工程と、
前記支持部材上に前記構造体を配置した後、前記発光素子から前記素子基板を分離する工程と、
を備え、
前記構造体を準備する工程において、
前記発光素子は、
内側発光面及び前記内側発光面の反対側に位置する内側電極面を有する内側半導体構造体と、前記内側電極面に配置された正負の内側電極と、を備える内側発光部と、
平面視において前記内側発光部の全周を囲み、外側発光面及び前記外側発光面の反対側に位置する外側電極面を有する外側半導体構造体と、前記外側電極面に配置された正負の外側電極と、を備える外側発光部と、
を有し、
前記外側電極は、
前記第1外縁に沿って延びる第1延伸部と、前記第3外縁及び前記第4外縁の一方に沿って延びる第2延伸部とを有する第1外側電極と、
前記第2外縁に沿って延びる第3延伸部と、前記第3外縁及び前記第4外縁の他方に沿って延びる第4延伸部とを有する第2外側電極と、
を有する、発光装置の製造方法。
(【請求項11】以降は省略されています)
発明の詳細な説明
【技術分野】
【0001】
本開示は、発光装置、発光モジュール、発光装置の製造方法に関する。
続きを表示(約 3,700 文字)
【背景技術】
【0002】
複数の発光部を有する素子基板を支持部材上に配置した後、素子基板を除去して得られる発光装置が知られている。
【先行技術文献】
【特許文献】
【0003】
中国特許出願公開第102117821号明細書
【発明の概要】
【発明が解決しようとする課題】
【0004】
本開示は、半導体構造体の面積及び電極の面積を大きくすることができる発光装置、発光モジュール、発光装置の製造方法を提供することを目的とする。
【課題を解決するための手段】
【0005】
本開示の一態様によれば、発光装置は、支持部材と、前記支持部材上に配置され、且つ、平面視において、第1方向に延びる第1外縁及び第2外縁と、前記第1方向に直交する第2方向に延びる第3外縁及び第4外縁を有する矩形形状の発光素子と、を備え、前記発光素子は、内側発光面及び前記内側発光面の反対側に位置する内側電極面を有する内側半導体構造体と、前記内側電極面に配置された正負の内側電極と、を備える内側発光部と、平面視において前記内側発光部の全周を囲み、外側発光面及び前記外側発光面の反対側に位置する外側電極面を有する外側半導体構造体と、前記外側電極面に配置された正負の外側電極と、を備える外側発光部と、を有し、且つ、発光面において、前記内側半導体構造体及び前記外側半導体構造体が最表面であり、前記正負の外側電極は、前記第1外縁に沿って延びる第1延伸部と、前記第3外縁及び前記第4外縁の一方に沿って延びる第2延伸部とを有する第1外側電極と、前記第2外縁に沿って延びる第3延伸部と、前記第3外縁及び前記第4外縁の他方に沿って延びる第4延伸部とを有する第2外側電極と、を有し、且つ、平面視において、前記第1延伸部の端部と前記第4延伸部の端部との間に第1間隙が位置し、前記第2延伸部の端部と前記第3延伸部の端部との間に第2間隙が位置する。
【0006】
本開示の一態様によれば、発光装置は、支持部材と、前記支持部材上に配置され、且つ、平面視において、第1方向に延びる第1外縁及び第2外縁と、前記第1方向に直交する第2方向に延びる第3外縁及び第4外縁を有する矩形形状の発光素子と、を備え、前記発光素子は、内側発光面及び前記内側発光面の反対側に位置する内側電極面を有する内側半導体構造体と、前記内側電極面に配置された正負の内側電極と、を備える内側発光部と、平面視において前記内側発光部の全周を囲み、外側発光面及び前記外側発光面の反対側に位置する外側電極面を有する外側半導体構造体と、前記外側電極面に配置された正負の外側電極と、を備える外側発光部と、を有し、且つ、発光面において、前記内側半導体構造体及び前記外側半導体構造体が最表面であり、前記外側電極は、前記第1外縁、前記第2外縁、前記第3外縁、及び前記第4外縁に沿って連続する第1外側電極と、前記第1外縁、前記第2外縁、前記第3外縁、及び前記第4外縁に沿って連続する第2外側電極と、を有し、前記内側電極は、前記第1外縁、前記第2外縁、前記第3外縁、及び前記第4外縁に沿って連続する第1内側電極と、前記第1外縁、前記第2外縁、前記第3外縁、及び前記第4外縁に沿って連続する第2内側電極と、を有し、平面視において、前記第2外側電極と前記第2内側電極との間に、前記第1外側電極及び前記第1内側電極が配置され、前記支持部材は、前記第1外側電極及び前記第1内側電極に共通に接合される1つの共通配線部を有する。
【0007】
本開示の一態様によれば、発光モジュールは、前記内側発光部は、前記内側発光部の中央に位置し、かつ照射領域において中央領域に光を照射する矩形形状の中央発光部を含む、上記発光装置と、前記発光装置における前記内側発光面上及び前記外側発光面上に配置されたレンズと、を備え、前記レンズによる前記中央発光部の配光角度の変化量は、前記レンズによる前記外側発光部の配光角度の変化量よりも大きい。
【0008】
本開示の一態様によれば、発光装置の製造方法は、第1面と、前記第1面の反対側に位置する第2面とを有する素子基板と、前記素子基板の前記第2面に配置され、且つ、平面視において、第1方向に延びる第1外縁及び第2外縁と、前記第1方向に直交する第2方向に延びる第3外縁及び第4外縁を有する矩形形状の発光素子と、を有する構造体を準備する工程と、前記第2面と支持部材とが対向するように、前記支持部材上に前記構造体を配置する工程と、前記支持部材上に前記構造体を配置した後、前記発光素子から前記素子基板を分離する工程と、を備え、前記構造体を準備する工程において、前記発光素子は、内側発光面及び前記内側発光面の反対側に位置する内側電極面を有する内側半導体構造体と、前記内側電極面に配置された正負の内側電極と、を備える内側発光部と、平面視において前記内側発光部の全周を囲み、外側発光面及び前記外側発光面の反対側に位置する外側電極面を有する外側半導体構造体と、前記外側電極面に配置された正負の外側電極と、を備える外側発光部と、を有し、前記外側電極は、前記第1外縁に沿って延びる第1延伸部と、前記第3外縁及び前記第4外縁の一方に沿って延びる第2延伸部とを有する第1外側電極と、前記第2外縁に沿って延びる第3延伸部と、前記第3外縁及び前記第4外縁の他方に沿って延びる第4延伸部とを有する第2外側電極と、を有する。
【発明の効果】
【0009】
本開示によれば、半導体構造体の面積及び電極の面積を大きくすることができる発光装置、発光モジュール、発光装置の製造方法を提供することができる。
【図面の簡単な説明】
【0010】
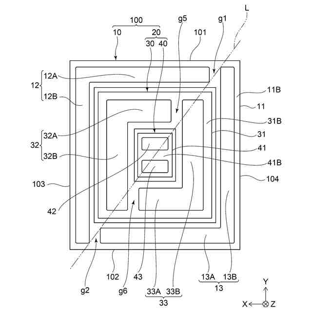
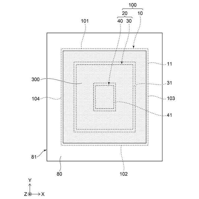
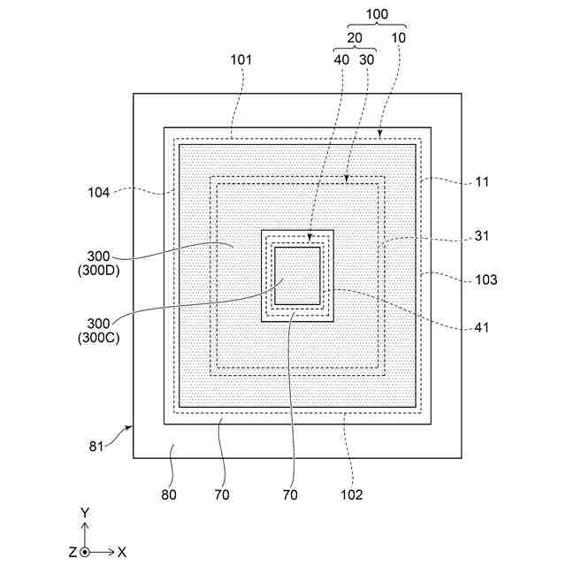
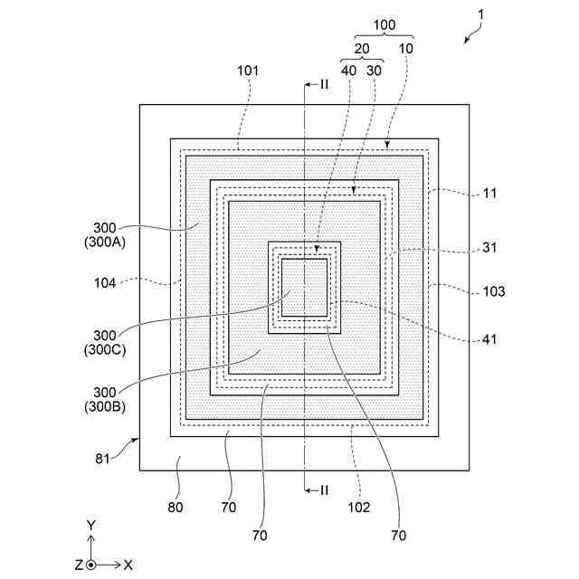
第1実施形態に係る発光装置の模式平面図である。
図1のII-II線における模式断面図である。
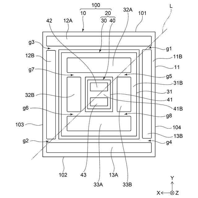
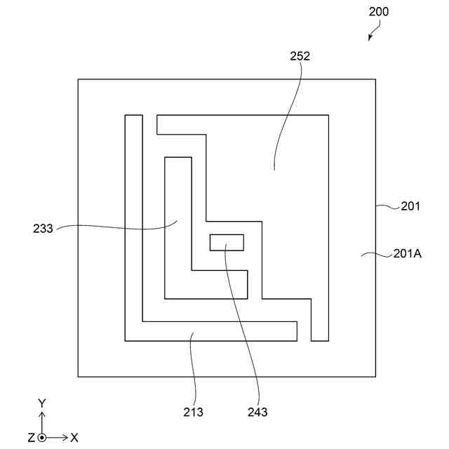
第1実施形態に係る発光装置における発光素子の模式平面図である。
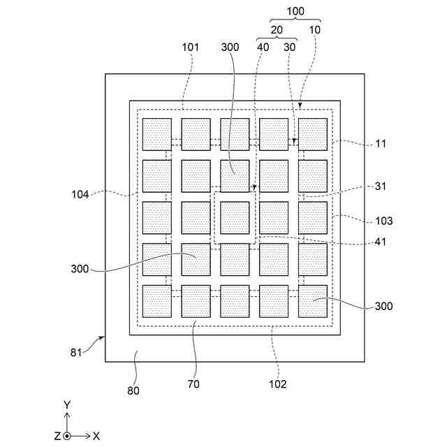
第1実施形態に係る発光装置における支持部材の模式平面図である。
第1実施形態に係る発光装置における支持部材の模式平面図である。
第1実施形態に係る発光装置における発光素子の模式平面図である。
第1実施形態に係る発光装置の模式平面図である。
第1実施形態に係る発光装置の模式平面図である。
第1実施形態に係る発光装置の模式平面図である。
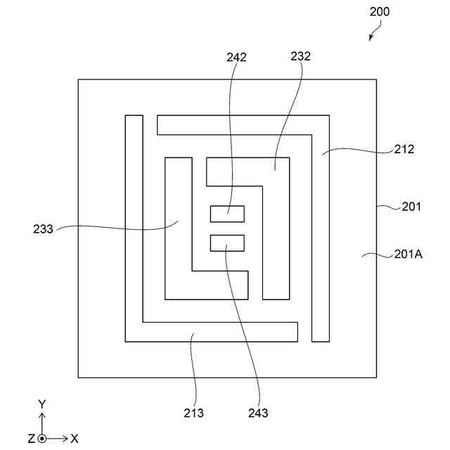
第2実施形態に係る発光装置における発光素子の模式平面図である。
第2実施形態に係る発光装置の模式断面図である。
第2実施形態に係る発光装置における支持部材の模式平面図である。
実施形態に係る発光モジュールの模式断面図である。
第1変形例に係る発光モジュールの模式断面図である。
第2変形例に係る発光モジュールの模式断面図である。
第3変形例に係る発光モジュールの模式断面図である。
第4変形例に係る発光モジュールの模式平面図である。
図14DのXIVE-XIVE線における模式断面図である。
第4変形例に係る発光モジュールの模式平面図である。
図14FのXIVG-XIVG線における模式断面図である。
第1実施形態に係る発光装置の製造方法の一工程を説明するための模式断面図である。
第1実施形態に係る発光装置の製造方法の一工程を説明するための模式断面図である。
第1実施形態に係る発光装置の製造方法の一工程を説明するための模式断面図である。
第1実施形態に係る発光装置の製造方法の一工程を説明するための模式断面図である。
第1実施形態に係る発光装置の製造方法の一工程を説明するための模式平面図である。
第1実施形態に係る発光装置の製造方法の一工程を説明するための模式平面図である。
第1実施形態に係る発光装置の製造方法の一工程を説明するための模式平面図である。
第1実施形態に係る発光装置の製造方法の一工程を説明するための模式平面図である。
第1実施形態に係る発光装置の製造方法の一工程を説明するための模式断面図である。
第1実施形態に係る発光装置の製造方法の一工程を説明するための模式断面図である。
第2実施形態に係る発光装置の製造方法の一工程を説明するための模式断面図である。
第2実施形態に係る発光装置の製造方法の一工程を説明するための模式断面図である。
第2実施形態に係る発光装置の製造方法の一工程を説明するための模式断面図である。
第2実施形態に係る発光装置の製造方法の一工程を説明するための模式断面図である。
第2実施形態に係る発光装置の製造方法の一工程を説明するための模式断面図である。
【発明を実施するための形態】
(【0011】以降は省略されています)
特許ウォッチbot のツイートを見る
この特許をJ-PlatPat(特許庁公式サイト)で参照する
関連特許
日亜化学工業株式会社
発光素子
3日前
日亜化学工業株式会社
発光素子
26日前
日亜化学工業株式会社
発光装置
23日前
日亜化学工業株式会社
車両用灯具
1か月前
日亜化学工業株式会社
光源及び基板
15日前
日亜化学工業株式会社
半導体レーザ素子
1か月前
日亜化学工業株式会社
光源及び発光装置
1か月前
日亜化学工業株式会社
窒化物半導体発光素子
5日前
日亜化学工業株式会社
発光装置及びその製造方法
1か月前
日亜化学工業株式会社
発光装置及び発光装置の製造方法
1か月前
日亜化学工業株式会社
画像表示装置、及びスマートフォン
25日前
日亜化学工業株式会社
発光装置、発光モジュール、発光装置の製造方法
2日前
日亜化学工業株式会社
酸化物蛍光体、発光装置及び酸化物蛍光体の製造方法
26日前
日亜化学工業株式会社
ケイ酸塩蛍光体、発光装置及びケイ酸塩蛍光体の製造方法
9日前
日亜化学工業株式会社
光源装置
5日前
日亜化学工業株式会社
基板、発光装置、基板の製造方法、及び発光装置の製造方法
24日前
日亜化学工業株式会社
発光装置の製造方法
17日前
日亜化学工業株式会社
基体部材および発光装置
17日前
日亜化学工業株式会社
セラミックス基板及びその製造方法、並びに、発光装置及びその製造方法
24日前
日亜化学工業株式会社
発光装置、発光モジュール
1か月前
日亜化学工業株式会社
光源装置およびレンズ構造体
3日前
日亜化学工業株式会社
非水電解質二次電池用正極活物質及びその製造方法
4日前
日亜化学工業株式会社
α-Fe相含有希土類-鉄-窒素系磁性粉体、その製造方法、α-Fe相含有希土類-鉄-窒素系磁性粉体の製造方法
1か月前
エイブリック株式会社
半導体装置
1か月前
エイブリック株式会社
半導体装置
2日前
富士電機株式会社
半導体装置
1か月前
富士電機株式会社
半導体装置
1か月前
富士電機株式会社
半導体装置
1か月前
富士電機株式会社
半導体装置
5日前
富士電機株式会社
半導体装置
23日前
富士電機株式会社
半導体装置
1か月前
三菱電機株式会社
半導体装置
1か月前
三菱電機株式会社
半導体装置
1か月前
国立大学法人 和歌山大学
光検出器
1か月前
AGC株式会社
太陽電池モジュール
8日前
株式会社半導体エネルギー研究所
半導体装置
1か月前
続きを見る
他の特許を見る