TOP
|
特許
|
意匠
|
商標
特許ウォッチ
Twitter
他の特許を見る
10個以上の画像は省略されています。
公開番号
2025159146
公報種別
公開特許公報(A)
公開日
2025-10-17
出願番号
2025135908,2022199897
出願日
2025-08-18,2022-12-15
発明の名称
発光装置
出願人
日亜化学工業株式会社
代理人
弁理士法人磯野国際特許商標事務所
主分類
F21S
41/141 20180101AFI20251009BHJP(照明)
要約
【課題】発光面に部分的に高輝度領域を有する発光装置を提供する。
【解決手段】発光装置100は、発光素子10を含む光源5と、第2面30bが光源5の上面5aに対向するように配置される透光性部材30と、透光性部材30の側面及び光源5の側面を被覆する被覆部材40と、を含み、上面視において、光源5の上面5aの中心は、透光性部材30の第1面30aの中心よりも透光性部材30の第2側面30d側に位置し、かつ、光源5の第1側面5cから透光性部材30の第1側面30cまでの長さは、透光性部材30の第1側面30cから透光性部材30の第2側面30dまでの長さの1/4以上である。
【選択図】図1C
特許請求の範囲
【請求項1】
発光素子を含み、上面に発光面を有する光源と、
第1面と、前記第1面の反対側に位置する第2面と、を有し、前記第2面が前記光源の上面に対向するように配置される透光性部材と、
前記透光性部材の第1面を露出し、前記透光性部材の側面及び前記光源の側面を被覆する被覆部材と、を含み、
前記光源の側面は、前記上面に連なる第1側面及び前記第1側面の反対側に位置する第2側面を有し、
前記透光性部材の側面は、前記光源の第1側面と同じ側に位置する第1側面及び前記第1側面の反対側に位置する第2側面を有し、
上面視において、前記光源の上面の中心は、前記透光性部材の第1面の中心よりも前記透光性部材の第2側面側に位置し、かつ、前記光源の第1側面から前記透光性部材の第1側面までの長さは、前記透光性部材の第1側面から前記透光性部材の第2側面までの長さの1/4以上である発光装置。
続きを表示(約 650 文字)
【請求項2】
前記光源は、前記発光素子の上に波長変換部材を備える請求項1に記載の発光装置。
【請求項3】
前記波長変換部材は、前記光源の上面を構成する第1上面と、前記第1上面の反対側に位置する第1下面と、を有し、
前記第1下面は凹部を有し、前記凹部内に前記発光素子の一部が配置される請求項2に記載の発光装置。
【請求項4】
前記透光性部材の第2面は、前記透光性部材の第1側面及び第2側面との間に溝を有し、
前記光源は、前記溝と前記透光性部材の第2側面との間に配置される請求項1又は請求項2に記載の発光装置。
【請求項5】
前記溝は、前記透光性部材の第2面を、離隔する2つの領域に分ける溝である請求項4に記載の発光装置。
【請求項6】
前記光源と離隔し、前記透光性部材の第2面に配置される光吸収部材を備える請求項1又は請求項2に記載の発光装置。
【請求項7】
前記透光性部材の第1面に配置される光拡散部材を備える請求項1又は請求項2に記載の発光装置。
【請求項8】
前記光源が配置される配線基板と、
前記配線基板上に前記光源と離隔して配置される電子部品と、を備える請求項1又は請求項2に記載の発光装置。
【請求項9】
前記光源が配置される配線基板と、
前記配線基板上に配置され、前記透光性部材を支持する支持部材を備える請求項1又は請求項2に記載の発光装置。
発明の詳細な説明
【技術分野】
【0001】
本開示は、発光装置に関する。
続きを表示(約 2,800 文字)
【背景技術】
【0002】
近年、ヘッドライト等の車両用灯具の光源として、LEDが用いられている。例えば、特許文献1には、発光素子と、発光素子の上面に載置される蛍光体板と、蛍光体板の上面が露出するように配置される封止樹脂と、蛍光体板の上面及び樹脂体の上面を覆う拡散樹脂と、を備える発光装置が開示されている。また、特許文献2には、発光素子と、発光素子の上面に接合された波長変換部材と、発光素子の上面よりも大きい面積であり、波長変換部材の上面に配置された透光性部材と、透光性の側面導光部材と、少なくとも、前記波長変換部材、前記透光性部材および前記側面導光部材のそれぞれの側面に配置された光反射部材と、を備える発光装置が開示されている。
【先行技術文献】
【特許文献】
【0003】
特開2014-239140号公報
特開2016-072515号公報
【発明の概要】
【発明が解決しようとする課題】
【0004】
本開示は、発光面に部分的に高輝度領域を有する発光装置を提供することを課題とする。
【課題を解決するための手段】
【0005】
本開示の実施形態に係る発光装置は、発光素子を含み、上面に発光面を有する光源と、第1面と、前記第1面の反対側に位置する第2面と、を有し、前記第2面が前記光源の上面に対向するように配置される透光性部材と、前記透光性部材の第1面を露出し、前記透光性部材の側面及び前記光源の側面を被覆する被覆部材と、を含み、前記光源の側面は、前記上面に連なる第1側面及び前記第1側面の反対側に位置する第2側面を有し、前記透光性部材の側面は、前記光源の第1側面と同じ側に位置する第1側面及び前記第1側面の反対側に位置する第2側面を有し、上面視において、前記光源の上面の中心は、前記透光性部材の第1面の中心よりも前記透光性部材の第2側面側に位置し、かつ、前記光源の第1側面から前記透光性部材の第1側面までの長さは、前記透光性部材の第1側面から前記透光性部材の第2側面までの長さの1/4以上である。
【発明の効果】
【0006】
本開示に係る実施形態によれば、発光面に部分的に高輝度領域を有する発光装置を提供することができる。
【図面の簡単な説明】
【0007】
第1実施形態に係る発光装置を模式的に示す斜視図である。
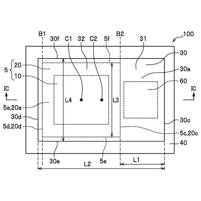
第1実施形態に係る発光装置を模式的に示す上面図である。
図1BのIC-IC線における断面を模式的に示す断面図である。
第1実施形態に係る発光装置を模式的に示す下面図である。
第1実施形態に係る発光装置の光源からの光路を模式的に示す断面図である。
第1実施形態に係る発光装置の製造方法のフローチャートである。
第1実施形態に係る発光装置の製造方法を模式的に示す上面図である。
第1実施形態に係る発光装置の製造方法を模式的に示す上面図である。
第1実施形態に係る発光装置の製造方法を模式的に示す断面図である。
第1実施形態に係る発光装置の製造方法を模式的に示す断面図である。
第1実施形態に係る発光装置の製造方法を模式的に示す断面図である。
第1実施形態に係る発光装置の製造方法を模式的に示す断面図である。
第2実施形態に係る発光装置を模式的に示す上面図である。
図5AのVB-VB線における断面を模式的に示す断面図である。
第3実施形態に係る発光装置を模式的に示す断面図である。
第4実施形態に係る発光装置を模式的に示す断面図である。
第5実施形態に係る発光装置を模式的に示す断面図である。
第6実施形態に係る発光装置を模式的に示す断面図である。
第7実施形態に係る発光装置を模式的に示す断面図である。
【発明を実施するための形態】
【0008】
実施形態を、以下に図面を参照しながら説明する。但し、以下に示す形態は、本実施形態の技術思想を具現化するための発光装置及び発光装置の製造方法を例示するものであって、以下に限定するものではない。また、実施の形態に記載されている構成部品の寸法、材質、形状、その相対的配置等は、特定的な記載がない限り、本発明の範囲をそれのみに限定する趣旨ではなく、単なる例示に過ぎない。なお、各図面が示す部材の大きさや位置関係等は、説明を明確にするために誇張又は簡略化していることがある。また、図面が過度に複雑になることを避けるために、一部の要素の図示を省略したり、断面図として切断面のみを示す端面図を用いたりすることがある。更に、「被覆する」とは直に接する場合に限らず、間接的に、例えば他の部材を介して被覆する場合も含む。また、「配置する」とは直接接する場合に限らず、間接的に、例えば他の部材を介して配置する場合も含む。なお、本明細書において「上面視」とは、発光装置の発光面である上面側から観察することを意味する。
【0009】
<第1実施形態>
[発光装置]
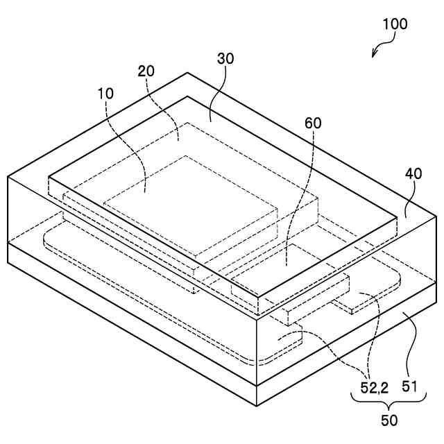
図1Aは、第1実施形態に係る発光装置を模式的に示す斜視図である。図1Bは、第1実施形態に係る発光装置を模式的に示す上面図である。図1Cは、図1BのIC-IC線における断面を模式的に示す断面図である。図1Dは、第1実施形態に係る発光装置を模式的に示す下面図である。図2は、第1実施形態に係る発光装置の光源からの光路を模式的に示す断面図である。
【0010】
発光装置100は、発光素子10を含み、上面5aに発光面を有する光源5と、第1面30aと、第1面30aの反対側に位置する第2面30bと、を有し、第2面30bが光源5の上面5aに対向するように配置される透光性部材30と、透光性部材30の第1面30aを露出し、透光性部材30の側面及び光源5の側面を被覆する被覆部材40と、を含む。光源5の側面は、上面5aに連なる第1側面5c及び第1側面5cの反対側に位置する第2側面5dを有し、透光性部材30の側面は、光源5の第1側面5cと同じ側に位置する第1側面30c及び第1側面30cの反対側に位置する第2側面30dを有する。
上面視において、光源5の上面5aの中心C1は、透光性部材30の第1面30aの中心C2よりも透光性部材30の第2側面30d側に位置し、かつ、光源5の第1側面5cから透光性部材30の第1側面30cまでの長さL1は、透光性部材30の第1側面30cから透光性部材30の第2側面30dまでの長さL2の1/4以上である。
(【0011】以降は省略されています)
この特許をJ-PlatPat(特許庁公式サイト)で参照する
関連特許
日亜化学工業株式会社
発光装置
10日前
日亜化学工業株式会社
発光素子
11日前
日亜化学工業株式会社
配置部材、及び、発光装置
10日前
日亜化学工業株式会社
発光装置、および面状光源
11日前
日亜化学工業株式会社
半導体素子およびその製造方法
11日前
日亜化学工業株式会社
発光装置の製造方法及び発光装置
11日前
日亜化学工業株式会社
光源、発光モジュール、及び携帯端末
6日前
日亜化学工業株式会社
透光性部材の製造方法及び発光装置の製造方法
4日前
日亜化学工業株式会社
セラミックス基板の製造方法及び発光装置の製造方法
10日前
日亜化学工業株式会社
面状光源
3日前
日亜化学工業株式会社
発光装置
3日前
個人
室外機器
4か月前
個人
照明システム
3か月前
個人
車載機器の通気構造
1か月前
株式会社遠藤照明
照明装置
1か月前
株式会社遠藤照明
照明器具
5か月前
デンカ株式会社
照明装置
4か月前
株式会社小糸製作所
車両用灯具
13日前
株式会社小糸製作所
車両用灯具
13日前
能美防災株式会社
表示灯
1か月前
個人
LEDライト
3か月前
デンカ株式会社
道路用照明
4か月前
株式会社小糸製作所
誘導装置
24日前
スタンレー電気株式会社
照射用光源
17日前
株式会社小糸製作所
投光装置
1か月前
フルトラム株式会社
光学機器
12日前
アクア株式会社
冷蔵庫
2か月前
株式会社小糸製作所
投光装置
1か月前
株式会社小糸製作所
車両用灯具
4か月前
株式会社小糸製作所
車両用灯具
4か月前
株式会社小糸製作所
車両用灯具
3か月前
株式会社小糸製作所
車両用灯具
3か月前
株式会社小糸製作所
表示用灯具
17日前
株式会社小糸製作所
車両用灯具
5か月前
株式会社小糸製作所
表示用灯具
17日前
株式会社小糸製作所
車両用灯具
4か月前
続きを見る
他の特許を見る