TOP
|
特許
|
意匠
|
商標
特許ウォッチ
Twitter
他の特許を見る
10個以上の画像は省略されています。
公開番号
2025150012
公報種別
公開特許公報(A)
公開日
2025-10-09
出願番号
2024050649
出願日
2024-03-27
発明の名称
半導体素子およびその製造方法
出願人
日亜化学工業株式会社
代理人
弁理士法人新樹グローバル・アイピー
主分類
H01L
21/301 20060101AFI20251002BHJP(基本的電気素子)
要約
【課題】溝から外れた位置で割れる確率を低減することができる半導体素子の製造方法を提供する。
【解決手段】結晶構造を有する基板と、前記基板に積層された複数の半導体層と、を含む積層体を準備する工程と、前記積層体に先端が枝分かれした形状の溝を形成し、前記溝を起点として分割する工程と、を備える、半導体素子の製造方法。
【選択図】 図11
特許請求の範囲
【請求項1】
結晶構造を有する基板と、前記基板に積層された複数の半導体層と、を含む積層体を準備する工程と、
前記積層体に先端が枝分かれした形状の溝を形成し、前記溝を起点として分割する工程と、を備える、半導体素子の製造方法。
続きを表示(約 1,100 文字)
【請求項2】
前記積層体は、第1主面および第2主面を有し、
前記分割する工程において、前記第1主面に到達し前記第2主面には到達しない前記溝を形成し、前記溝が形成された前記積層体を前記第2主面の側から押圧することで、前記溝を起点として亀裂を発生させ、前記積層体を分割する、請求項1に記載の半導体素子の製造方法。
【請求項3】
前記分割する工程において、前記積層体を分割する方向は、前記基板の劈開容易方向とは異なる方向である、請求項1に記載の半導体素子の製造方法。
【請求項4】
前記半導体素子の平面視形状は、短手方向と長手方向を有する形状であり、
前記分割する工程は、前記長手方向の側面を形成する工程である、請求項1に記載の半導体素子の製造方法。
【請求項5】
前記積層体を劈開によって分割することによって、前記短手方向の側面を形成する工程を備える、請求項4に記載の半導体素子の製造方法。
【請求項6】
前記複数の半導体層は、第1導電型半導体層と、第2導電型半導体層と、前記第1導電型半導体層と前記第2導電型半導体層に挟まれた活性層と、を有し、
前記半導体素子は、半導体レーザ素子である、請求項1から5のいずれか1項に記載の半導体素子の製造方法。
【請求項7】
前記分割する工程によって形成される前記半導体素子の側面の長さは、1mm以上である、請求項1に記載の半導体素子の製造方法。
【請求項8】
前記積層体の厚さは、70μm以下である、請求項1に記載の半導体素子の製造方法。
【請求項9】
長手方向の側面と、短手方向の側面と、第1主面と、第2主面と、を有する積層体を備え、
前記長手方向の側面は、
粗面を含む第1領域と、
前記第1領域から前記第2主面に向かって伸びる複数の筋状の段差を含む第2領域と、を有し、
前記第1領域と前記第2領域の境界に複数の凹部が設けられている、半導体素子。
【請求項10】
前記長手方向の側面は、前記第1主面と交わる第1辺と、前記短手方向の側面と交わる第2辺と、前記第2主面と交わる第3辺と、を有し、
前記第1領域は、前記第1辺と一致する第1境界と、前記第2辺から離れて前記第2辺と向かい合う第2境界と、前記第3辺から離れて前記第3辺と向かい合う第3境界と、を有し、
前記複数の凹部は、前記第3境界に設けられている、請求項9に記載の半導体素子。
(【請求項11】以降は省略されています)
発明の詳細な説明
【技術分野】
【0001】
本開示は、半導体素子およびその製造方法に関する。
続きを表示(約 1,400 文字)
【背景技術】
【0002】
特許文献1には、III族窒化物半導体基板を含むウエハに分割ガイド溝を形成し、分割ガイド溝に沿ってウエハが分割されることにより、個別素子を得る方法が記載されている。
【先行技術文献】
【特許文献】
【0003】
特開2009-81428号公報
【発明の概要】
【発明が解決しようとする課題】
【0004】
本開示は、溝から外れた位置で割れる確率を低減することができる半導体素子の製造方法を提供する。また、外観異常の発生率が低減された半導体素子を提供する。
【課題を解決するための手段】
【0005】
本開示に係る半導体素子の製造方法の一態様は、結晶構造を有する基板と、前記基板に積層された複数の半導体層と、を含む積層体を準備する工程と、前記積層体に先端が枝分かれした形状の溝を形成し、前記溝を起点として分割する工程と、を備える。
【0006】
本開示に係る半導体素子の一態様は、長手方向の側面と、短手方向の側面と、第1主面と、第2主面と、を有する積層体を備え、前記長手方向の側面は、粗面を含む第1領域と、前記第1領域から前記第2主面に向かって伸びる複数の筋状の段差を含む第2領域と、を有し、前記第1領域と前記第2領域の境界に複数の凹部が設けられている。
【発明の効果】
【0007】
上述の半導体素子の製造方法によれば、溝から外れた位置で割れる確率を低減することができる。また、外観異常の発生率が低減された半導体素子を得ることができる。
【図面の簡単な説明】
【0008】
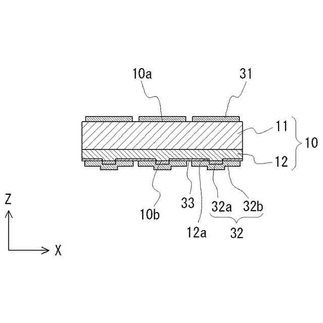
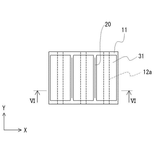
一実施形態の半導体素子の製造方法を示すフローチャートである。
一実施形態の半導体素子の製造方法を示す模式的な平面図である。
図2のIII-III線における断面図である。
一実施形態の半導体素子の製造方法を示す模式的な平面図である。
一実施形態の半導体素子の製造方法を示す模式的な平面図である。
図5のVI-VI線における断面図である。
溝の形状の一例を示す一部拡大図である。
一実施形態の半導体素子の製造方法を示す模式的な断面図である。
一実施形態の半導体素子を示す模式的な平面図である。
図9のX-X線における断面図である。
一実施形態の半導体素子を示す模式的な斜視図である。
一実施形態の半導体素子の側面を示す模式的な図である。
実施例2の半導体素子の製造方法における溝の光学顕微鏡写真である。
実施例2の半導体素子の側面の走査型電子顕微鏡(SEM)写真である。
【発明を実施するための形態】
【0009】
以下、図面を参照し、本発明の一実施形態について説明する。なお、各図面中、同じ要素には同じ符号を付している。
【0010】
図1は、本実施形態の半導体素子の製造方法を示すフローチャートである。図2から図8は、本実施形態に係る半導体素子の製造方法を説明するための模式図である。図9から図12は、本実施形態に係る半導体素子を説明するための模式図である。
(【0011】以降は省略されています)
この特許をJ-PlatPat(特許庁公式サイト)で参照する
関連特許
個人
フレキシブル電気化学素子
8日前
ローム株式会社
半導体装置
10日前
株式会社ユーシン
操作装置
8日前
ローム株式会社
半導体装置
15日前
日新イオン機器株式会社
イオン源
4日前
株式会社GSユアサ
蓄電装置
15日前
株式会社GSユアサ
蓄電設備
8日前
株式会社ホロン
冷陰極電子源
15日前
株式会社GSユアサ
蓄電設備
8日前
株式会社ホロン
冷陰極電子源
2日前
オムロン株式会社
電磁継電器
9日前
太陽誘電株式会社
全固体電池
15日前
太陽誘電株式会社
コイル部品
8日前
サクサ株式会社
電池の固定構造
8日前
日本特殊陶業株式会社
保持装置
15日前
日東電工株式会社
積層体
9日前
ノリタケ株式会社
熱伝導シート
8日前
トヨタ自動車株式会社
バッテリ
9日前
トヨタ自動車株式会社
蓄電装置
8日前
日本特殊陶業株式会社
保持装置
15日前
TDK株式会社
電子部品
15日前
ベストテック株式会社
装置支持具
8日前
トヨタ自動車株式会社
電池パック
1日前
ローム株式会社
半導体装置
10日前
古河電気工業株式会社
端子
8日前
株式会社ダイヘン
搬送装置
8日前
ローム株式会社
半導体装置
10日前
ローム株式会社
半導体装置
9日前
日本製紙株式会社
導電性フィルム
9日前
日本製紙株式会社
導電性フィルム
9日前
株式会社トクヤマ
シリコンエッチング液
2日前
株式会社トクヤマ
シリコンエッチング液
2日前
日東電工株式会社
電子装置
11日前
日本特殊陶業株式会社
電極
15日前
日本特殊陶業株式会社
電極
15日前
SMK株式会社
キートップ及びスイッチ
10日前
続きを見る
他の特許を見る