TOP
|
特許
|
意匠
|
商標
特許ウォッチ
Twitter
他の特許を見る
10個以上の画像は省略されています。
公開番号
2025153348
公報種別
公開特許公報(A)
公開日
2025-10-10
出願番号
2024055790
出願日
2024-03-29
発明の名称
出張情報受付方法および出張情報受付プログラム
出願人
富士通株式会社
代理人
個人
主分類
G06Q
10/10 20230101AFI20251002BHJP(計算;計数)
要約
【課題】出張の行程を入力する際の経路検索にかかる手間を削減すること。
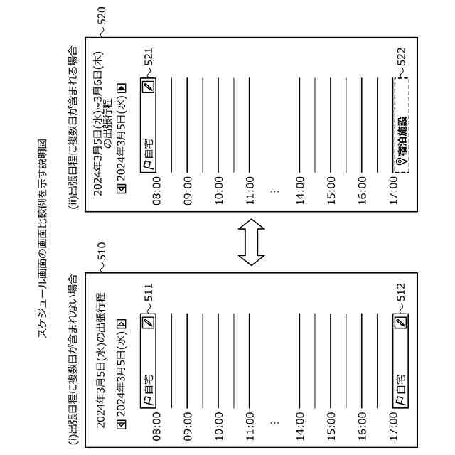
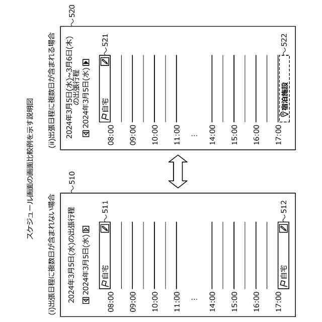
【解決手段】出張情報受付装置201は、出張日程に複数日が含まれない場合、スケジュール画面510における、出張日程に対応する帰着地ボックス512に「自宅」を設定する。一方、出張情報受付装置201は、出張日程に複数日が含まれる場合には、スケジュール画面520における、出張日程の最終日以外の日付に対応する帰着地に宿泊施設を設定するための指示部522を出力する。指示部522は、例えば、帰着地に設定する宿泊施設を指定するための操作画面に遷移するための操作ボタンである。
【選択図】図5
特許請求の範囲
【請求項1】
出張費精算システムにおける出張情報受付方法であって、
出張の日程を受け付け、
受け付けた前記日程に複数日が含まれるか否かを判断し、
前記日程に複数日が含まれる場合、前記日程に含まれる日付ごとに、当該日付における出発地と帰着地とを設定可能なスケジュール画面における、前記日程の最終日以外の日付に対応する帰着地に宿泊施設を設定するための指示部を出力する、
処理をコンピュータが実行することを特徴とする出張情報受付方法。
続きを表示(約 1,200 文字)
【請求項2】
前記指示部によって前記日程の最終日以外の第1の日付に対応する帰着地に第1の宿泊施設が設定された場合、前記スケジュール画面における、前記第1の日付の翌日に対応する出発地に、前記第1の宿泊施設を設定する、
処理を前記コンピュータが実行することを特徴とする請求項1に記載の出張情報受付方法。
【請求項3】
前記第1の宿泊施設のチェックアウト日が前記第1の日付の翌々日以降の場合、前記スケジュール画面における、前記第1の日付の翌日以降であって、前記チェックアウト日以外の日付に対応する帰着地に前記第1の宿泊施設を設定する、
処理を前記コンピュータが実行することを特徴とする請求項2に記載の出張情報受付方法。
【請求項4】
前記第1の宿泊施設のチェックアウト日が前記第1の日付の翌々日以降の場合、前記スケジュール画面における、前記第1の日付の翌日から、前記チェックアウト日までの各日付に対応する出発地に前記第1の宿泊施設を設定する、
処理を前記コンピュータが実行することを特徴とする請求項2に記載の出張情報受付方法。
【請求項5】
前記スケジュール画面における、前記日程の初日に対応する出発地に、予め指定された第1の地点を設定するとともに、前記日程の最終日に対応する帰着地に、予め指定された第2の地点を設定する、
処理を前記コンピュータが実行することを特徴とする請求項1に記載の出張情報受付方法。
【請求項6】
前記スケジュール画面は、前記日程に含まれる日付ごとに、当該日付における出発地と帰着地との間に配置され、時間の経過に沿って、縦または横に延びる帯状の入力領域を有し、当該入力領域にスケジュールデータを入力可能であり、
前記日程に含まれる日付について、前記スケジュール画面において入力された、当該日付に対応する目的地と当該目的地における滞在時間とを含むスケジュールデータを受け付け、
前記日付について、受け付けた前記スケジュールデータに基づいて、前記スケジュール画面において設定された出発地から前記目的地までの経路と、前記目的地から前記スケジュール画面において設定された帰着地までの経路とを検索し、
検索した経路検索結果を出力する、
処理を前記コンピュータが実行することを特徴とする請求項1~5のいずれか一つに記載の出張情報受付方法。
【請求項7】
出張費精算システムにおける出張情報受付方法であって、
出張の日程を受け付け、
受け付けた前記日程に複数日が含まれるか否かを判断し、
前記日程に複数日が含まれる場合、前記日程に含まれる日付ごとに、当該日付における出発地と帰着地とを設定可能なスケジュール画面における、前記日程の最終日以外の日付に対応する帰着地に宿泊施設を設定するための指示部を出力する、
処理をコンピュータに実行させることを特徴とする出張情報受付プログラム。
発明の詳細な説明
【技術分野】
【0001】
本発明は、出張情報受付方法および出張情報受付プログラムに関する。
続きを表示(約 1,900 文字)
【背景技術】
【0002】
従来、企業や役所の職員などが出張費を申請するための出張費精算システムがある。出張費は、出張することによってかかる費用であり、例えば、交通費、宿泊代、食事代などを含む。出張費精算システムでは、例えば、出張の行程が入力される。出張の行程は、利用者が出発地、目的地、時刻などを手入力して経路検索を行うことで作成される。
【0003】
先行技術としては、出発地と出発時間と目的地と最終到着地とを設定する設定手段で設定された設定値と、時刻表および移動に要する平均所要時間を含む情報を格納するデータベースに格納された情報に基づいて、最適経路検索プロセスを用いて出発地から最終到着地までの最適経路と料金を検索するものがある。
【先行技術文献】
【特許文献】
【0004】
特開2002-32443号公報
【発明の概要】
【発明が解決しようとする課題】
【0005】
しかしながら、従来技術では、出張費を申請するにあたり、出張の行程を入力する際の経路検索に手間がかかるという問題がある。
【0006】
一つの側面では、本発明は、出張の行程を入力する際の経路検索にかかる手間を削減することを目的とする。
【課題を解決するための手段】
【0007】
1つの実施態様では、出張費精算システムにおける出張情報受付方法であって、出張の日程を受け付け、受け付けた前記日程に複数日が含まれるか否かを判断し、前記日程に複数日が含まれる場合、前記日程に含まれる日付ごとに、当該日付における出発地と帰着地とを設定可能なスケジュール画面における、前記日程の最終日以外の日付に対応する帰着地に宿泊施設を設定するための指示部を出力する、出張情報受付方法が提供される。
【発明の効果】
【0008】
本発明の一側面によれば、出張の行程を入力する際の経路検索にかかる手間を削減することができるという効果を奏する。
【図面の簡単な説明】
【0009】
図1は、実施の形態にかかる出張情報受付方法の一実施例を示す説明図である。
図2は、出張費精算システム200のシステム構成例を示す説明図である。
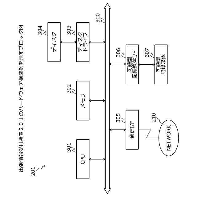
図3は、出張情報受付装置201のハードウェア構成例を示すブロック図である。
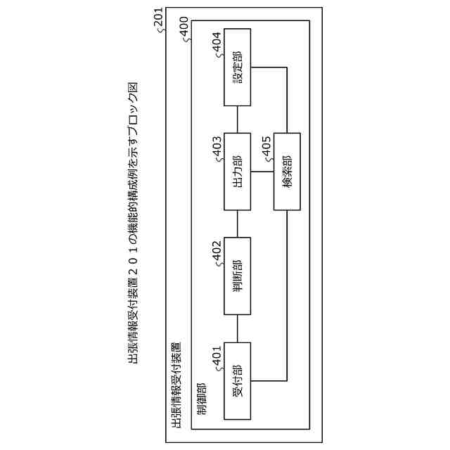
図4は、出張情報受付装置201の機能的構成例を示すブロック図である。
図5は、スケジュール画面の画面比較例を示す説明図である。
図6は、基本情報入力画面の第1の画面例を示す説明図である。
図7は、スケジュール画面の第1の画面例を示す説明図(その1)である。
図8は、スケジュール画面の第1の画面例を示す説明図(その2)である。
図9は、スケジュール画面の第1の画面例を示す説明図(その3)である。
図10は、費用入力画面の画面例を示す説明図である。
図11は、入力内容確認画面の画面例を示す説明図である。
図12は、基本情報入力画面の第2の画面例を示す説明図である。
図13は、スケジュール画面の第2の画面例を示す説明図(その1)である。
図14は、スケジュール画面の第2の画面例を示す説明図(その2)である。
図15は、スケジュール画面の第2の画面例を示す説明図(その3)である。
図16は、スケジュール画面の第2の画面例を示す説明図(その4)である。
図17は、スケジュール画面の第2の画面例を示す説明図(その5)である。
図18は、宿泊地設定画面の画面例を示す説明図(その1)である。
図19は、宿泊地設定画面の画面例を示す説明図(その2)である。
図20は、宿泊地設定画面の画面例を示す説明図(その3)である。
図21は、出張情報受付装置201の出張情報受付処理手順の一例を示すフローチャートである。
図22は、経路検索処理の具体的処理手順の一例を示すフローチャート(その1)である。
図23は、経路検索処理の具体的処理手順の一例を示すフローチャート(その2)である。
【発明を実施するための形態】
【0010】
以下に図面を参照して、本発明にかかる出張情報受付方法および出張情報受付プログラムの実施の形態を詳細に説明する。
(【0011】以降は省略されています)
この特許をJ-PlatPat(特許庁公式サイト)で参照する
関連特許
富士通株式会社
ポイントクラウド分類
1日前
富士通株式会社
電子機器筐体及び電子機器
5日前
富士通株式会社
光送信器及び光トランシーバ
5日前
富士通株式会社
テキスト案内される画像エディタ
1日前
富士通株式会社
メモリ管理装置及びメモリ管理方法
今日
富士通株式会社
出張情報受付方法および出張情報受付プログラム
5日前
富士通株式会社
探索プログラム、探索方法、および情報処理装置
5日前
富士通株式会社
並列コンピューティング・カテゴリー分けプロセス
1日前
富士通株式会社
チェックプログラム、チェック方法及び情報処理装置
5日前
富士通株式会社
光ネットワーク管理装置及び光ネットワーク管理方法
6日前
富士通株式会社
凝縮グラフ分布(CGD)に基づいたグラフ連続学習
1日前
富士通株式会社
情報出力プログラム、情報出力方法及び情報処理装置
5日前
富士通株式会社
情報処理プログラム、情報処理方法および情報処理装置
5日前
富士通株式会社
勤怠管理プログラム、勤怠管理方法および情報処理装置
5日前
富士通株式会社
勤怠管理プログラム、勤怠管理方法および情報処理装置
5日前
富士通株式会社
リスク推定プログラム、リスク推定方法および情報処理装置
5日前
富士通株式会社
マトリクススケジューラを備えるプロセッサ及び情報処理装置
5日前
富士通株式会社
訓練データ生成プログラム、機械学習プログラム、推定プログラム、方法、及び装置
5日前
富士通株式会社
オープンボキャブラリシーン及びテキストコンテンツを用いた、グラウンディングされた人間の動き生成
1日前
個人
詐欺保険
1日前
個人
縁伊達ポイン
1日前
個人
地球保全システム
14日前
個人
QRコードの彩色
5日前
個人
冷凍食品輸出支援構造
1か月前
個人
為替ポイント伊達夢貯
1か月前
個人
表変換編集支援システム
1か月前
個人
残土処理システム
7日前
個人
農作物用途分配システム
今日
個人
知財出願支援AIシステム
1か月前
個人
知的財産出願支援システム
8日前
個人
行動時間管理システム
1か月前
個人
パスワード管理支援システム
1か月前
株式会社キーエンス
受発注システム
13日前
個人
食品レシピ生成システム
13日前
個人
海外支援型農作物活用システム
26日前
株式会社キーエンス
受発注システム
13日前
続きを見る
他の特許を見る