TOP
|
特許
|
意匠
|
商標
特許ウォッチ
Twitter
他の特許を見る
10個以上の画像は省略されています。
公開番号
2025154715
公報種別
公開特許公報(A)
公開日
2025-10-10
出願番号
2024057870
出願日
2024-03-29
発明の名称
情報出力プログラム、情報出力方法及び情報処理装置
出願人
富士通株式会社
代理人
弁理士法人酒井国際特許事務所
主分類
G16H
10/00 20180101AFI20251002BHJP(特定の用途分野に特に適合した情報通信技術)
要約
【課題】条件分岐の選択肢に人の行動選択を組み込むことを課題とする。
【解決手段】情報出力プログラムは、施策に対して人物がどの行動を選択するかを示す行動選択モデルを用いて、複数の選択肢を有するルートにおける人物の流れを特定し、特定した人の流れに基づいて、施策の予測結果を示す情報を生成し、生成した施策の予測結果の情報を表示画面に出力する、処理をコンピュータに実行させる。
【選択図】図1
特許請求の範囲
【請求項1】
施策に対して人物がどの行動を選択するかを示す行動選択モデルを用いて、複数の選択肢を有するルートにおける人物の流れを特定し、
特定した前記人物の流れに基づいて、前記施策の予測結果を示す情報を生成し、
生成した前記施策の予測結果の情報を表示画面に出力する、
処理をコンピュータに実行させることを特徴とする情報出力プログラム。
続きを表示(約 2,300 文字)
【請求項2】
前記人物に関するデータを取得する処理を前記コンピュータにさらに実行させ、
前記特定する処理は、取得した人物に関するデータを施策モデルに入力したときに、前記施策に対して前記人物がどの行動を選択するかを示す行動選択モデルを用いて、ノードおよびエッジを経て、終端ノードに至るまでのルートを特定する処理を含み、
前記生成する処理は、特定したルートに基づいて、前記人物に提供するサービスに関する施策の予測結果を示す情報を生成する処理を含む、
ことを特徴とする請求項1に記載の情報出力プログラム。
【請求項3】
前記特定する処理は、前記施策に対して人物がどの行動を選択するかを示す行動選択モデルに基づいて、中間ノードを起点として分岐された末端ノードに至るまでの複数のルートそれぞれにおいて、サービスを利用する人数を予測する処理を含み、
前記生成する処理は、予測された人数と、前記人物に提供するサービスとを対応づけた施策の予測結果を示す情報を生成する処理を含む、
ことを特徴とする請求項1に記載の情報出力プログラム。
【請求項4】
ノードおよびエッジから構成されるフロー構造を有し、当該フロー構造の中間ノードに、前記施策に対して人物がどの行動を選択するかを示す行動選択モデルが対応付けられると共に、当該フロー構造の中間ノードまたは終端ノードに、前記人物に提供するサービスが対応付けられた施策モデルを取得する処理を前記コンピュータにさらに実行させ、
前記特定する処理は、取得した施策モデルに分析対象の人物に関するデータを入力したとき、前記行動選択モデルに基づいて、前記フロー構造のノードおよびエッジを辿ることで、終端ノードに至るまでのルートを特定する処理を含み、
前記生成する処理は、特定したルートを流れる人数と、前記人物に提供するサービスとを対応付けた、施策の予測結果を示す情報を生成する処理を含み、
前記出力する処理は、生成された施策の予測結果を示す情報を、前記表示画面に出力する処理を含む、
ことを特徴とする請求項1に記載の情報出力プログラム。
【請求項5】
前記特定する処理は、取得した人物に関するデータを施策モデルに入力したときに、前記行動選択モデルに基づいて、フローグラフが有するノードを流れる人数を特定し、
前記生成する処理は、特定した人数に基づいて、エッジを太くした画像を生成し、
前記出力する処理は、生成した画像を前記表示画面に表示する、
ことを特徴とする請求項1に記載の情報出力プログラム。
【請求項6】
前記生成する処理は、
前記施策が実行される前の第一の施策モデルに人物に関するデータを入力することで、フローグラフが有するノードを流れる人数を予測した、第一の予測結果を示す画像を生成する処理と、
前記施策が実行される後の第二の施策モデルに入力することで、前記施策を実行する後のフローグラフが有するノードを流れる人数を予測した、第二の予測結果を示す画像を生成する処理と、を含み、
前記出力する処理は、前記第一の予測結果を示す画像と、前記第二の予測結果を示す画像とを、前記表示画面に表示する処理を含む、
ことを特徴とする請求項1~5のいずれか1つに記載の情報出力プログラム。
【請求項7】
検討対象の施策に対応する、前記行動選択モデルを特定し、
特定された行動選択モデルを、前記施策が実行される後の第二の施策モデルが有する中間ノードに対応付けて記憶する、
処理を前記コンピュータにさらに実行させることを特徴とする請求項6に記載の情報出力プログラム。
【請求項8】
現実空間を仮想空間上に再現したデジタルツインを生成し、
生成した前記デジタルツインにおいて、前記行動選択モデルを用いて、前記複数の選択肢を有するルートにおける人物の流れのシミュレーションを実施し、
実施されたシミュレーションの結果に基づいて、前記施策の予測結果を示す情報を生成する、
処理を前記コンピュータにさらに実行させることを特徴とする請求項1に記載の情報出力プログラム。
【請求項9】
前記デジタルツインを生成する処理は、前記仮想空間上に前記現実空間と時刻同期したデジタルツインを生成し、
前記シミュレーションを実施する処理は、複数の人物それぞれに対応する複数のエージェントのそれぞれの属性情報と、施策モデルの条件分岐に関連付けられた前記行動選択モデルとを用いて、前記デジタルツイン上において、前記施策に対して、前記複数の人物のそれぞれが行動するか否かのシミュレーションを実施することで、前記条件分岐の選択肢で、前記複数の人物のそれぞれが割り振られるルートを特定し、
前記生成する処理は、特定した前記複数の人物のそれぞれが割り振られるルートを含む、前記施策の予測結果を示す情報を生成する、
ことを特徴とする請求項8に記載の情報出力プログラム。
【請求項10】
施策に対して人物がどの行動を選択するかを示す行動選択モデルを用いて、複数の選択肢を有するルートにおける人物の流れを特定し、
特定した前記人物の流れに基づいて、前記施策の予測結果を示す情報を生成し、
生成した前記施策の予測結果の情報を表示画面に出力する、
処理をコンピュータが実行することを特徴とする情報出力方法。
(【請求項11】以降は省略されています)
発明の詳細な説明
【技術分野】
【0001】
本発明は、情報出力プログラム、情報出力方法及び情報処理装置に関する。
続きを表示(約 1,400 文字)
【背景技術】
【0002】
ワークフローの1つとして、医療、介護、行政などの様々な分野で施策のターゲットとなるオブジェクト、例えばヒトなどを施策の目的を達成するためのサービスなどに割り当てる流れが図式化された施策のフローグラフが知られている。
【0003】
例えば、施策のフローグラフの開始ノードから複数の選択肢を有する条件分岐を経由して終端ノードへ至るまでのルートを施策のターゲットとする人物ごとにカウントすることで、施策の効果が予測される。
【0004】
このような条件分岐では、1つの側面として、健康診断の検査値などの量的データ、あるいは性別などのカテゴリカルデータが条件判定に用いられる。
【先行技術文献】
【特許文献】
【0005】
特開2024-1987号公報
特開2019-197372号公報
米国特許出願公開第2019/0180868号明細書
米国特許出願公開第2018/0039949号明細書
【発明の概要】
【発明が解決しようとする課題】
【0006】
しかしながら、上記の施策のフローグラフの条件分岐では、量的データやカテゴリカルデータでしか条件判定を実行することができないので、人に行動変容を促す施策で選択が変化し得る行動を条件分岐の選択肢に組み込むことが困難である。
【0007】
1つの側面では、条件分岐の選択肢に人の行動選択を組み込むことができる情報出力プログラム、情報出力方法及び情報処理装置を提供することを目的とする。
【課題を解決するための手段】
【0008】
1つの側面にかかる情報出力プログラムは、施策に対して人物がどの行動を選択するかを示す行動選択モデルを用いて、複数の選択肢を有するルートにおける人物の流れを特定し、特定した人の流れに基づいて、前記施策の予測結果を示す情報を生成し、生成した施策の予測結果の情報を表示画面に出力する、処理をコンピュータに実行させる。
【発明の効果】
【0009】
一実施形態によれば、条件分岐の選択肢に人の行動選択を組み込むことができる。
【図面の簡単な説明】
【0010】
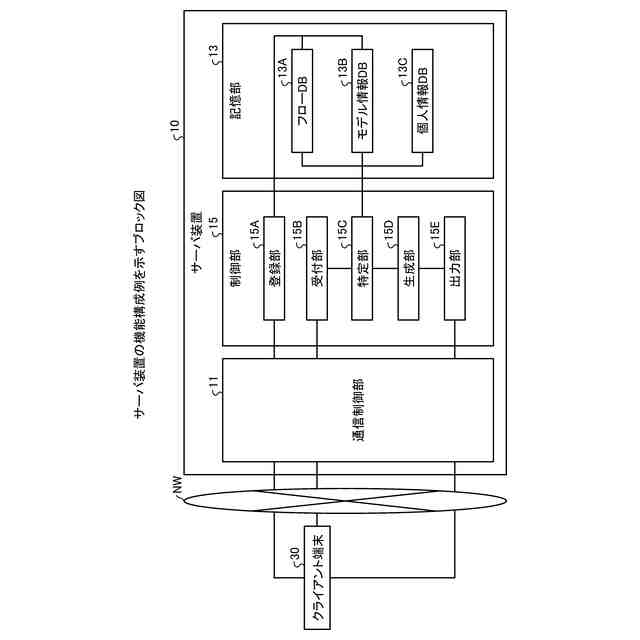
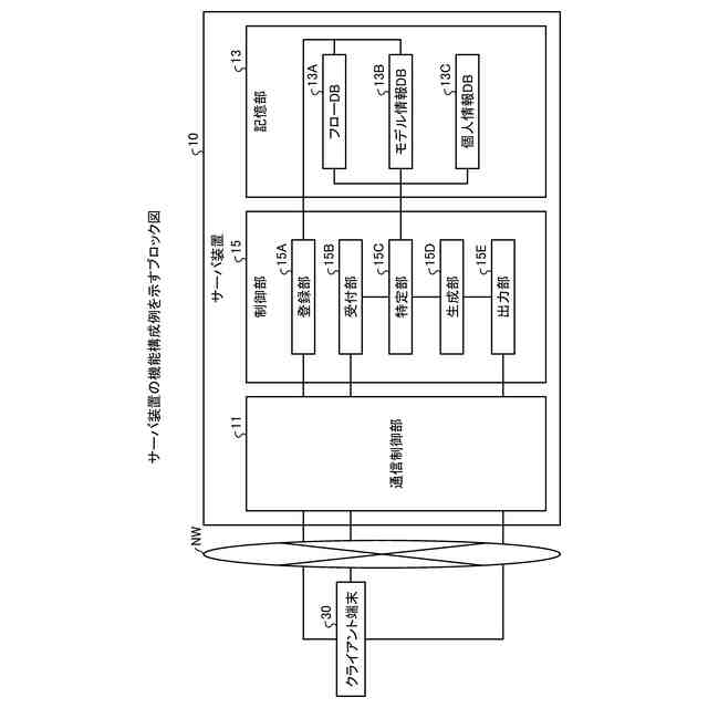
図1は、サーバ装置の機能構成例を示すブロック図である。
図2は、施策のフローグラフを例示する図である。
図3は、施策のフローグラフの具体例を示す図である。
図4は、行動変容を促すサービスの一例を示す図である。
図5は、施策フローの一例を示す図である。
図6は、行動選択モデルの設定例を示す模式図である。
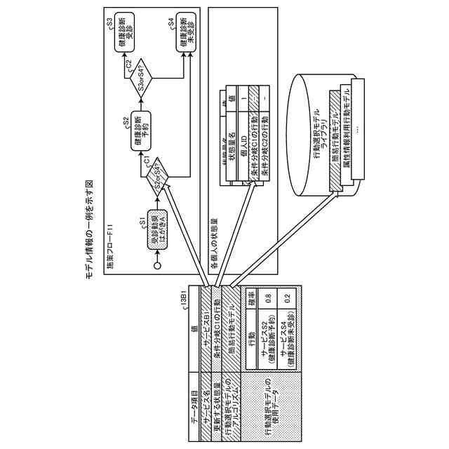
図7は、モデル情報の一例を示す図である。
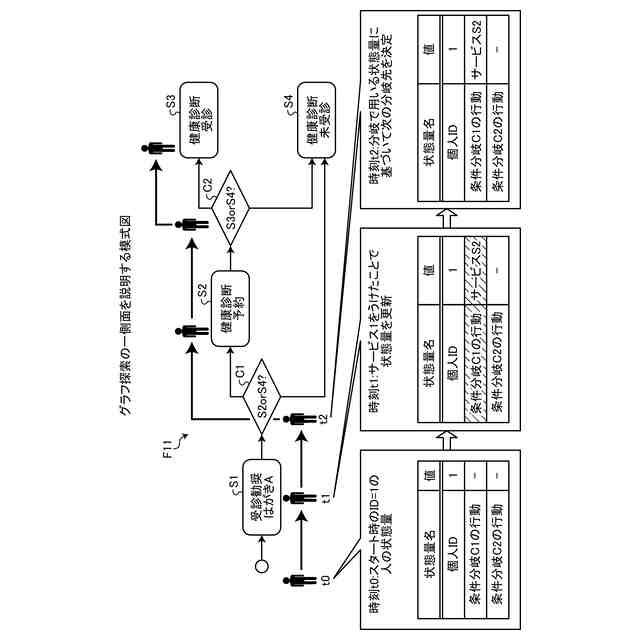
図8は、グラフ探索の一側面を説明する模式図である。
図9は、情報出力の一例を説明する模式図である。
図10は、情報出力処理の手順を示すフローチャートである。
図11は、情報出力の応用例を説明する模式図(1)である。
図12は、情報出力の応用例を説明する模式図(2)である。
図13は、情報出力の応用例を説明する模式図(3)である。
図14は、行動選択モデルの応用例を説明する模式図である。
図15は、ハードウェア構成例を示す図である。
【発明を実施するための形態】
(【0011】以降は省略されています)
この特許をJ-PlatPat(特許庁公式サイト)で参照する
関連特許
富士通株式会社
半導体装置
9日前
富士通株式会社
行列演算回路
19日前
富士通株式会社
周波数変換器
22日前
富士通株式会社
メッシュ微細化
10日前
富士通株式会社
半導体デバイス
9日前
富士通株式会社
演算器及び演算方法
10日前
富士通株式会社
ポイントクラウド分類
4日前
富士通株式会社
冷却装置及び電子機器
19日前
富士通株式会社
アレイアンテナモジュール
11日前
富士通株式会社
電子機器筐体及び電子機器
8日前
富士通株式会社
光送信器及び光トランシーバ
8日前
富士通株式会社
基板及びこれを備えた電子装置
11日前
富士通株式会社
通信制御装置及び移動中継装置
16日前
富士通株式会社
演算処理装置及び演算処理方法
1か月前
富士通株式会社
テキスト案内される画像エディタ
4日前
富士通株式会社
メモリ管理装置及びメモリ管理方法
3日前
富士通株式会社
動的多次元メディアコンテンツ投影
29日前
富士通株式会社
異常予測方法および異常予測プログラム
29日前
富士通株式会社
管理装置、管理方法、および管理プログラム
17日前
富士通株式会社
生成人工知能を使用したデータセット符号化
1か月前
富士通株式会社
演算システムおよび演算システムの制御方法
1か月前
富士通株式会社
プログラム、情報処理方法および情報処理装置
15日前
富士通株式会社
予測プログラム、予測方法および情報処理装置
1か月前
富士通株式会社
シストリック型の演算アレイ装置及び制御方法
1か月前
富士通株式会社
生成プログラム、生成方法および情報処理装置
2日前
富士通株式会社
交通シミュレーションのための方法および装置
29日前
富士通株式会社
出張情報受付方法および出張情報受付プログラム
8日前
富士通株式会社
制御プログラム、制御方法、および情報処理装置
17日前
富士通株式会社
探索プログラム、探索方法、および情報処理装置
8日前
富士通株式会社
プログラム、データ処理装置及びデータ処理方法
9日前
富士通株式会社
演算装置、情報処理装置及び演算装置の制御方法
1か月前
富士通株式会社
キャッシュ装置およびキャッシュ装置の制御方法
9日前
富士通株式会社
並列コンピューティング・カテゴリー分けプロセス
4日前
富士通株式会社
プログラム、データ処理方法およびデータ処理装置
2日前
富士通株式会社
光送信機アナログ特性の監視装置と方法及び光送信機
1か月前
富士通株式会社
凝縮グラフ分布(CGD)に基づいたグラフ連続学習
4日前
続きを見る
他の特許を見る