TOP
|
特許
|
意匠
|
商標
特許ウォッチ
Twitter
他の特許を見る
10個以上の画像は省略されています。
公開番号
2025154196
公報種別
公開特許公報(A)
公開日
2025-10-10
出願番号
2024057068
出願日
2024-03-29
発明の名称
電気化学素子の製造方法、電気化学素子、電気化学モジュール、固体酸化物形燃料電池、固体酸化物形電解セル、電気化学装置およびエネルギーシステム
出願人
大阪瓦斯株式会社
代理人
弁理士法人R&C
主分類
H01M
8/1226 20160101AFI20251002BHJP(基本的電気素子)
要約
【課題】耐久性を向上した電気化学素子、電気化学モジュール、固体酸化物形燃料電池、固体酸化物形電解セル、電気化学装置、エネルギーシステム、並びに耐久性及び性能を向上した電気化学素子の製造方法を提供する。
【解決手段】貫通孔1a内に金属支持体1の表裏面に開口する空間Sが形成されるように、貫通孔1aの少なくとも内壁に保護層1bを形成する保護層形成ステップと、保護層形成ステップ後に、金属支持体1の上に電極層2を形成する電極層形成ステップと、を含み、電極層2は、発電反応を生じさせる場合に空気極であり、電解反応を生じさせる場合に酸素発生極であり、保護層形成ステップでは、Co-Mn、Cu-Mn、Ni-Co-Mn、Ni-Mn、Zn-Co、Zn-Co-Mn、Co
3
O
4
、Co、Ni-Co、Co-Mn、Ni-Co-Mnの少なくとも何れか一つを保護材料として保護層1bを形成する。
【選択図】図1
特許請求の範囲
【請求項1】
貫通孔を有する金属支持体の上に電極層が形成された電気化学素子を製造する方法であって、
前記貫通孔内に前記金属支持体の表裏面に開口する空間が形成されるように、前記貫通孔の少なくとも内壁に保護層を形成する保護層形成ステップと、
前記保護層形成ステップ後に、前記金属支持体の上に前記電極層を形成する電極層形成ステップと、を含み、
前記電極層は、発電反応を生じさせる場合に空気極であり、電解反応を生じさせる場合に酸素発生極であり、
前記保護層形成ステップでは、Co-Mn、Cu-Mn、Ni-Co-Mn、Ni-Mn、Zn-Co、Zn-Co-Mn、Co
3
O
4
、Co、Ni-Co、Co-Mn、Ni-Co-Mnの少なくとも何れか一つを保護材料として前記保護層を形成する、電気化学素子の製造方法。
続きを表示(約 1,100 文字)
【請求項2】
前記保護層形成ステップでは、前記金属支持体の全面に前記保護層を形成する、請求項1に記載の電気化学素子の製造方法。
【請求項3】
前記保護層形成ステップでは、電着塗装法においてCo-Mn、Cu-Mn、Ni-Co-Mn、Ni-Mn、Zn-Co、Zn-Co-Mn、Co
3
O
4
の少なくとも何れか一つを前記保護材料とし、メッキ塗装法においてCo、Ni-Co、Co-Mn、Ni-Co-Mnの少なくとも何れか一つを前記保護材料として、前記保護層を形成する、請求項1に記載の電気化学素子の製造方法。
【請求項4】
貫通孔を有する金属支持体と、
前記金属支持体の上に配置された電極層と、
前記金属支持体における少なくとも前記貫通孔の内壁に形成された保護層と、を備え、
前記貫通孔内には、前記金属支持体の表裏面に開口する空間が形成されており、
前記電極層は、発電反応を生じさせる場合に空気極であり、電解反応を生じさせる場合に酸素発生極であり、
前記保護層は、Co-Mn、Cu-Mn、Ni-Co-Mn、Ni-Mn、Zn-Co、Zn-Co-Mn、Co
3
O
4
、Co、Ni-Co、Co-Mn、Ni-Co-Mnの少なくとも何れか一つを保護材料から成る、電気化学素子。
【請求項5】
前記保護層は、前記金属支持体の全面に形成されている、請求項4に記載の電気化学素子。
【請求項6】
前記電極層の上に配置された電解質層と、
前記電解質層の上に配置された対極電極層と、を少なくとも備える、請求項4又は5に記載の電気化学素子。
【請求項7】
前記電極層と前記電解質層との間に配置された中間層をさらに備える、請求項6に記載の電気化学素子。
【請求項8】
使用温度域にて所定の耐久試験期間に亘って大気雰囲気下に晒す耐久試験を実施した後に、前記表裏面に直交する断面視をエネルギー分散型X線分光法にて分析した分析結果において、前記金属支持体と前記保護層との境界の前記保護層の側での異常酸化物が検出基準以下である請求項4に記載の電気化学素子。
【請求項9】
請求項4に記載の電気化学素子が複数集合した状態で配置される、電気化学モジュール。
【請求項10】
請求項4に記載の電気化学素子を備え、前記電気化学素子で発電反応を生じさせる、固体酸化物形燃料電池。
(【請求項11】以降は省略されています)
発明の詳細な説明
【技術分野】
【0001】
本発明は、電気化学素子の製造方法、電気化学素子、電気化学モジュール、固体酸化物形燃料電池、固体酸化物形電解セル、電気化学装置およびエネルギーシステムに関する。
続きを表示(約 2,200 文字)
【背景技術】
【0002】
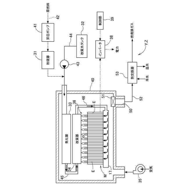
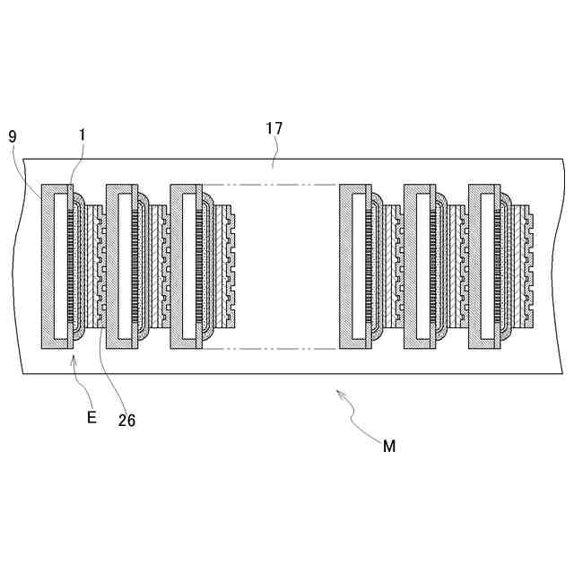
現在、電極、電解質、多孔質支持体を有する電気化学素子が、燃料電池として発電用途に、また電解セルとして電気分解用途などについて様々な研究や開発が行われている。中でも従来の電解質支持型や電極支持型の電気化学素子に比べて、薄型化や堅牢性向上のため、金属支持体の上に電極と電解質を積層した金属支持型の電気化学素子の研究開発が行われている(例えば、特許文献1~3を参照)。
特に、特許文献1には、金属支持体の上に電極と電解質を積層した金属支持型の電気化学素子において、金属支持体の表裏を貫通した複数の貫通孔が形成され、部分的に気体の透過が可能な構成が開示されている。
金属支持型の電気化学素子では、発電や電気分解に必要な物質を多孔質の金属支持体を透過させて電極に物質を供給し、電極内で電気化学反応を起こして発電や電気分解を行う。電気化学反応は反応効率の観点から高温で実施されることが多く、電気化学素子を構成する金属支持体は高温で耐久性を有することが重要である。
【先行技術文献】
【特許文献】
【0003】
特開2021-163764号公報
特開2019-197742号公報
特開2021-158026号公報
【発明の概要】
【発明が解決しようとする課題】
【0004】
電気化学素子の金属支持体は、作動時に供給物質や電気化学反応による生成物質が存在する雰囲気下に晒される。作動温度が高いことからも、作動中にこれらの物質による金属支持体の劣化が促進される。特に金属支持体の貫通孔は、穿孔時に表面が荒らされやすいことや、孔の周囲に尖った部分(エッジ)があり、貫通孔以外の電極や別の部材に接する部分に比べて劣化が促進されやすい(異常酸化が発生しやすい)。
【0005】
本発明は上記実情に鑑みなされたものであり、耐久性を向上した電気化学素子、電気化学モジュール、固体酸化物形燃料電池、固体酸化物形電解セル、電気化学装置、エネルギーシステム、並びに耐久性及び性能を向上した電気化学素子の製造方法の提供を、その目的とする。
【課題を解決するための手段】
【0006】
上記目的を達成するための電気化学素子の製造方法は、
貫通孔を有する金属支持体の上に電極層が形成された電気化学素子を製造する方法であって、その特徴構成は、
前記貫通孔内に前記金属支持体の表裏面に開口する空間が形成されるように、前記貫通孔の少なくとも内壁に保護層を形成する保護層形成ステップと、
前記保護層形成ステップ後に、前記金属支持体の上に前記電極層を形成する電極層形成ステップと、を含み、
前記電極層は、発電反応を生じさせる場合に空気極であり、電解反応を生じさせる場合に酸素発生極であり、
前記保護層形成ステップでは、Co-Mn、Cu-Mn、Ni-Co-Mn、Ni-Mn、Zn-Co、Zn-Co-Mn、Co
3
O
4
、Co、Ni-Co、Co-Mn、Ni-Co-Mnの少なくとも何れか一つを保護材料として前記保護層を形成する点にある。
【0007】
上記特徴構成によれば、保護層形成ステップを実行することで、金属支持体の貫通孔の少なくとも内壁に保護層が形成される。そのため、電気化学素子製造時や電気化学素子を構成要素とする燃料電池や電解セルなどの装置の動作時に、金属支持体の貫通孔内が劣化しにくく、製造された電気化学素子の耐久性が向上する。
加えて、保護層形成ステップにおいて、Co-Mn、Cu-Mn、Ni-Co-Mn、Ni-Mn、Zn-Co、Zn-Co-Mn、Co
3
O
4
、Co、Ni-Co、Co-Mn、Ni-Co-Mnの少なくとも何れか一つを保護材料として保護層を形成することで、特に、異常酸化が発生し易いとされる貫通孔の内壁における異常酸化の発生を、良好に抑制し、耐久性の向上を図ることができる。
以上より、耐久性が向上した電気化学素子の製造方法を実現できる。
【0008】
電気化学素子の製造方法の更なる特徴構成は、
前記保護層形成ステップでは、前記金属支持体の全面に前記保護層を形成する点にある。
【0009】
上記特徴構成によれば、金属支持体の全面が保護層に覆われる。そのため、金属支持体全面において劣化が抑えられる(異常酸化が抑えられる)。
尚、発明者らは、上記特徴構成により、後述の試験結果に示すように、金属支持体の表面における異常酸化の発生を良好に抑制できることを確認している。
【0010】
電気化学素子の製造方法の更なる特徴構成は、
前記保護層形成ステップでは、電着塗装法においてCo-Mn、Cu-Mn、Ni-Co-Mn、Ni-Mn、Zn-Co、Zn-Co-Mn、Co
3
O
4
の少なくとも何れか一つを前記保護材料とし、メッキ塗装法においてCo、Ni-Co、Co-Mn、Ni-Co-Mnの少なくとも何れか一つを前記保護材料として、前記保護層を形成する点にある。
(【0011】以降は省略されています)
この特許をJ-PlatPat(特許庁公式サイト)で参照する
関連特許
大阪瓦斯株式会社
蓄電装置
1か月前
大阪瓦斯株式会社
探査装置
6日前
大阪瓦斯株式会社
給湯装置
16日前
大阪瓦斯株式会社
燃焼装置
7日前
大阪瓦斯株式会社
フライヤー
13日前
大阪瓦斯株式会社
衣類乾燥機
1か月前
大阪瓦斯株式会社
衣類乾燥機
1か月前
大阪瓦斯株式会社
ガスコンロ
16日前
大阪瓦斯株式会社
衣類乾燥機
1か月前
大阪瓦斯株式会社
加熱調理器
1か月前
大阪瓦斯株式会社
撥水性塗料
5日前
大阪瓦斯株式会社
管理システム
7日前
大阪瓦斯株式会社
蓄電制御装置
6日前
大阪瓦斯株式会社
地中給電設備
26日前
大阪瓦斯株式会社
鮮度維持装置
26日前
大阪瓦斯株式会社
蓄電制御装置
20日前
大阪瓦斯株式会社
通信システム
3か月前
大阪瓦斯株式会社
警報システム
7日前
大阪瓦斯株式会社
警報システム
7日前
大阪瓦斯株式会社
音声出力装置
7日前
大阪瓦斯株式会社
高耐熱組成物
6日前
大阪瓦斯株式会社
ガラス複合体
8日前
大阪瓦斯株式会社
ガラス複合体
8日前
大阪瓦斯株式会社
燃料電池装置
26日前
大阪瓦斯株式会社
酸化物複合体
6日前
大阪瓦斯株式会社
異常診断装置
27日前
大阪瓦斯株式会社
住宅設備機器
1か月前
大阪瓦斯株式会社
異常診断装置
27日前
大阪瓦斯株式会社
異常診断装置
27日前
大阪瓦斯株式会社
異常診断装置
27日前
大阪瓦斯株式会社
異常診断装置
27日前
大阪瓦斯株式会社
異常診断装置
27日前
大阪瓦斯株式会社
異常診断装置
27日前
大阪瓦斯株式会社
動作制御装置
6日前
大阪瓦斯株式会社
異常診断装置
27日前
大阪瓦斯株式会社
異常診断装置
27日前
続きを見る
他の特許を見る