TOP
|
特許
|
意匠
|
商標
特許ウォッチ
Twitter
他の特許を見る
公開番号
2025154315
公報種別
公開特許公報(A)
公開日
2025-10-10
出願番号
2024057239
出願日
2024-03-29
発明の名称
材料の透過性評価方法
出願人
住友ベークライト株式会社
代理人
個人
主分類
G01N
15/08 20060101AFI20251002BHJP(測定;試験)
要約
【課題】簡便であり、新たに確立された材料の透過性評価方法を提供する。
【解決手段】本発明の材料の透過性評価方法は、水溶性成分が材料を透過する度合を評価するための、材料の透過性評価方法であって、以下の評価サンプルを準備する準備工程と、評価サンプルは、固形状の水溶性成分、フィルム状の材料、および、防水部材を有しており、固形状の水溶性成分は、表面の少なくとも一部に平面を有しており、固形状の水溶性成分の平面の少なくとも一部を、フィルム状の前記材料が被覆しており、かつ、フィルム状の材料が被覆していない固形状の水溶性成分の表面を防水部材が被覆した構造を有しており、評価サンプルを水に接触させ続ける水処理中において、フィルム状の材料を透過して水に移動した水溶性成分の量を測定する測定工程と、を含む。
【選択図】図1
特許請求の範囲
【請求項1】
水溶性成分が材料を透過する度合を評価するための、材料の透過性評価方法であって、
以下の評価サンプルを準備する準備工程と、
前記評価サンプルは、
固形状の前記水溶性成分、フィルム状の前記材料、および、防水部材を有しており、
固形状の前記水溶性成分は、表面の少なくとも一部に平面を有しており、
固形状の前記水溶性成分の前記平面の少なくとも一部を、フィルム状の前記材料が被覆しており、かつ、
フィルム状の前記材料が被覆していない固形状の前記水溶性成分の前記表面を前記防水部材が被覆した構造を有しており、
前記評価サンプルを水に接触させ続ける水処理中において、フィルム状の前記材料を透過して前記水に移動した前記水溶性成分の量を測定する測定工程と、
を含む、材料の透過性評価方法。
続きを表示(約 1,000 文字)
【請求項2】
水溶性成分が材料を透過する度合を評価するための、材料の透過性評価方法であって、
以下の評価サンプルを準備工程と、
前記評価サンプルは、
筒部と、
前記筒部の片側もしくは両側の開口に設置されたフィルム状の前記材料と、
前記筒部に収容されており、前記フィルム状の前記材料の内面に接触した状態である、前記水溶性成分を含む水溶液と、を備え、
前記評価サンプルに設置されたフィルム状の前記材料の外面を水に接触させ続ける水処理中において、フィルム状の前記材料を透過して前記水に移動した前記水溶性成分の量を測定する測定工程と、
を含む、材料の透過性評価方法。
【請求項3】
請求項1に記載の材料の透過性評価方法であって、
固形状の前記水溶性成分が、タブレットである、材料の透過性評価方法。
【請求項4】
請求項1に記載の材料の透過性評価方法であって、
固形状の前記水溶性成分の体積が、15mm
3
以上である、材料の透過性評価方法。
【請求項5】
請求項1に記載の材料の透過性評価方法であって、
固形状の前記水溶性成分の体積をVとし、水と接触可能なフィルム状の前記材料の露出面積をSとしたとき、
SおよびVが、0.01≦S/V≦200を満たす、材料の透過性評価方法。
【請求項6】
請求項2に記載の材料の透過性評価方法であって、
前記水溶液中の前記水溶性成分の濃度が、0.1mg/mL以上300mg/mL以下である、材料の透過性評価方法。
【請求項7】
請求項2に記載の材料の透過性評価方法であって、
前記評価サンプルが、複数の前記筒部を有する樹脂プレートを備える、材料の透過性評価方法。
【請求項8】
請求項1または2に記載の材料の透過性評価方法であって、
前記材料が、イオン架橋性ポリマー、イオン架橋剤、および環境分解性樹脂を含む複合材料である、材料の透過性評価方法。
【請求項9】
請求項1または2に記載の材料の透過性評価方法であって、
前記水溶性成分が、農業活性成分である、材料の透過性評価方法。
【請求項10】
請求項1または2に記載の材料の透過性評価方法であって、
前記水溶性成分が、尿素である、材料の透過性評価方法。
(【請求項11】以降は省略されています)
発明の詳細な説明
【技術分野】
【0001】
本発明は、材料の透過性評価方法に関する。
続きを表示(約 2,900 文字)
【背景技術】
【0002】
これまで被覆粒状肥料中から窒素成分が溶出する量を評価する方法について様々な開発がなされてきた。
この種の技術として、例えば、特許文献1に記載の技術が知られている。特許文献1には、土壌に10個の被覆粒状肥料を混合し、容器に充填し、これに、土壌の最大容水量の60%となるように蒸留水を添加し、静置した後、容器中の被覆粒状肥料を回収し、被覆粒状肥料内部に残留している窒素成分を分析し、窒素成分残留量から溶出率を算出した、と記載されている(特許文献1の段落0058等)。
【先行技術文献】
【特許文献】
【0003】
特開2004-345872号公報
【発明の概要】
【発明が解決しようとする課題】
【0004】
上記特許文献1に記載のような評価方法では、噴霧装置を用いて材料を粒子表面に被覆した被覆粒状肥料を用い、土壌に流出しないで被覆粒状肥料内部に残留した窒素成分の量を測定している。
しかしながら、本発明者の検討によれば、噴霧装置および土壌を用いない、簡便な評価方法について、未だに検討が十分になされていないことが判明した。
【課題を解決するための手段】
【0005】
本発明者はさらに検討したところ、評価サンプルの外部の水から分離された状態の水溶性成分が、フィルム状に成型した材料を透過し、外部の水に移動した水溶性成分の量を測定することにより、材料における水溶性成分の透過度合を簡便に評価できることを見出した。
このような知見に基づき、さらに鋭意研究したところ、
第一に、評価サンプルに、固形状の水溶性成分を使用する方法を見出し、
第二に、評価サンプルに、水溶性成分を事前に水に溶解させてなる水溶性成分を含む水溶液を使用する方法を見出し、本発明を完成するに至った。
【0006】
本発明の一態様によれば、以下の材料の透過性評価方法が提供される。
1. 水溶性成分が材料を透過する度合を評価するための、材料の透過性評価方法であって、
以下の評価サンプルを準備する準備工程と、
前記評価サンプルは、
固形状の前記水溶性成分、フィルム状の前記材料、および、防水部材を有しており、
固形状の前記水溶性成分は、表面の少なくとも一部に平面を有しており、
固形状の前記水溶性成分の前記平面の少なくとも一部を、フィルム状の前記材料が被覆しており、かつ、
フィルム状の前記材料が被覆していない固形状の前記水溶性成分の前記表面を前記防水部材が被覆した構造を有しており、
前記評価サンプルを水に接触させ続ける水処理中において、フィルム状の前記材料を透過して前記水に移動した前記水溶性成分の量を測定する測定工程と、
を含む、材料の透過性評価方法。
2. 水溶性成分が材料を透過する度合を評価するための、材料の透過性評価方法であって、
以下の評価サンプルを準備工程と、
前記評価サンプルは、
筒部と、
前記筒部の片側もしくは両側の開口に設置されたフィルム状の前記材料と、
前記筒部に収容されており、前記フィルム状の前記材料の内面に接触した状態である、前記水溶性成分を含む水溶液と、を備え、
前記評価サンプルに設置されたフィルム状の前記材料の外面を水に接触させ続ける水処理中において、フィルム状の前記材料を透過して前記水に移動した前記水溶性成分の量を測定する測定工程と、
を含む、材料の透過性評価方法。
3. 1.に記載の材料の透過性評価方法であって、
固形状の前記水溶性成分が、タブレットである、材料の透過性評価方法。
4. 1.または3.に記載の材料の透過性評価方法であって、
固形状の前記水溶性成分の体積が、15mm
3
以上である、材料の透過性評価方法。
5. 1.3.4.のいずれか一つに記載の材料の透過性評価方法であって、
固形状の前記水溶性成分の体積をVとし、水と接触可能なフィルム状の前記材料の露出面積をSとしたとき、
SおよびVが、0.01≦S/V≦200を満たす、材料の透過性評価方法。
6. 2.に記載の材料の透過性評価方法であって、
前記水溶液中の前記水溶性成分の濃度が、0.1mg/mL以上300mg/mL以下である、材料の透過性評価方法。
7. 2.または6.に記載の材料の透過性評価方法であって、
前記評価サンプルが、複数の前記筒部を有する樹脂プレートを備える、材料の透過性評価方法。
8. 1.~7.のいずれか一つに記載の材料の透過性評価方法であって、
前記材料が、イオン架橋性ポリマー、イオン架橋剤、および環境分解性樹脂を含む複合材料である、材料の透過性評価方法。
9. 1.~8.のいずれか一つに記載の材料の透過性評価方法であって、
前記水溶性成分が、農業活性成分である、材料の透過性評価方法。
10. 1.~9.のいずれか一つに記載の材料の透過性評価方法であって、
前記水溶性成分が、尿素である、材料の透過性評価方法。
11. 1.~10.のいずれか一つに記載の材料の透過性評価方法であって、
前記測定工程において、前記水溶性成分の量を吸光度法により測定する、材料の透過性評価方法。
12. 1.~11.のいずれか一つに記載の材料の透過性評価方法であって、
前記測定工程を、室温下で実施するか、または、前記水中を加温する加速条件下で実施する、材料の透過性評価方法。
13. 1.~12.のいずれか一つに記載の材料の透過性評価方法であって、
前記測定工程を、静置条件下で実施するか、または、前記水を攪拌する加速条件下で実施する、材料の透過性評価方法。
【発明の効果】
【0007】
本発明によれば、簡便であり、新たに確立された材料の透過性評価方法が提供される。
【図面の簡単な説明】
【0008】
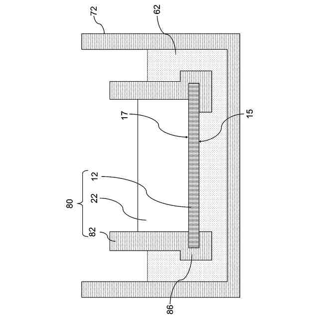
第一の実施形態に係る評価方法を説明するための模式的断面図である。
第二の実施形態に係る評価方法を説明するための模式的断面図である。
【発明を実施するための形態】
【0009】
以下、本発明の実施の形態について、図面を用いて説明する。なお、すべての図面において、同様な構成要素には同様の符号を付し、適宜説明を省略する。また、図は概略図であり、実際の寸法比率とは一致していない。
【0010】
本実施形態の材料の透過性評価方法について説明する。
(【0011】以降は省略されています)
この特許をJ-PlatPat(特許庁公式サイト)で参照する
関連特許
個人
メジャー文具
8日前
個人
アクセサリー型テスター
1日前
個人
高精度同時多点測定装置
今日
ユニパルス株式会社
ロードセル
7日前
ダイキン工業株式会社
監視装置
5日前
トヨタ自動車株式会社
監視装置
6日前
株式会社ヨコオ
ソケット
7日前
株式会社チノー
放射光測温装置
7日前
株式会社ヨコオ
ソケット
6日前
TDK株式会社
ガスセンサ
12日前
TDK株式会社
磁気センサ
6日前
TDK株式会社
ガスセンサ
7日前
長崎県
形状計測方法
1日前
日本特殊陶業株式会社
センサ
5日前
日本特殊陶業株式会社
センサ
5日前
日本特殊陶業株式会社
センサ
5日前
TDK株式会社
電磁波センサ
7日前
中国電力株式会社
電柱管理システム
5日前
日本特殊陶業株式会社
センサ
5日前
日本特殊陶業株式会社
センサ
5日前
多摩川精機株式会社
冗長エンコーダ
6日前
三菱マテリアル株式会社
温度センサ
8日前
ダイハツ工業株式会社
移動支援装置
6日前
三恵技研工業株式会社
融雪レドーム
6日前
日鉄テックスエンジ株式会社
聴音装置
7日前
住友電気工業株式会社
分析方法
8日前
コイト電工株式会社
座席濡れ検知装置
5日前
住鉱潤滑剤株式会社
液体導電率測定装置
5日前
株式会社トプコン
測定装置
6日前
株式会社トプコン
測定装置
5日前
大阪瓦斯株式会社
探査装置
6日前
ミツミ電機株式会社
超音波風速計
5日前
株式会社トプコン
測定装置
6日前
株式会社不二越
X線測定システム
今日
株式会社村田製作所
測定装置
7日前
住友精密工業株式会社
速度検出装置
6日前
続きを見る
他の特許を見る