TOP
|
特許
|
意匠
|
商標
特許ウォッチ
Twitter
他の特許を見る
10個以上の画像は省略されています。
公開番号
2025148925
公報種別
公開特許公報(A)
公開日
2025-10-08
出願番号
2024049291
出願日
2024-03-26
発明の名称
測定装置
出願人
株式会社村田製作所
代理人
個人
,
個人
,
個人
主分類
G01R
1/067 20060101AFI20251001BHJP(測定;試験)
要約
【課題】電子部品にかかる応力を抑制しつつ、電子部品の特性をより正確に測定することができる測定装置を提供する。
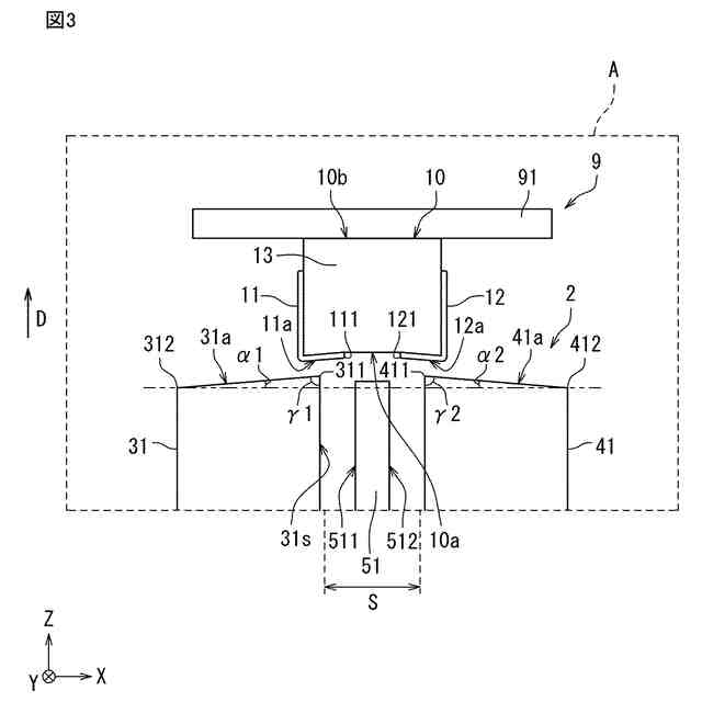
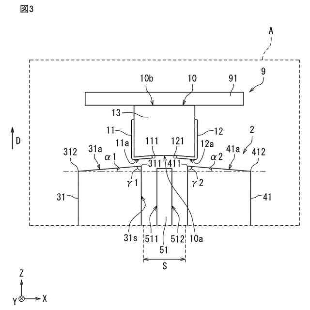
【解決手段】測定時に、電子部品10の電極形成面10aと第1方向Dに対向する測定部2を備え、測定部は、第1方向に対して直交する第2方向Xに互いに距離を空けて配置された第1端子部31および第2端子部41を備え、第1端子部は、電子部品の第1電極と接触する第1接触面31aを有し、第2端子部は、電子部品の第2電と接触する第2接触面41aを有し、第1接触面は、第2方向に沿って第1方向に向かうように傾斜した第1勾配を有し、第2接触面は、第1方向に向かうように傾斜した第2勾配を有し、第1端子部と第2端子部とが互いに近づくように移動するとき、第1端子部は第1勾配に沿ってスライド移動し、第2端子部は第2勾配に沿ってスライド移動するように構成されている。
【選択図】図3
特許請求の範囲
【請求項1】
第1電極および第2電極が設けられた電極形成面を有する電子部品の特性を測定するための測定装置であって、
測定時に、前記電極形成面と第1方向に対向するように配置される測定部を備え、
前記測定部は、
前記第1方向に対して直交する第2方向に互いに距離を空けて配置された第1端子部および第2端子部を備え、
前記第1端子部は、測定時に前記第1電極と接触する第1接触面を有し、
前記第2端子部は、測定時に前記第2電極と接触する第2接触面を有し、
前記第1接触面は、前記第2方向に沿って前記第2端子部に近づくに従って、前記第1方向に向かうように傾斜した第1勾配を有し、
前記第2接触面は、前記第2方向に沿って前記第1端子部に近づくに従って、前記第1方向に向かうように傾斜した第2勾配を有し、
前記第1端子部と前記第2端子部とが互いに近づくように移動するとき、前記第1端子部は前記第1勾配に沿ってスライド移動し、前記第2端子部は前記第2勾配に沿ってスライド移動するように構成されている、測定装置。
続きを表示(約 510 文字)
【請求項2】
前記第1端子部と前記第2端子部との間に配置されたスペーサ部をさらに備え、
前記第1端子部および前記第2端子部は、互いに近づくように移動するとき、前記スペーサ部に接触するように構成されている、請求項1に記載の測定装置。
【請求項3】
前記第2方向に対する前記第1勾配の角度、および、前記第2方向に対する前記第2勾配の角度の少なくとも一方は、3°以上5°以下である、請求項1または2に記載の測定装置。
【請求項4】
測定時に、前記電子部品を予め決められた位置で保持するように構成された保持機構をさらに備える、請求項1または2に記載の測定装置。
【請求項5】
前記保持機構に保持された前記電子部品に対して、前記第1接触面が前記第1電極に接触し、かつ、前記第2接触面が前記第2電極に接触した状態で、前記第1端子部および前記第2端子部をスライド移動させるように構成された移動機構をさらに備える、請求項4に記載の測定装置。
【請求項6】
前記第1接触面および前記第2接触面が、Agで構成されている、請求項1または2に記載の測定装置。
発明の詳細な説明
【技術分野】
【0001】
本発明は、電子部品の特性を測定するための測定装置に関する。
続きを表示(約 2,000 文字)
【背景技術】
【0002】
従来、チップ型の電子部品の特性を測定するための装置として、例えば、特許文献1に記載されたものがある。特許文献1に記載の測定装置は、測定端子の先端に形成された鈍角の尖り部を電子部品の外部電極に接触させた状態で、電子部品の電気的特性を測定するように構成されている。
【先行技術文献】
【特許文献】
【0003】
特開2003-66084号公報
【発明の概要】
【発明が解決しようとする課題】
【0004】
特許文献1の測定装置においては、電子部品にかかる応力を抑制しつつ、電子部品の特性をより正確に測定するという観点において、未だ改善の余地がある。
【0005】
本発明の目的は、前記問題を解決することにあって、電子部品にかかる応力を抑制しつつ、電子部品の特性をより正確に測定することができる測定装置を提供することにある。
【課題を解決するための手段】
【0006】
本発明の一態様に係る測定装置は、第1電極および第2電極が設けられた電極形成面を有する電子部品の特性を測定するための測定装置であって、
測定時に、前記電極形成面と第1方向に対向するように配置される測定部を備え、
前記測定部は、
前記第1方向に対して直交する第2方向に互いに距離を空けて配置された第1端子部および第2端子部を備え、
前記第1端子部は、測定時に前記第1電極と接触する第1接触面を有し、
前記第2端子部は、測定時に前記第2電極と接触する第2接触面を有し、
前記第1接触面は、前記第2方向に沿って前記第2端子部に近づくに従って、前記第1方向に向かうように傾斜した第1勾配を有し、
前記第2接触面は、前記第2方向に沿って前記第1端子部に近づくに従って、前記第1方向に向かうように傾斜した第2勾配を有し、
前記第1端子部と前記第2端子部とが互いに近づくように移動するとき、前記第1端子部は前記第1勾配に沿ってスライド移動し、前記第2端子部は前記第2勾配に沿ってスライド移動するように構成されている。
【発明の効果】
【0007】
本発明に係る測定装置によれば、電子部品にかかる応力を抑制しつつ、電子部品の特性をより正確に測定することができる。
【図面の簡単な説明】
【0008】
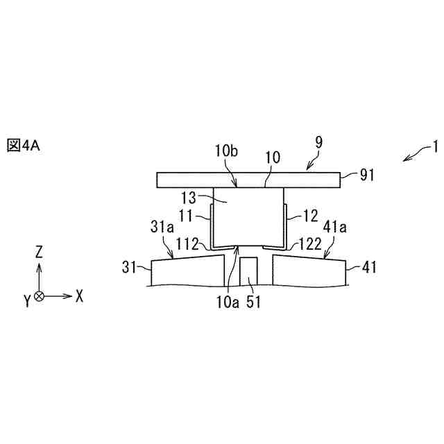
測定対象となる電子部品の一例を示す模式的な側面図である。
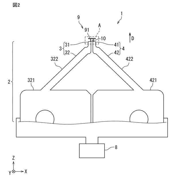
本発明による一実施形態の測定装置の一部を示す模式的な側面図である。
図2に示す領域Aの模式的な拡大側面図である。
図2の測定装置の端子部の動作を説明するための模式的な工程側面図である。
図2の測定装置の端子部の動作を示す模式的な工程側面図である。
図2の測定装置の端子部の動作を示す模式的な工程側面図である。
図2の測定装置の端子部の動作を示す模式的な工程側面図である。
参考例の測定装置の動作を示す模式的な工程側面図である。
参考例の測定装置の動作を示す模式的な工程側面図である。
参考例の測定装置の動作を示す模式的な工程側面図である。
参考例の測定装置の動作を示す模式的な工程側面図である。
図5Dに示す領域Bの模式的な拡大側面図である。
本発明による一実施形態の測定装置の模式的な上面図である。
比較例1の測定装置の一部を示す模式的な側面図である。
比較例2の測定装置の一部を示す模式的な側面図である。
実施例1の測定装置の一部を示す模式的な側面図である。
実施例3の測定装置の一部を示す模式的な側面図である。
実施例5の測定装置の一部を示す模式的な側面図である。
端子部の傾斜角度αと、電子部品にかかる最大主応力との関係を示す図である。
【発明を実施するための形態】
【0009】
(本発明の基礎となった知見)
本発明者らは、電子部品にかかる応力を抑制しつつ、電子部品の特性をより正確に測定するための測定装置の構成を鋭意検討した結果、以下の知見を得た。
【0010】
上述したように、特許文献1に記載の装置では、測定端子の尖り部を、電子部品の外部電極に接触させて測定が行われる。特許文献1には、測定端子の尖り部を外部電極に適切に食い込ませることで、外部電極表面の酸化膜や汚れの影響を受けることなく、電子部品の特性を測定することができる旨が記載されている。しかしながら、外部電極と測定端子(尖り部)との接触面積が小さいため、測定時に電子部品にかかる応力(最大主応力)が大きくなる場合がある。最大主応力が大きくなると、外部電極や素体に、割れ、欠けなどの損傷が生じる可能性がある。
(【0011】以降は省略されています)
この特許をJ-PlatPat(特許庁公式サイト)で参照する
関連特許
株式会社村田製作所
測定装置
1日前
株式会社村田製作所
電子部品
6日前
株式会社村田製作所
電池パック
1日前
株式会社村田製作所
圧力センサ装置
1日前
株式会社村田製作所
電子部品包装装置
1日前
株式会社村田製作所
積層セラミック電子部品
6日前
株式会社村田製作所
光学的パターン表示物品
6日前
株式会社村田製作所
積層インダクタの製造方法
6日前
株式会社村田製作所
高周波回路および通信装置
1日前
株式会社村田製作所
タブおよび電池モジュール
6日前
株式会社村田製作所
積層セラミックコンデンサ
2日前
株式会社村田製作所
二次電池および電池パック
2日前
株式会社村田製作所
二次電池および電池パック
2日前
株式会社村田製作所
タブおよび電池モジュール
6日前
株式会社村田製作所
電池および電池の製造方法
6日前
株式会社村田製作所
光学的パターン表示システム
6日前
株式会社村田製作所
高周波モジュール及び通信装置
6日前
株式会社村田製作所
高周波モジュール及び通信装置
6日前
株式会社村田製作所
弾性波フィルタ及び高周波回路
6日前
株式会社 東京ウエルズ
テープ送り装置及びテーピング機
2日前
日置電機株式会社
校正方法、測定装置、及びインダクタの検査方法
1日前
株式会社村田製作所
積層セラミックコンデンサ
3日前
個人
メジャー文具
2日前
個人
計量スプーン
1か月前
日本精機株式会社
位置検出装置
8日前
日本精機株式会社
位置検出装置
8日前
ユニパルス株式会社
ロードセル
1日前
日本精機株式会社
位置検出装置
8日前
大和製衡株式会社
組合せ秤
13日前
大和製衡株式会社
組合せ秤
13日前
アズビル株式会社
圧力センサ
7日前
トヨタ自動車株式会社
検査装置
10日前
トヨタ自動車株式会社
表示装置
22日前
ダイハツ工業株式会社
測定用具
1か月前
株式会社ヨコオ
ソケット
1日前
エイブリック株式会社
磁気センサ回路
7日前
続きを見る
他の特許を見る