TOP
|
特許
|
意匠
|
商標
特許ウォッチ
Twitter
他の特許を見る
10個以上の画像は省略されています。
公開番号
2025154429
公報種別
公開特許公報(A)
公開日
2025-10-10
出願番号
2024057428
出願日
2024-03-29
発明の名称
医療機器
出願人
日本ライフライン株式会社
代理人
個人
主分類
A61B
1/012 20060101AFI20251002BHJP(医学または獣医学;衛生学)
要約
【課題】シースが曲げ操作された場合において、シースに挿入された長尺体の先端がシースの軸方向に沿ってシースの基端に対して先端の位置する側に相対移動しないようにする技術を提供する。
【解決手段】医療機器1は、シース10と、長尺体とを備える。シース10は、少なくとも一部が曲げ操作可能に構成される。シース10には、長尺体の少なくとも一部を収容可能なルーメン13がある。シース10および長尺体の少なくとも一方は、長尺体の先端がシース10の軸方向に沿ってシース10の基端に対して先端の位置する側に相対移動することを阻止する阻止部を備える。
【選択図】図5
特許請求の範囲
【請求項1】
少なくとも一部が曲げ操作可能に構成されたシースと、
長尺体と、を備え、
前記シースには、前記長尺体の少なくとも一部を収容可能なルーメンがあり、
前記シースおよび前記長尺体の少なくとも一方は、前記長尺体の先端が前記シースの軸方向に沿って前記シースの基端に対して先端の位置する側に相対移動することを阻止する阻止部をさらに備える、
医療機器。
続きを表示(約 720 文字)
【請求項2】
前記阻止部は、前記シースの先端から所定距離までの領域である先端領域の少なくとも一部に配置される、
請求項1に記載の医療機器。
【請求項3】
前記阻止部は、前記長尺体の一部であって前記長尺体の先端側よりも外径の大きい拡径部と、前記ルーメンを構成する前記シースの内面の一部であって前記ルーメンの基端側よりも内径の小さい縮径部とを含み、
前記拡径部の外径は前記縮径部の内径よりも大きい、
請求項1に記載の医療機器。
【請求項4】
前記シースおよび前記長尺体の少なくとも一方は、前記阻止部が前記長尺体の先端の前記相対移動を阻止した状態において、前記長尺体の前記シースに対する周方向の少なくとも一方側への相対移動を阻止する回転阻止部をさらに備える、
請求項1に記載の医療機器。
【請求項5】
前記阻止部および前記回転阻止部の少なくとも一方は、前記長尺体の外面にある第1螺旋部と、前記ルーメンを構成する前記シースの内面にあり、前記第1螺旋部に対応する形状を有する第2螺旋部と、を含む、
請求項4に記載の医療機器。
【請求項6】
前記回転阻止部は、前記ルーメンを構成する前記シースの内面の一部であって、前記回転阻止部において前記ルーメンの軸方向に直交する平面の形状が先端側と基端側とで異なる、
請求項4に記載の医療機器。
【請求項7】
前記長尺体は、長尺状のカメラシャフトと、当該カメラシャフトの先端にある撮像素子とを含むカメラモジュールである、
請求項1から6のいずれか一項に記載の医療機器。
発明の詳細な説明
【技術分野】
【0001】
本開示は、医療機器に関する。
続きを表示(約 1,800 文字)
【背景技術】
【0002】
特許文献1には、カメラシャフトの先端に撮像素子が設けられるカメラモジュールと、カメラシャフトを挿入可能なカテーテル(以下、「シース」ともいう)とを含む内視鏡が開示されている。カメラモジュールとシースとは、互いに分離可能に構成されている。カテーテルと共に体内に挿入されカテーテルの先端から露出される撮像素子は、体内の診断部位や治療部位を撮像する。使用後のカメラモジュールは単回使用が一般的なシースから取り外し可能であり、同種の他のシースに再利用できる。
【先行技術文献】
【特許文献】
【0003】
国際公開第2021/191989号
【発明の概要】
【発明が解決しようとする課題】
【0004】
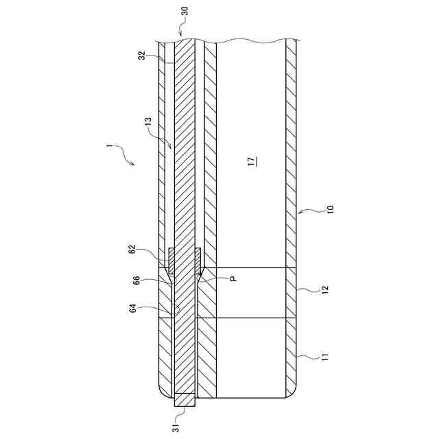
特許文献1などに記載の内視鏡に含まれるシースは、曲げ操作されることがある。具体的には、シースの先端領域で固定されたプルワイヤが引っ張られることで、シースは湾曲する。このとき、シースは軸方向に圧縮され、シースに挿入されたカメラモジュールなどの長尺体の先端は、シースの軸方向に沿ってシースの基端に対して先端の位置する側に相対移動し易い。長尺体の先端がシースの軸方向に沿ってシースの基端に対して先端の位置する側に相対移動すると、長尺体の操作性が低下し得る。
【0005】
本開示は上述の事情を鑑みてなされたものであり、その目的は、シースが曲げ操作された場合において、シースに挿入された長尺体の先端がシースの軸方向に沿ってシースの基端に対して先端の位置する側に相対移動しないようにする技術を提供することにある。
【課題を解決するための手段】
【0006】
本開示のある態様の医療機器は、少なくとも一部が曲げ操作可能に構成されたシースと、長尺体と、を備え、シースには、長尺体の少なくとも一部を収容可能なルーメンがあり、シースおよび長尺体の少なくとも一方は、長尺体の先端がシースの軸方向に沿ってシースの基端に対して先端の位置する側に相対移動することを阻止する阻止部をさらに備える。
【0007】
以上の構成要素の任意の組合せ、本開示の表現を方法、装置、システムなどの間で変換したものもまた、本開示の態様として有効である。
【発明の効果】
【0008】
本開示の医療機器は、シースが曲げ操作された場合において、シースに挿入された長尺体の先端がシースの軸方向に沿ってシースの基端に対して先端の位置する側に相対移動しないようにすることができる。
【図面の簡単な説明】
【0009】
本開示の第1実施形態に係る医療機器を模式的に示す図である。
図1に示す医療機器の先端領域を模式的に示す側面図である。
図1に示す医療機器の先端面を模式的に示す平面図である。
図2のA-A線に沿う断面図である。
図3のB-B線に沿う断面図である。
第2実施形態に係る医療機器について、図5と同様の位置における断面図である。
第3実施形態に係る医療機器について、図5と同様の位置における断面図である。
図7のC-C線に沿う断面図である。
図7のD-D線に沿う断面図である。
【発明を実施するための形態】
【0010】
以下、本開示を好適な実施の形態をもとに図面を参照しながら説明する。実施の形態は、本開示を限定するものではなく例示であって、実施の形態に記述されるすべての特徴やその組み合わせは、必ずしも本開示の本質的なものであるとは限らない。各図面に示される同一または同等の構成要素、部材、処理には、同一の符号を付するものとし、適宜重複した説明を省略する。また、各図に示す各部の縮尺や形状は、説明を容易にするために便宜的に設定されており、特に言及がない限り限定的に解釈されるものではない。また、本明細書または請求項中に「第1」、「第2」等の用語が用いられる場合には、特に言及がない限りこの用語はいかなる順序や重要度を表すものでもなく、ある構成と他の構成とを区別するためのものである。また、各図面において実施の形態を説明する上で重要ではない部材の一部は省略して表示する。
(【0011】以降は省略されています)
この特許をJ-PlatPat(特許庁公式サイト)で参照する
関連特許
個人
健康器具
8か月前
個人
短下肢装具
3か月前
個人
鼾防止用具
8か月前
個人
洗井間専家。
6か月前
個人
前腕誘導装置
3か月前
個人
白内障治療法
7か月前
個人
排尿補助器具
9日前
個人
脈波測定方法
8か月前
個人
嚥下鍛錬装置
3か月前
個人
脈波測定方法
8か月前
個人
アイマスク装置
1か月前
個人
矯正椅子
4か月前
個人
胸骨圧迫補助具
1か月前
個人
歯の修復用材料
4か月前
個人
ホバーアイロン
6か月前
個人
汚れ防止シート
24日前
個人
ウォート指圧法
7日前
個人
バッグ式オムツ
4か月前
個人
哺乳瓶冷まし容器
3か月前
個人
陣痛緩和具
3か月前
個人
湿布連続貼り機。
2か月前
三生医薬株式会社
錠剤
7か月前
個人
シャンプー
6か月前
個人
車椅子持ち上げ器
7か月前
個人
歯の保護用シール
4か月前
個人
口内洗浄具
8か月前
株式会社八光
剥離吸引管
4か月前
個人
エア誘導コルセット
1か月前
株式会社コーセー
化粧料
6日前
個人
服薬支援装置
7か月前
株式会社結心
手袋
7か月前
個人
治療用酸化防御装置
1か月前
個人
性行為補助具
2か月前
株式会社大野
骨壷
3か月前
個人
精力増強キット
28日前
株式会社ニデック
眼科装置
13日前
続きを見る
他の特許を見る