TOP
|
特許
|
意匠
|
商標
特許ウォッチ
Twitter
他の特許を見る
公開番号
2025154555
公報種別
公開特許公報(A)
公開日
2025-10-10
出願番号
2024057619
出願日
2024-03-29
発明の名称
情報処理装置、情報処理方法、及びプログラム
出願人
キヤノン株式会社
代理人
弁理士法人大塚国際特許事務所
主分類
G06Q
30/0601 20230101AFI20251002BHJP(計算;計数)
要約
【課題】デジタルコンテンツの推定価値を提示することにより、ユーザによるNFTが付与されたデジタルコンテンツの売買を支援する。
【解決手段】複数の撮像装置により取得される複数の撮像画像を用いて生成される被写体の三次元形状を示す三次元形状データに基づいて生成されるデジタルコンテンツの内容に応じた評価である、デジタルコンテンツの静的評価を示す情報を設定する。時間とともに変化しうる評価である、デジタルコンテンツの動的評価を判定する。静的評価と動的評価との双方に基づいて、デジタルコンテンツの価値を推定する。
【選択図】図1
特許請求の範囲
【請求項1】
複数の撮像装置により取得される複数の撮像画像を用いて生成される被写体の三次元形状を示す三次元形状データに基づいて生成されるデジタルコンテンツの内容に応じた評価である、前記デジタルコンテンツの静的評価を示す情報を設定する設定手段と、
時間とともに変化しうる評価である、前記デジタルコンテンツの動的評価を判定する判定手段と、
前記静的評価と前記動的評価との双方に基づいて、前記デジタルコンテンツの価値を推定する推定手段と、
を備えることを特徴とする情報処理装置。
続きを表示(約 830 文字)
【請求項2】
前記判定手段は、前記デジタルコンテンツの販売状況に応じて前記動的評価を判定することを特徴とする、請求項1に記載の情報処理装置。
【請求項3】
前記判定手段は、前記デジタルコンテンツに示される被写体の情報に応じて前記動的評価を判定することを特徴とする、請求項1に記載の情報処理装置。
【請求項4】
前記被写体の情報は、前記被写体の評価を示すことを特徴とする、請求項3に記載の情報処理装置。
【請求項5】
前記被写体の情報は、前記被写体について生成されたデジタルコンテンツの数を示すことを特徴とする、請求項3に記載の情報処理装置。
【請求項6】
前記判定手段は、時間とともに変化しうる前記三次元形状データの評価に基づいて前記動的評価を判定することを特徴とする、請求項1に記載の情報処理装置。
【請求項7】
前記判定手段は、前記三次元形状データに基づいて生成されたデジタルコンテンツの数又は販売状況に応じて前記動的評価を判定することを特徴とする、請求項1に記載の情報処理装置。
【請求項8】
前記判定手段は、前記デジタルコンテンツを作成した作成者の評価に応じて前記動的評価を判定することを特徴とする、請求項1に記載の情報処理装置。
【請求項9】
コレクションを構成する複数のデジタルコンテンツが規定されており、
前記判定手段は、ユーザが所有するデジタルコンテンツについての前記動的評価を、ユーザによる、前記コレクションを構成するデジタルコンテンツの保有状況に応じて判定することを特徴とする、請求項1に記載の情報処理装置。
【請求項10】
前記静的評価は、前記デジタルコンテンツが示すシーンの種類に応じて設定されることを特徴とする、請求項1に記載の情報処理装置。
(【請求項11】以降は省略されています)
発明の詳細な説明
【技術分野】
【0001】
本発明は情報処理装置、情報処理方法、及びプログラムに関し、特にデジタルコンテンツの評価に関する。
続きを表示(約 1,700 文字)
【背景技術】
【0002】
多視点カメラで得られる複数の撮像画像を用いて被写体の3次元形状モデルを生成するボリュメトリックキャプチャ技術が注目されている。ボリュメトリックキャプチャ技術を用いることで、仮想空間内に指定される任意の視点からの画像(以下、仮想視点画像とする)を生成することができる(特許文献1)。
【0003】
また、非代替性トークン(Non-Fungible-Token:NFT)を用いてデジタルコンテンツの所有権を証明するブロックチェーン技術に注目が集まっている。例えば、仮想空間若しくはコンピュータゲーム内のデジタルアイテム、及びデジタルアート作品などのデジタルコンテンツに対してNFTを付与することにより、これらのデジタルコンテンツの所有権を証明することができる。特許文献2は、コンピュータゲーム内の仮想オブジェクトに付与されたNFTの価値を査定する方法を開示している。NFTの所有者が、NFTが付与された仮想オブジェクトを操作してゲームにおいて活躍すると、NFTの所有者が有名になり、NFTの価値が向上する。このような仕組みを反映するために、特許文献2は、仮想オブジェクトを用いたゲーム動作の実績を示す実績情報に基づいて、仮想オブジェクトに付与されたNFTの価値を査定することを開示している。
【先行技術文献】
【特許文献】
【0004】
特開2015-45920号公報
特開2023-54812号公報
【発明の概要】
【発明が解決しようとする課題】
【0005】
ボリュメトリックキャプチャ技術を用いて生成されたデジタルコンテンツの作成者の権利を守りながら、デジタルコンテンツをユーザに提供することが求められている。この目的で、デジタルコンテンツにNFTを付与することができる。NFTが付与されたデジタルコンテンツはユーザ間で売買することが可能である。一方で、このようなNFTが付与されているデジタルコンテンツの価値の評価は容易ではなかった。
【0006】
本開示は、デジタルコンテンツの推定価値を提示することにより、ユーザによるNFTが付与されたデジタルコンテンツの売買を支援することを目的とする。
【課題を解決するための手段】
【0007】
本開示の一実施形態に係る情報処理装置は以下の構成を備える。すなわち、
複数の撮像装置により取得される複数の撮像画像を用いて生成される被写体の三次元形状を示す三次元形状データに基づいて生成されるデジタルコンテンツの内容に応じた評価である、前記デジタルコンテンツの静的評価を示す情報を設定する設定手段と、
時間とともに変化しうる評価である、前記デジタルコンテンツの動的評価を判定する判定手段と、
前記静的評価と前記動的評価との双方に基づいて、前記デジタルコンテンツの価値を推定する推定手段と、
を備える。
【発明の効果】
【0008】
デジタルコンテンツの推定価値を提示することにより、ユーザによるNFTが付与されたデジタルコンテンツの売買を支援することができる。
【図面の簡単な説明】
【0009】
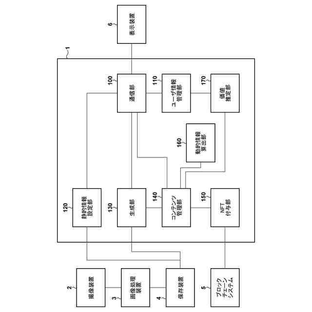
一実施形態に係る情報処理システムの構成図。
一実施形態に係る情報処理装置のハードウェア構成図。
一実施形態に係る情報処理方法のフローチャート。
ブロックチェーンの模式図。
【発明を実施するための形態】
【0010】
以下、添付図面を参照して実施形態を詳しく説明する。なお、以下の実施形態は特許請求の範囲を限定するものではない。実施形態には複数の特徴が記載されているが、これらの複数の特徴の全てが必須のものとは限らず、また、複数の特徴は任意に組み合わせられてもよい。さらに、添付図面においては、同一若しくは同様の構成に同一の参照番号を付し、重複した説明は省略する。
(【0011】以降は省略されています)
この特許をJ-PlatPat(特許庁公式サイト)で参照する
関連特許
キヤノン株式会社
トナー
10日前
キヤノン株式会社
トナー
15日前
キヤノン株式会社
トナー
10日前
キヤノン株式会社
トナー
10日前
キヤノン株式会社
定着装置
9日前
キヤノン株式会社
撮像装置
15日前
キヤノン株式会社
現像容器
8日前
キヤノン株式会社
現像装置
8日前
キヤノン株式会社
現像容器
8日前
キヤノン株式会社
現像装置
8日前
キヤノン株式会社
記録装置
15日前
キヤノン株式会社
測距装置
3日前
キヤノン株式会社
撮影装置
8日前
キヤノン株式会社
記録装置
8日前
キヤノン株式会社
電子機器
17日前
キヤノン株式会社
撮像装置
11日前
キヤノン株式会社
現像装置
1日前
キヤノン株式会社
現像剤容器
16日前
キヤノン株式会社
光学センサ
10日前
キヤノン株式会社
半導体装置
17日前
キヤノン株式会社
モジュール
10日前
キヤノン株式会社
画像形成装置
8日前
キヤノン株式会社
画像形成装置
11日前
キヤノン株式会社
画像形成装置
9日前
キヤノン株式会社
画像形成装置
11日前
キヤノン株式会社
画像処理装置
16日前
キヤノン株式会社
画像形成装置
4日前
キヤノン株式会社
画像形成装置
11日前
キヤノン株式会社
画像形成装置
11日前
キヤノン株式会社
画像形成装置
9日前
キヤノン株式会社
表示システム
16日前
キヤノン株式会社
画像表示装置
15日前
キヤノン株式会社
画像形成装置
1日前
キヤノン株式会社
画像形成装置
8日前
キヤノン株式会社
画像形成装置
16日前
キヤノン株式会社
画像形成装置
8日前
続きを見る
他の特許を見る