TOP
|
特許
|
意匠
|
商標
特許ウォッチ
Twitter
他の特許を見る
10個以上の画像は省略されています。
公開番号
2025144450
公報種別
公開特許公報(A)
公開日
2025-10-02
出願番号
2024044233
出願日
2024-03-19
発明の名称
現像剤容器
出願人
キヤノン株式会社
代理人
弁理士法人近島国際特許事務所
主分類
G03G
15/08 20060101AFI20250925BHJP(写真;映画;光波以外の波を使用する類似技術;電子写真;ホログラフイ)
要約
【課題】現像剤容器の一形態を提供する。
【解決手段】現像剤容器であって、現像剤を収容し開口部が設けられた収容部を構成する容器部材と、開口部に取り付けられる結合部材と、結合部材を介して容器部材に結合され、現像剤を外部に排出するための排出口と、前記収容部の前記開口部から前記排出口へ現像剤が通過可能に構成された通路と、を有するノズルと、を備え、容器部材及び結合部材の主成分は、紙であり、排出路形成部材の主成分は、樹脂材である。第1の位置において、整列方向に垂直な第1の断面における結合部材の断面二次極モーメントは、第2の位置において、整列方向に垂直な第2の断面における容器部材の断面二次極モーメントよりも大きい。
【選択図】図37
特許請求の範囲
【請求項1】
現像剤容器であって、
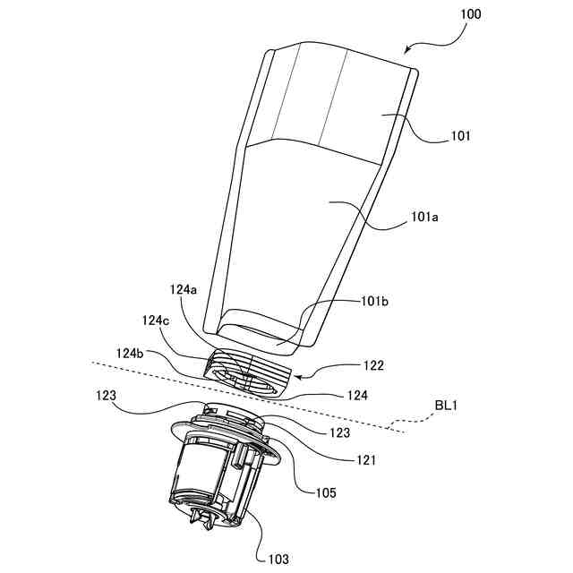
現像剤を収容し開口部が設けられた収容部を構成する容器部材と、
前記開口部に取り付けられる結合部材と、
前記結合部材を介して前記容器部材に結合され、現像剤を外部に排出するための排出口と、前記収容部の前記開口部から前記排出口へ現像剤が通過可能に構成された通路と、を有するノズルと、を備え、
前記容器部材及び前記結合部材の主成分は、紙であり、
前記ノズルの主成分は、樹脂である、
ことを特徴とする現像剤容器。
続きを表示(約 1,000 文字)
【請求項2】
前記結合部材は、シート状の複数の紙が積層されることで構成される、
ことを特徴とする請求項1に記載の現像剤容器。
【請求項3】
前記複数の紙は、前記容器部材と前記ノズルが整列する整列方向に積層されている、
ことを特徴とする請求項2に記載の現像剤容器。
【請求項4】
前記結合部材は、互いに隣接する前記複数の紙を接着するための接着層を有する、
ことを特徴とする請求項2に記載の現像剤容器。
【請求項5】
前記複数の紙は、第1の形状を有する第1の紙と、前記第1の形状とは異なる第2の形状を有する第2の紙と、を含む、
ことを特徴とする請求項2に記載の現像剤容器。
【請求項6】
前記結合部材は、貫通孔を有する被挿入部と、被係合部と、を有し、
前記ノズルは、前記被挿入部の前記貫通孔に挿入される挿入部と、前記被係合部に係合する係合部と、を有し、
前記結合部材及び前記ノズルは、前記被係合部と前記係合部とが係合することで、互いに結合されている、
ことを特徴とする請求項2に記載の現像剤容器。
【請求項7】
前記結合部材及び前記ノズルは、前記容器部材と前記ノズルが整列する整列方向に延びる回転軸線を中心とする相対回転によって前記被係合部及び前記係合部の少なくとも一方が変形し、前記被係合部と前記係合部との係合が解除されることにより、互いに分離可能に構成されている、
ことを特徴とする請求項6に記載の現像剤容器。
【請求項8】
前記複数の紙は、第1の形状を有する第1の紙と、前記第1の形状とは異なる第2の形状を有する第2の紙と、を含み、
前記第1の紙と前記第2の紙の互いに形状が異なる部分によって、前記被係合部の少なくとも一部が形成される、
ことを特徴とする請求項6に記載の現像剤容器。
【請求項9】
前記結合部材と前記ノズルとの間の隙間を封止するシール部材を更に備え、
前記シール部材は、前記結合部材及び前記ノズルが互いに分離されることで、前記結合部材及び前記ノズルから離間可能である、
ことを特徴とする請求項1に記載の現像剤容器。
【請求項10】
前記シール部材は、ポリウレタンから構成される、
ことを特徴とする請求項9に記載の現像剤容器。
(【請求項11】以降は省略されています)
発明の詳細な説明
【技術分野】
【0001】
本発明は、記録材に画像を形成する画像形成装置に用いられる現像剤容器に関する。
続きを表示(約 2,100 文字)
【背景技術】
【0002】
電子写真方式の画像形成装置では、装置本体に備えられた現像剤収容部への現像剤の補給構成として、現像剤容器としての補給パックを装置本体に装着し、補給パックから現像剤としてのトナーを装置本体の収容部に補給する構成が知られている(特許文献1)。補給パックの構成としては、可撓性を有する容器部材(パウチ)の開口部に、トナーを排出する排出路を形成する排出路形成部材を溶着等により結合し、排出路形成部材の排出口を開閉するシャッタを組付けた構成が知られている。
【先行技術文献】
【特許文献】
【0003】
特開2020-154300号公報
【発明の概要】
【発明が解決しようとする課題】
【0004】
本発明は、現像剤容器の一形態を提供することを目的とする。
【課題を解決するための手段】
【0005】
本発明は、現像剤容器であって、現像剤を収容し開口部が設けられた収容部を構成する容器部材と、前記開口部に取り付けられる結合部材と、前記結合部材を介して前記容器部材に結合され、現像剤を外部に排出するための排出口と、前記収容部の前記開口部から前記排出口へ現像剤が通過可能に構成された通路と、を有するノズルと、を備え、前記容器部材及び前記結合部材の主成分は、紙であり、前記ノズルの主成分は、樹脂である、ことを特徴とする。
【0006】
また、本発明は、現像剤容器であって、現像剤を収容し開口部が設けられた収容部を構成する容器部材と、前記開口部に取り付けられる結合部材と、前記結合部材を介して前記容器部材に結合され、現像剤を外部に排出するための排出口と、前記収容部の前記開口部から前記排出口へ現像剤が通過可能に構成された通路と、を有するノズルと、を備え、前記容器部材及び前記結合部材の主成分は、紙であり、前記ノズルの主成分は、樹脂であり、前記容器部材と前記ノズルが整列する整列方向における第1の位置において、前記整列方向に垂直な第1の断面における前記結合部材の断面二次極モーメントは、前記整列方向における第2の位置において、前記整列方向に垂直な第2の断面における前記容器部材の断面二次極モーメントよりも大きく、前記第2の位置は、前記第2の断面に前記結合部材が含まれない位置であって、前記第1の位置は、前記整列方向において前記第2の位置より前記開口部に近い位置である、ことを特徴とする。
【0007】
また、本発明は、現像剤容器であって、現像剤を収容し開口部が設けられた収容部を構成する容器部材と、前記開口部に取り付けられる結合部材と、前記結合部材を介して前記容器部材に結合され、現像剤を外部に排出するための排出口と、前記収容部の前記開口部から前記排出口へ現像剤が通過可能に構成された通路と、を有するノズルと、を備え、前記容器部材は、第1のシートと第2のシートとが重ね合わされる縁部を有し、前記第1のシート及び前記第2のシートを含む複数のシートによって袋状に形成され、前記容器部材の前記縁部は、前記第1のシートの一端部を包むように前記第2のシートが折り返され、前記第1のシートの前記一端部と前記第2のシートとが接合されることで構成される、ことを特徴とする。
【0008】
また、本発明は、現像剤容器であって、現像剤を収容し開口部が設けられた収容部を構成する容器部材と、前記開口部に取り付けられる結合部材と、前記結合部材を介して前記容器部材に結合され、現像剤を外部に排出するための排出口と、前記収容部の前記開口部から前記排出口へ現像剤が通過可能に構成された通路と、を有するノズルと、を備え、前記容器部材は、第1のシートと第2のシートとが重ね合わされる縁部を有し、前記第1のシート及び前記第2のシートを含む複数のシートによって袋状に形成され、前記容器部材の前記縁部は、互いに重ね合わされた前記第1のシート及び前記第2のシートの外面に塗布されることで形成される保護層を有する、ことを特徴とする。
【0009】
また、本発明は、現像剤容器であって、現像剤を収容し開口部が設けられた収容部を構成する容器部材と、前記開口部に取り付けられる結合部材と、前記結合部材を介して前記容器部材に結合され、現像剤を外部に排出するための排出口と、前記収容部の前記開口部から前記排出口へ現像剤が通過可能に構成された通路と、を有するノズルと、を備え、前記容器部材は、第1のシートと第2のシートとが重ね合わされる縁部を有し、前記第1のシート及び前記第2のシートを含む複数のシートによって袋状に形成され、前記容器部材の前記縁部は、互いに重ね合わされた前記第1のシート及び前記第2のシートを挟持するクリップ部材を含む、ことを特徴とする。
【発明の効果】
【0010】
本発明によると、現像剤容器の一形態を提供することができる。
【図面の簡単な説明】
(【0011】以降は省略されています)
この特許をJ-PlatPat(特許庁公式サイト)で参照する
関連特許
キヤノン株式会社
トナー
1か月前
キヤノン株式会社
電子機器
4日前
キヤノン株式会社
撮像装置
1か月前
キヤノン株式会社
電子機器
2日前
キヤノン株式会社
撮像装置
16日前
キヤノン株式会社
撮像装置
1か月前
キヤノン株式会社
電子機器
16日前
キヤノン株式会社
記録装置
16日前
キヤノン株式会社
撮像装置
15日前
キヤノン株式会社
電子機器
1か月前
キヤノン株式会社
記録装置
15日前
キヤノン株式会社
撮像装置
14日前
キヤノン株式会社
電子機器
23日前
キヤノン株式会社
電子機器
28日前
キヤノン株式会社
発光装置
7日前
キヤノン株式会社
表示装置
7日前
キヤノン株式会社
撮像装置
25日前
キヤノン株式会社
収容装置
8日前
キヤノン株式会社
定着装置
8日前
キヤノン株式会社
電子機器
8日前
キヤノン株式会社
電子機器
8日前
キヤノン株式会社
撮像装置
8日前
キヤノン株式会社
電子機器
25日前
キヤノン株式会社
定着装置
14日前
キヤノン株式会社
光学装置
28日前
キヤノン株式会社
現像装置
1か月前
キヤノン株式会社
定着装置
23日前
キヤノン株式会社
定着装置
23日前
キヤノン株式会社
撮像装置
28日前
キヤノン株式会社
定着装置
23日前
キヤノン株式会社
半導体装置
2日前
キヤノン株式会社
容器構造体
1か月前
キヤノン株式会社
容器構造体
1か月前
キヤノン株式会社
現像剤容器
1日前
キヤノン株式会社
画像形成装置
4日前
キヤノン株式会社
画像形成装置
4日前
続きを見る
他の特許を見る