TOP
|
特許
|
意匠
|
商標
特許ウォッチ
Twitter
他の特許を見る
10個以上の画像は省略されています。
公開番号
2025144451
公報種別
公開特許公報(A)
公開日
2025-10-02
出願番号
2024044234
出願日
2024-03-19
発明の名称
画像形成装置
出願人
キヤノン株式会社
代理人
弁理士法人近島国際特許事務所
主分類
G03G
21/00 20060101AFI20250925BHJP(写真;映画;光波以外の波を使用する類似技術;電子写真;ホログラフイ)
要約
【課題】トナー消費量の算出精度を向上させることが可能な画像形成装置を提供する。
【解決手段】感光体と、トナーを収容するトナー収容部と、前記トナー収容部に収容されている前記トナーを担持して前記感光体に供給し、前記感光体上の潜像をトナー像へ現像する現像部材と、トナーを収容している補給容器を装着可能な装着部であって、前記補給容器の少なくとも一部が画像形成装置の外部にある状態で前記補給容器から前記トナー収容部へのトナー補給が行われることを許容する装着部と、前記トナー像を構成する画素の数に相関するカウント値に係数を乗算することでトナー消費量を算出する制御部と、を備え、前記制御部は、前記トナー補給が行われた場合に前記係数の値を変更する、ことを特徴とする画像形成装置である。
【選択図】図10
特許請求の範囲
【請求項1】
感光体と、
トナーを収容するトナー収容部と、
前記トナー収容部に収容されている前記トナーを担持して前記感光体に供給し、前記感光体上の潜像をトナー像へ現像する現像部材と、
トナーを収容している補給容器を装着可能な装着部であって、前記補給容器の少なくとも一部が画像形成装置の外部にある状態で前記補給容器から前記トナー収容部へのトナー補給が行われることを許容する装着部と、
前記トナー像を構成する画素の数に相関するカウント値に係数を乗算することでトナー消費量を算出する制御部と、
を備え、
前記制御部は、前記トナー補給が行われた場合に前記係数の値を変更する、
ことを特徴とする画像形成装置。
続きを表示(約 1,300 文字)
【請求項2】
前記制御部は、前記トナー補給が行われた後の前記係数の値を、前記トナー補給が行われる前の前記係数の値よりも小さな値とする、
ことを特徴とする請求項1に記載の画像形成装置。
【請求項3】
前記トナー補給が行われた後に前記現像部材に担持されている前記トナーの平均帯電量は、前記トナー補給が行われる前に前記現像部材に担持されている前記トナーの平均帯電量よりも絶対値が大きい、
ことを特徴とする請求項2に記載の画像形成装置。
【請求項4】
前記制御部は、前記トナー補給が行われる度に前記係数の値を小さくする、
ことを特徴とする請求項2に記載の画像形成装置。
【請求項5】
前記制御部は、同一の画像データに基づいて画像形成動作を繰り返し実行する場合に、前記トナー補給が行われた後の前記画像形成動作におけるトナー消費量の算出結果が、前記トナー補給が行われた後の前記画像形成動作におけるトナー消費量の算出結果よりも少なくなるように、前記トナー補給が行われた時に前記係数の値を変更する、
ことを特徴とする請求項1に記載の画像形成装置。
【請求項6】
前記制御部は、今回の前記トナー補給が行われた後で前記係数の値を今回の前記トナー補給が行われる前の前記係数の値である第1の値よりも小さな第2の値に変更した後、次回のトナー補給が行われる前に、前記係数の値を前記第2の値よりも大きな第3の値に変更する、
ことを特徴とする請求項1に記載の画像形成装置。
【請求項7】
前記制御部は、前記トナー補給が行われた後の前記係数の値を、前記トナー補給が行われる前の前記係数の値よりも大きな値とする、
ことを特徴とする請求項1に記載の画像形成装置。
【請求項8】
帯電部材と、
前記感光体の表面を帯電させるための第1電圧を前記帯電部材に印加する第1電圧印加部と、
前記潜像を現像するための第2電圧を前記現像部材に印加する第2電圧印加部と、
を更に備え、
前記制御部は、前記トナー補給が行われた場合に前記第1電圧及び前記第2電圧の少なくとも一方を変更する、
ことを特徴とする請求項1に記載の画像形成装置。
【請求項9】
前記第1電圧を印加された前記帯電部材による帯電後の前記感光体の表面電位を第1電位とし、前記第2電圧を印加された前記現像部材の電位を第2電位として、
前記制御部は、前記トナー補給が行われた場合に、前記第1電位と前記第2電位との間の電位差が広がるように前記第1電圧及び前記第2電圧の前記少なくとも一方を変更する、
ことを特徴とする請求項8に記載の画像形成装置。
【請求項10】
前記制御部は、今回の前記トナー補給が行われた後で前記電位差が広がるように前記第1電圧及び前記第2電圧の前記少なくとも一方を変更した後、次回のトナー補給が行われる前に、前記電位差が狭まるように前記第1電圧及び前記第2電圧の少なくとも一方を変更する、
ことを特徴とする請求項9に記載の画像形成装置。
(【請求項11】以降は省略されています)
発明の詳細な説明
【技術分野】
【0001】
本発明は、記録材に画像を形成する画像形成装置に関する。
続きを表示(約 1,900 文字)
【背景技術】
【0002】
画像形成装置内部で現像剤としてのトナーを収容するトナー収容部に対し、画像形成装置の外部から補給容器を用いてトナーを補給する補給方式(トナー補給方式、外部補給方式)が知られている。特許文献1には、現像剤収容室と、現像剤供給ボトルを着脱可能な取り付け口とを有し、現像剤供給ボトルを取り付け口に取り付けた場合にボトル内の現像剤が自重で現像剤収容室に移動するように構成された画像形成装置が記載されている。
【先行技術文献】
【特許文献】
【0003】
特開2020-86450号公報
【発明の概要】
【発明が解決しようとする課題】
【0004】
画像形成装置の制御部がトナー収容部におけるトナーの残量を把握する方法として、トナー像が形成される画素の数に基づいてトナーの消費量を算出するドットカウント方式(ピクセルカウント方式とも呼ばれる)がある。しかし、トナーの補給が行われた場合に、ドットカウント方式で算出されたトナーの消費量が実際の消費量からずれるケースがあった。
【0005】
そこで、本発明は、トナー消費量の算出精度を向上させることが可能な画像形成装置を提供することを目的とする。
【課題を解決するための手段】
【0006】
本発明の一態様は、感光体と、トナーを収容するトナー収容部と、前記トナー収容部に収容されている前記トナーを担持して前記感光体に供給し、前記感光体上の潜像をトナー像へ現像する現像部材と、トナーを収容している補給容器を装着可能な装着部であって、前記補給容器の少なくとも一部が画像形成装置の外部にある状態で前記補給容器から前記トナー収容部へのトナー補給が行われることを許容する装着部と、前記トナー像を構成する画素の数に相関するカウント値に係数を乗算することでトナー消費量を算出する制御部と、を備え、前記制御部は、前記トナー補給が行われた場合に前記係数の値を変更する、ことを特徴とする画像形成装置である。
【発明の効果】
【0007】
本発明によれば、トナー消費量の算出精度を向上させることが可能な画像形成装置を提供することができる。
【図面の簡単な説明】
【0008】
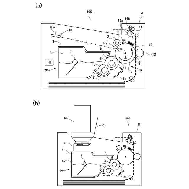
実施例1に係る画像形成装置の概略図(a)、及びトナーパックを装着した画像形成装置の概略図(b)。
実施例1に係る現像容器及びトナーパックの説明図(a、b)。
実施例1に係る現像容器及びトナーパックの説明図(a、b)。
実施例1に係るトナーパックの説明図。
実施例1及び変形例に係るトナーパック説明図(a~c)。
実施例1に係る画像形成装置の制御構成を示すブロック図。
実施例1に係る残量表示パネルの説明図(a~c)。
実施例1に係る残量表示部の画面表示の例。
実施例1におけるトナー残量とトナー残量表示の推移例を示すグラフ(a~c)。
実施例1に係る制御方法を示すフローチャート。
実施例2に係る帯電電圧及び現像電圧の制御例を示す図。
実施例2におけるトナー残量表示の推移例を示すグラフ。
変形例1におけるトナー残量とトナー残量表示の推移例を示すグラフ(a、b)。
変形例2におけるハーフトーン画像の濃度変動の説明図(a)及び係数kの判断フローを示す図(b)。
変形例2におけるトナー残量とトナー残量表示の推移例を示すグラフ(a~d)。
【発明を実施するための形態】
【0009】
以下、本開示に係る実施形態について、図面を参照しながら説明する。
【0010】
《実施例1》
本開示の実施例1について説明する。図1(a)は実施例1に係る画像形成装置100を示す概略図である。画像形成装置100は、電子写真方式のモノクロレーザビームプリンタである。画像形成装置100は、外部のコンピュータから入力された画像データ(画像情報)に基づいて、記録材Pに画像を形成する。記録材P(記録媒体)としては、普通紙及び厚紙等の紙、コート紙のような表面処理が施されたシート材、封筒やインデックス紙等の特殊形状のシート材、プラスチックフィルム、布等、サイズ及び材質の異なる多様なシート材を使用可能である。本実施例の画像形成装置100が画像形成可能な記録材Pの最大サイズは、記録材搬送方向と直交する幅方向の長さでレターサイズ(215.9mm)である。
(【0011】以降は省略されています)
この特許をJ-PlatPat(特許庁公式サイト)で参照する
関連特許
キヤノン株式会社
トナー
2日前
キヤノン株式会社
トナー
1か月前
キヤノン株式会社
記録装置
2日前
キヤノン株式会社
表示装置
9日前
キヤノン株式会社
撮像装置
18日前
キヤノン株式会社
電子機器
4日前
キヤノン株式会社
定着装置
10日前
キヤノン株式会社
電子機器
27日前
キヤノン株式会社
撮像装置
10日前
キヤノン株式会社
撮像装置
27日前
キヤノン株式会社
光学機器
1か月前
キヤノン株式会社
現像装置
1か月前
キヤノン株式会社
電子機器
1か月前
キヤノン株式会社
電子機器
10日前
キヤノン株式会社
電子機器
10日前
キヤノン株式会社
定着装置
25日前
キヤノン株式会社
定着装置
25日前
キヤノン株式会社
定着装置
25日前
キヤノン株式会社
撮像装置
1か月前
キヤノン株式会社
電子機器
1か月前
キヤノン株式会社
収容装置
10日前
キヤノン株式会社
発光装置
9日前
キヤノン株式会社
発光装置
1か月前
キヤノン株式会社
撮像装置
1か月前
キヤノン株式会社
電子機器
1か月前
キヤノン株式会社
撮像装置
16日前
キヤノン株式会社
記録装置
17日前
キヤノン株式会社
撮像装置
17日前
キヤノン株式会社
光学装置
1か月前
キヤノン株式会社
撮像装置
1か月前
キヤノン株式会社
定着装置
16日前
キヤノン株式会社
撮像装置
2日前
キヤノン株式会社
記録装置
18日前
キヤノン株式会社
電子機器
6日前
キヤノン株式会社
電子機器
25日前
キヤノン株式会社
電子機器
18日前
続きを見る
他の特許を見る