TOP
|
特許
|
意匠
|
商標
特許ウォッチ
Twitter
他の特許を見る
公開番号
2025144117
公報種別
公開特許公報(A)
公開日
2025-10-02
出願番号
2024043736
出願日
2024-03-19
発明の名称
表示システム
出願人
キヤノン株式会社
代理人
個人
主分類
G06T
19/00 20110101AFI20250925BHJP(計算;計数)
要約
【課題】ウェアラブルデバイスに表示される画像において、注目されている被写体を認識できるようにする。
【解決手段】情報処理装置は、複数のウェアラブルデバイスに表示される画像と複数のウェアラブルデバイスを装着した複数のユーザの視線情報を受信する第1の通信手段と、画像と複数のユーザの視線情報を基に、注目されている被写体を決定する第1の決定手段とを有し、第1の通信手段は、注目されている被写体の情報を複数のウェアラブルデバイスに送信し、複数のウェアラブルデバイスの各々は、ウェアラブルデバイスを装着したユーザの視線情報を情報処理装置に送信し、注目されている被写体の情報を受信する第2の通信手段と、ウェアラブルデバイスに表示される画像に対して、注目されている被写体を示す情報を重畳表示するように制御する表示制御手段とを有する。
【選択図】図8
特許請求の範囲
【請求項1】
情報処理装置と、
複数のウェアラブルデバイスとを有する表示システムであって、
前記情報処理装置は、
前記複数のウェアラブルデバイスに表示される画像と前記複数のウェアラブルデバイスを装着した複数のユーザの視線情報を受信する第1の通信手段と、
前記画像と前記複数のユーザの視線情報を基に、注目されている被写体を決定する第1の決定手段とを有し、
前記第1の通信手段は、前記注目されている被写体の情報を前記複数のウェアラブルデバイスに送信し、
前記複数のウェアラブルデバイスの各々は、
前記ウェアラブルデバイスを装着したユーザの視線情報を前記情報処理装置に送信し、前記注目されている被写体の情報を受信する第2の通信手段と、
前記ウェアラブルデバイスに表示される画像に対して、前記注目されている被写体を示す情報を重畳表示するように制御する表示制御手段と
を有することを特徴とする表示システム。
続きを表示(約 1,500 文字)
【請求項2】
前記第1の決定手段は、前記画像と前記複数のユーザの視線情報を基に、注目されている複数の被写体とその注目順位を決定し、
前記第1の通信手段は、前記注目されている複数の被写体の情報とその注目順位を前記複数のウェアラブルデバイスに送信し、
前記第2の通信手段は、前記注目されている複数の被写体の情報とその注目順位を受信し、
前記表示制御手段は、前記ウェアラブルデバイスに表示される画像に対して、前記注目されている複数の被写体とその注目順位を示す情報を重畳表示するように制御することを特徴とする請求項1に記載の表示システム。
【請求項3】
前記複数のウェアラブルデバイスの各々は、前記注目されている複数の被写体の情報とその注目順位を示す画像を生成する画像生成手段をさらに有し、
前記表示制御手段は、前記ウェアラブルデバイスに表示される画像に対して、前記画像生成手段により生成された画像を重畳表示するように制御することを特徴とする請求項2に記載の表示システム。
【請求項4】
前記第1の決定手段は、前記複数のユーザの視線情報と前記注目されている複数の被写体の情報を基に、前記複数の被写体の注目順位を決定することを特徴とする請求項2に記載の表示システム。
【請求項5】
前記被写体の情報は、被写体の知名度と成績の少なくともいずれか1つを含むことを特徴とする請求項4に記載の表示システム。
【請求項6】
前記表示制御手段は、前記ウェアラブルデバイスに表示される画像において、被写体以外の領域に、前記注目されている複数の被写体の情報とその注目順位を重畳表示するように制御することを特徴とする請求項2に記載の表示システム。
【請求項7】
前記表示制御手段は、前記ウェアラブルデバイスに表示される画像において、前記注目されている複数の被写体の領域に対して、他の被写体と識別可能な情報を重畳表示するように制御することを特徴とする請求項2に記載の表示システム。
【請求項8】
前記表示制御手段は、前記ウェアラブルデバイスに表示される画像において、前記注目されている複数の被写体の領域に対して、前記注目順位に基づく情報を重畳表示するように制御することを特徴とする請求項7に記載の表示システム。
【請求項9】
前記第2の通信手段は、前記ウェアラブルデバイスに表示される画像において、前記注目されている被写体が存在しない場合、前記注目されている被写体の位置情報を前記情報処理装置から受信し、
前記表示制御手段は、前記ウェアラブルデバイスに表示される画像において、前記注目されている被写体が存在しない場合、前記注目されている被写体が存在する方向を示す情報を重畳表示するように制御することを特徴とする請求項7に記載の表示システム。
【請求項10】
前記情報処理装置は、前記複数のウェアラブルデバイスに表示される画像の中から、前記注目されている被写体のベストショット画像を決定する第2の決定手段をさらに有し、
前記第1の通信手段は、前記ベストショット画像を前記複数のウェアラブルデバイスに送信し、
前記第2の通信手段は、前記ベストショット画像を受信し、
前記表示制御手段は、前記ウェアラブルデバイスに表示される画像に対して、前記ベストショット画像を重畳表示するように制御することを特徴とする請求項1に記載の表示システム。
(【請求項11】以降は省略されています)
発明の詳細な説明
【技術分野】
【0001】
本開示は、表示システム、情報処理装置、ウェアラブルデバイス、表示システムの処理方法及びプログラムに関する。
続きを表示(約 2,100 文字)
【背景技術】
【0002】
近年、頭部装着型表示装置(Head Mounted Display:HMD)、眼鏡型表示装置(ARグラス)などのウェアラブルデバイスが提供されている。また、ウェアラブルデバイスによる、拡張現実(Augmented Reality:AR)や複合現実(Mixed Reality:MR)の技術を用いたサービスが、数多く提供されている。
【0003】
例えば、CGモデルによるコンサート、といったような、複数のウェアラブルデバイスを装着したユーザで、共通の仮想空間コンテンツを楽しむサービス、などがある。また、スポーツの試合、といったような現実空間のイベントにおいても、ウェアラブルデバイスを装着し、視聴映像に表示される補助情報の活用によって、試合観戦を楽しむサービス、などもある。
【0004】
特許文献1には、HMDを装着した複数のユーザの視線を集計し、その集計結果に基づいて、仮想空間コンテンツのダイジェスト映像を生成する技術が開示されている。
【先行技術文献】
【特許文献】
【0005】
特許第6462059号公報
【発明の概要】
【発明が解決しようとする課題】
【0006】
しかしながら、特許文献1にある技術では、集計した複数ユーザの視線情報を、各ユーザの視聴映像に反映できない課題がある。例えば、視聴コンテンツの注目領域の特定や、注目領域に合わせた各ユーザの視聴映像の画作りを最適にすること、が困難である。
【0007】
本開示の目的は、ウェアラブルデバイスに表示される画像において、注目されている被写体を認識できるようにすることである。
【課題を解決するための手段】
【0008】
表示システムは、情報処理装置と、複数のウェアラブルデバイスとを有する表示システムであって、前記情報処理装置は、前記複数のウェアラブルデバイスに表示される画像と前記複数のウェアラブルデバイスを装着した複数のユーザの視線情報を受信する第1の通信手段と、前記画像と前記複数のユーザの視線情報を基に、注目されている被写体を決定する第1の決定手段とを有し、前記第1の通信手段は、前記注目されている被写体の情報を前記複数のウェアラブルデバイスに送信し、前記複数のウェアラブルデバイスの各々は、前記ウェアラブルデバイスを装着したユーザの視線情報を前記情報処理装置に送信し、前記注目されている被写体の情報を受信する第2の通信手段と、前記ウェアラブルデバイスに表示される画像に対して、前記注目されている被写体を示す情報を重畳表示するように制御する表示制御手段とを有する。
【発明の効果】
【0009】
本開示によれば、ウェアラブルデバイスに表示される画像において、注目されている被写体を認識することができる。
【図面の簡単な説明】
【0010】
情報処理装置とウェアラブルデバイスの構成例を示すブロック図である。
ウェアラブルデバイスを示す外観図である。
イベント視聴の事例を示す図である。
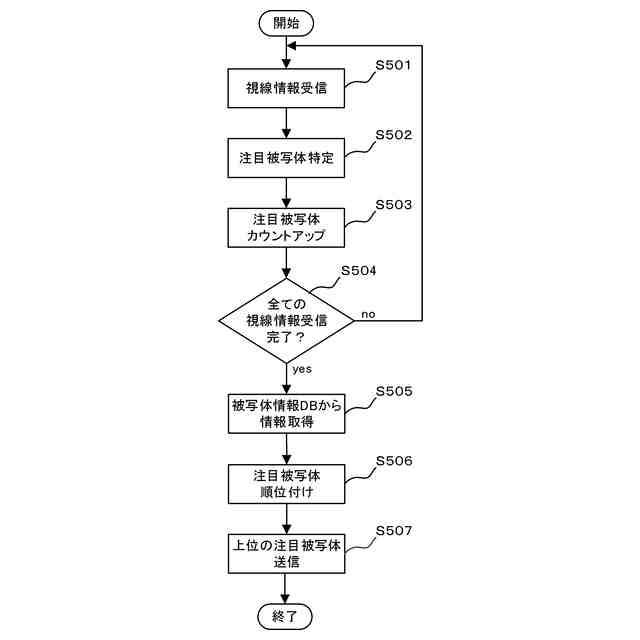
ウェアラブルデバイスの視線情報送信処理を示すフローチャートである。
情報処理装置の視線情報集計処理を示すフローチャートである。
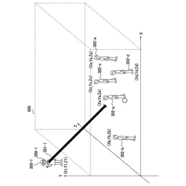
視聴映像空間(3次元空間)の座標管理の事例を示す図である。
ウェアラブルデバイスの表示処理を示すフローチャートである。
ウェアラブルデバイスの表示事例を示す図である。
ウェアラブルデバイスの表示処理を示すフローチャートである。
ウェアラブルデバイスの表示事例を示す図である。
ウェアラブルデバイスの視線情報送信処理を示すフローチャートである。
情報処理装置の視線情報集計処理を示すフローチャートである。
視聴映像空間(3次元空間)の事例を示す図である。
評価値算出結果の事例を示す図である。
ウェアラブルデバイスの表示処理を示すフローチャートである。
ウェアラブルデバイスの表示事例を示す図である。
情報処理装置の視線情報集計処理を示すフローチャートである。
視聴映像空間(3次元空間)の事例を示す図である。
視線密度を示す図である。
情報処理装置とウェアラブルデバイスの構成例を示すブロック図である。
ウェアラブルデバイスの撮影処理を示すフローチャートである。
ウェアラブルデバイスの表示事例を示す図である。
注目被写体の適正露光時の撮影パラメータを示す図である。
情報処理装置とウェアラブルデバイスの構成例を示すブロック図である。
ウェアラブルデバイスの表示事例を示す図である。
ウェアラブルデバイスの表示及び撮影処理を示すフローチャートである。
【発明を実施するための形態】
(【0011】以降は省略されています)
この特許をJ-PlatPat(特許庁公式サイト)で参照する
関連特許
キヤノン株式会社
トナー
1か月前
キヤノン株式会社
トナー
今日
キヤノン株式会社
撮像装置
25日前
キヤノン株式会社
撮像装置
14日前
キヤノン株式会社
定着装置
23日前
キヤノン株式会社
現像装置
1か月前
キヤノン株式会社
撮像装置
16日前
キヤノン株式会社
電子機器
1か月前
キヤノン株式会社
電子機器
16日前
キヤノン株式会社
記録装置
今日
キヤノン株式会社
記録装置
16日前
キヤノン株式会社
撮像装置
15日前
キヤノン株式会社
撮像装置
8日前
キヤノン株式会社
定着装置
14日前
キヤノン株式会社
定着装置
23日前
キヤノン株式会社
電子機器
8日前
キヤノン株式会社
電子機器
8日前
キヤノン株式会社
定着装置
8日前
キヤノン株式会社
収容装置
8日前
キヤノン株式会社
表示装置
7日前
キヤノン株式会社
発光装置
7日前
キヤノン株式会社
電子機器
4日前
キヤノン株式会社
撮像装置
1か月前
キヤノン株式会社
電子機器
2日前
キヤノン株式会社
定着装置
23日前
キヤノン株式会社
記録装置
15日前
キヤノン株式会社
撮像装置
1か月前
キヤノン株式会社
撮像装置
28日前
キヤノン株式会社
撮像装置
今日
キヤノン株式会社
電子機器
28日前
キヤノン株式会社
電子機器
25日前
キヤノン株式会社
電子機器
23日前
キヤノン株式会社
光学装置
28日前
キヤノン株式会社
現像剤容器
1日前
キヤノン株式会社
容器構造体
1か月前
キヤノン株式会社
半導体装置
2日前
続きを見る
他の特許を見る