TOP
|
特許
|
意匠
|
商標
特許ウォッチ
Twitter
他の特許を見る
公開番号
2025154762
公報種別
公開特許公報(A)
公開日
2025-10-10
出願番号
2024057942
出願日
2024-03-29
発明の名称
飛行ロボットの画像表示装置及び画像表示方法
出願人
セコム株式会社
代理人
個人
,
個人
,
個人
,
個人
主分類
H04N
7/18 20060101AFI20251002BHJP(電気通信技術)
要約
【課題】複数の飛行ロボットのそれぞれが撮像した複数の撮像画像を適切に表示することができる画像表示装置及び画像表示方法を提供する。
【解決手段】画像表示装置は、複数の飛行ロボットのそれぞれが撮像した複数の撮像画像を取得する第1取得部と、複数の飛行ロボットのそれぞれの監視目的を取得する第2取得部と、監視目的に基づいて、複数の撮像画像の表示優先度を決定する決定部と、表示優先度に基づく表示態様に従って、複数の撮像画像を表示する表示制御部と、を有する。
【選択図】図5
特許請求の範囲
【請求項1】
複数の飛行ロボットのそれぞれが撮像した複数の撮像画像を取得する第1取得部と、
前記複数の飛行ロボットのそれぞれの飛行情報を取得する第2取得部と、
前記飛行情報に基づいて、前記複数の撮像画像の表示優先度を決定する決定部と、
前記表示優先度に基づく表示態様に従って、前記複数の撮像画像を表示する表示制御部と、
を有することを特徴とする画像表示装置。
続きを表示(約 990 文字)
【請求項2】
前記飛行情報は、前記飛行ロボットの機体又は飛行の状態である飛行ロボット状態、及び、前記飛行ロボットが飛行するエリアの環境状態のうち少なくとも一つによって定まる、請求項1に記載の画像表示装置。
【請求項3】
前記決定部は、複数の前記飛行ロボット状態、又は、複数の前記環境状態を用いて、前記飛行ロボットの飛行リスクを求め、当該飛行リスクに基づいて前記表示優先度を決定する、請求項2に記載の画像表示装置。
【請求項4】
前記決定部は、一又は複数の前記飛行ロボット状態、及び、一又は複数の前記環境状態を用いて、前記飛行ロボットの飛行リスクを求め、当該飛行リスクに基づいて前記表示優先度を決定する、請求項2に記載の画像表示装置。
【請求項5】
前記表示制御部は、前記表示優先度が高い順に所定数の撮像画像、又は、前記表示優先度が閾値以上である撮像画像を強調表示する、請求項1~4の何れか一項に記載の画像表示装置。
【請求項6】
前記表示制御部は、前記表示優先度が高い撮像画像であるほど、より強く強調されるよう強調表示する、請求項5に記載の画像表示装置。
【請求項7】
前記表示制御部は、前記複数の撮像画像を第1表示画面に表示し、前記表示優先度が高い順に所定数の撮像画像、又は、前記表示優先度が閾値以上である撮像画像を第2表示画面に表示する、請求項1~4の何れか一項に記載の画像表示装置。
【請求項8】
前記表示制御部は、前記表示優先度が低い順に所定数の撮像画像、又は、前記表示優先度が閾値未満である撮像画像を表示しない、請求項1~4の何れか一項に記載の画像表示装置。
【請求項9】
前記表示制御部は、前記表示優先度が高い順に所定数の撮像画像、又は、前記表示優先度が閾値以上である撮像画像とともに、当該撮像画像を撮像した飛行ロボットの飛行情報を表示する、請求項1~4の何れか一項に記載の画像表示装置。
【請求項10】
前記表示制御部は、前記表示優先度に基づく表示態様で表示した撮像画像を撮像した飛行ロボットのアイコン画像を、当該表示態様と同じ表示態様で表示する、請求項1~4の何れか一項に記載の画像表示装置。
(【請求項11】以降は省略されています)
発明の詳細な説明
【技術分野】
【0001】
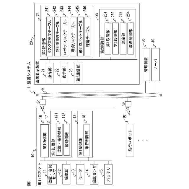
本発明は、複数の飛行ロボットのそれぞれが撮像した複数の撮像画像を表示する画像表示装置及び画像表示方法に関する。
続きを表示(約 1,100 文字)
【背景技術】
【0002】
近年、駅、商業施設、発電所等の監視対象物件の周囲を自律して飛行し、監視対象物件を撮像した画像を監視員が利用する画像表示装置に送信する飛行ロボットが開発されている。画像表示装置は、監視員が監視対象物件を効率良く監視できるように、複数の飛行ロボットのそれぞれが撮像した複数の画像を表示する。
【0003】
例えば、特許文献1には、監視エリアの映像を撮影する各撮影装置の位置情報と、監視エリアにいる監視者の位置情報とに基づいて判定した優先度に応じて映像に関する処理を決定する監視システムが開示されている。
【先行技術文献】
【特許文献】
【0004】
特開2018-170574号公報
【発明の概要】
【発明が解決しようとする課題】
【0005】
複数の飛行ロボットのそれぞれが撮像した複数の撮像画像を表示する画像表示装置において、各撮像画像を適切に表示することが求められている。
【0006】
本発明の目的は、複数の飛行ロボットのそれぞれが撮像した複数の撮像画像を適切に表示することができる画像表示装置及び画像表示方法を提供することにある。
【課題を解決するための手段】
【0007】
かかる課題を解決するため本発明は、複数の飛行ロボットのそれぞれが撮像した複数の撮像画像を取得する第1取得部と、複数の飛行ロボットのそれぞれの飛行情報を取得する第2取得部と、飛行情報に基づいて、複数の撮像画像の表示優先度を決定する決定部と、表示優先度に基づく表示態様に従って、複数の撮像画像を表示する表示制御部と、を有する画像表示装置を提供する。
【0008】
この画像表示装置において、飛行情報は、飛行ロボットの機体又は飛行の状態である飛行ロボット状態、及び、飛行ロボットが飛行するエリアの環境状態のうち少なくとも一つによって定まることが好適である。
【0009】
この画像表示装置において、決定部は、複数の飛行ロボット状態、又は、複数の環境状態を用いて、飛行ロボットの飛行リスクを求め、その飛行リスクに基づいて表示優先度を決定することが好適である。
【0010】
この画像表示装置において、決定部は、一又は複数の飛行ロボット状態、及び、一又は複数の環境状態を用いて、飛行ロボットの飛行リスクを求め、その飛行リスクに基づいて表示優先度を決定することが好適である。
(【0011】以降は省略されています)
この特許をJ-PlatPat(特許庁公式サイト)で参照する
関連特許
セコム株式会社
自律移動ロボット
19日前
セコム株式会社
火災監視システム
26日前
セコム株式会社
表示機能付き認証装置
19日前
セコム株式会社
生活見守りシステム及びプログラム
19日前
セコム株式会社
データ処理装置及びデータ処理方法
26日前
セコム株式会社
生活見守りシステム及びプログラム
19日前
セコム株式会社
自律移動ロボットおよび制御システム
19日前
セコム株式会社
自律移動ロボットおよび制御システム
19日前
セコム株式会社
センタ装置、対話システム及び対話方法
27日前
セコム株式会社
対話システム、対話方法及びセンタ装置
27日前
セコム株式会社
飛行ロボットの画像表示装置及び画像表示方法
19日前
セコム株式会社
飛行ロボットの画像表示装置及び画像表示方法
19日前
株式会社デンソーウェーブ
通行管理システム
20日前
セコム株式会社
飛行ロボットの画像表示装置および画像表示方法
20日前
セコム株式会社
飛行ロボットの画像表示装置および画像表示方法
20日前
セコム株式会社
自律飛行ロボットの飛行制御システム及び飛行制御方法
20日前
セコム株式会社
飛行ロボットの画像管理装置、画像管理システム及び画像管理方法
19日前
セコム株式会社
飛行ロボットの画像管理装置、画像管理システム及び画像管理方法
19日前
セコム株式会社
飛行ロボットの画像管理装置、画像管理システム及び画像管理方法
19日前
セコム株式会社
飛行ロボットの画像管理装置、画像管理システム及び画像管理方法
19日前
セコム株式会社
データ処理装置、学習データ生成装置、データ処理方法及び学習データ生成方法
22日前
セコム株式会社
警備システム、携帯端末、プログラム及び警備方法
1日前
セコム株式会社
警備システム、携帯端末、プログラム及び警備方法
1日前
個人
イヤーマフ
5日前
個人
監視カメラシステム
14日前
キーコム株式会社
光伝送線路
15日前
サクサ株式会社
中継装置
21日前
個人
スキャン式車載用撮像装置
14日前
WHISMR合同会社
収音装置
1か月前
サクサ株式会社
中継装置
20日前
アイホン株式会社
電気機器
1か月前
キヤノン株式会社
撮像装置
2か月前
サクサ株式会社
無線システム
19日前
キヤノン電子株式会社
画像読取装置
13日前
キヤノン電子株式会社
画像読取装置
1か月前
株式会社リコー
画像形成装置
7日前
続きを見る
他の特許を見る