TOP
|
特許
|
意匠
|
商標
特許ウォッチ
Twitter
他の特許を見る
10個以上の画像は省略されています。
公開番号
2025144468
公報種別
公開特許公報(A)
公開日
2025-10-02
出願番号
2024044267
出願日
2024-03-19
発明の名称
センタ装置、対話システム及び対話方法
出願人
セコム株式会社
代理人
弁理士法人南青山国際特許事務所
主分類
H04M
11/00 20060101AFI20250925BHJP(電気通信技術)
要約
【課題】個々のユーザに応じた対話を行う。
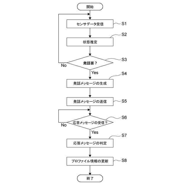
【解決手段】対話システムは、ユーザの居住空間にある1又は複数のセンサと、対話装置と、を具備する対話システムであって、前記対話装置は、前記センサから出力されるセンサデータを受信するセンサデータ受信手段と、前記センサデータに基づいて、前記居住空間内のユーザに係る状態を推定する状態推定手段と、前記状態推定手段が推定した前記状態に応じた発話メッセージを生成するメッセージ生成手段と、生成した前記発話メッセージを音声出力する出力手段と、音声出力した前記発話メッセージに対するユーザの応答メッセージを音声入力する入力手段と、前記応答メッセージに基づいて、前記状態推定手段にて推定した前記状態に対して音声出力する前記発話メッセージの要否又は頻度を判定する判定手段と、を有する。
【選択図】図4
特許請求の範囲
【請求項1】
ユーザの居住空間にある1又は複数のセンサと、
対話装置と、
を具備する対話システムであって、
前記対話装置は、
前記センサから出力されるセンサデータを受信するセンサデータ受信手段と、
前記センサデータに基づいて、前記居住空間内のユーザに係る状態を推定する状態推定手段と、
前記状態推定手段が推定した前記状態に応じた発話メッセージを生成するメッセージ生成手段と、
生成した前記発話メッセージを音声出力する出力手段と、
音声出力した前記発話メッセージに対するユーザの応答メッセージを音声入力する入力手段と、
前記応答メッセージに基づいて、前記状態推定手段にて推定した前記状態に対して音声出力する前記発話メッセージの要否又は頻度を判定する判定手段と、
を有する
対話システム。
続きを表示(約 1,600 文字)
【請求項2】
請求項1に記載の対話システムであって、
前記判定手段は、前記応答メッセージに基づいて、前記発話メッセージに対する前記ユーザの拒否的/好意的な反応を示す極性を判定し、当該極性に基づいて前記要否又は前記頻度を判定する
対話システム。
【請求項3】
請求項2に記載の対話システムであって、
前記判定手段は、前記応答メッセージに基づいて、前記発話メッセージに対する前記ユーザの拒否的/好意的な反応の大きさを表す極性値を求め、当該極性値に基づいて前記要否又は前記頻度を判定する
対話システム。
【請求項4】
請求項1乃至3の何れか一項に記載の対話システムであって、
前記対話装置は、各状態に関する前記ユーザの特性を表すプロファイル情報を記憶する記憶手段を更に備え、
前記判定手段は、前記応答メッセージに基づいて、前記発話メッセージに対する前記ユーザの拒否的/好意的な反応を判定して前記プロファイル情報を変更し、当該プロファイル情報に基づいて前記発話メッセージの要否又は頻度を判定する
対話システム。
【請求項5】
請求項4に記載の対話システムであって、
前記プロファイル情報として、前記ユーザの各状態に対して、一日の時間帯ごとの前記反応に係る情報が記憶され、
前記判定手段は、前記状態推定手段にて推定した前記状態の推定時刻に対応する前記時間帯の前記プロファイル情報に基づいて前記発話メッセージの要否又は頻度を判定する
対話システム。
【請求項6】
請求項4に記載の対話システムであって、
前記プロファイル情報として、前記ユーザの全状態の平均極性値と、当該ユーザの各状態に係る極性値とを記憶し、
前記判定手段は、前記平均極性値と所定状態の前記極性値との相違に基づいて、前記状態推定手段にて当該所定状態を推定した場合における前記発話メッセージの要否又は頻度を判定する
対話システム。
【請求項7】
請求項1乃至3の何れか一項に記載の対話システムであって、
前記状態ごとに対応付けて該状態の重要度合いを示す重要度が記憶され、
前記判定手段は、前記状態推定手段にて推定した状態の重要度に基づいて前記発話メッセージの要否又は頻度を判定する
対話システム。
【請求項8】
請求項1乃至3の何れか一項に記載の対話システムであって、
前記判定手段は、前記ユーザの警備状態に基づいて前記発話メッセージの要否又は頻度を判定する
対話システム。
【請求項9】
請求項4に記載の対話システムであって、
前記メッセージ生成手段は、前記プロファイル情報に基づいて前記発話メッセージの強さを決定する
対話システム。
【請求項10】
ユーザの居住空間にある1又は複数のセンサから出力されるセンサデータを受信するセンサデータ受信手段と、
前記センサデータに基づいて、前記居住空間内のユーザに係る状態を推定する状態推定手段と、
前記状態推定手段が推定した前記状態に応じた発話メッセージを生成するメッセージ生成手段と、
ユーザと双方向でメッセージのやり取りを行う端末装置に対して前記発話メッセージを送信する応答送信手段と、
前記発話メッセージに対する前記ユーザの応答メッセージを、前記端末装置から受信するメッセージ受信手段と、
前記応答メッセージに基づいて、前記状態推定手段にて前記状態を推定した場合における前記発話メッセージの要否又は頻度を判定する判定手段と、
を具備する
センタ装置。
(【請求項11】以降は省略されています)
発明の詳細な説明
【技術分野】
【0001】
本発明は、音声の入出力機能を持つ端末装置を用いた対話システム及び対話方法並びにセンタ装置に関する。
続きを表示(約 1,800 文字)
【背景技術】
【0002】
孤独感は認知症等の重大な健康リスクにつながる要因であるが、独居世帯(特に高齢者の独居)の増加と昨今の感染症蔓延リスクの増大とが相まって孤独感が生じやすい状況にあり、孤独感の解消は重要な社会課題となっている。孤独感の解消には雑談等の日常対話が有効と考えられる。
【0003】
そこで、近年、特に独居の高齢者宅に音声の入出力機能を持つ機器(例えば対話型ロボット)を設置して、当該機器を介して音声での雑談等の日常対話をすることで孤独感を解消するコミュニケーションサービスが提案されている。
【0004】
そのシステムでは、ユーザが自宅の機器に話しかけると、その内容が音声認識技術により文字列化されて、サービスを提供する業者の管理センタにメッセージ送信される。管理センタでは、当該メッセージの受信に気が付いたオペレータがセンタ装置に返事を入力して、それがユーザ側に返信される。
【先行技術文献】
【特許文献】
【0005】
特開2021-157419号公報
特開2007-286376号公報
【発明の概要】
【発明が解決しようとする課題】
【0006】
人手を介した対話サービスや、コミュニケーションロボットによる自動応答対話サービスが行われている。しかし、労働力人口減少に伴う人手不足も同様に社会課題となっており、オペレータの人手による対応には限界がある。オペレータがユーザに対する返信を入力する際、オペレータのこれまでユーザと交わしてきたメッセージの記憶や経験に基づいて、当該ユーザからのメッセージを理解したり、ユーザの状態を判断したうえで、返信メッセージを作成しなければならない。しかし、一人のオペレータが対応するユーザ数が増えるほどこのような対応は困難となり、またオペレータの交代などに伴う引継ぎが困難となるなどの運用負荷が大きい。一方、人手を介さないコミュニケーションロボットは、対話の質が低い(不適切な応答、定型的な応答など)ことにより、ユーザから敬遠される可能性がある。
【0007】
特許文献1は、オペレータの応答候補を分類(肯定、反論、話題転換)ごとに評価値とともに表示することで、オペレータの応答を支援するUIを提案する。しかしながら、ユーザからのメッセージに対してオペレータが応答する場合、オペレータが逐一、応答メッセージを考えることは負担が大きく、また、オペレータによって応答メッセージの質がバラバラになるおそれがある。特許文献1は、オペレータに対して応答候補を表示するが、オペレータがそれぞれの候補を確認して応答メッセージを決定する必要があるため、依然としてオペレータに負担がある。
【0008】
特許文献2は、ロボットが応答メッセージを決定できない場合に遠隔支援装置に応答の支援を依頼することで、自動応答とオペレータを介する応答とを使い分ける技術を提案する。しかしながら、雑談等の日常対話のように応答メッセージの適切性についてロボットによる判定が容易ではない対話では、都度、オペレータ対応に切替えるとオペレータの負担が過剰になるおそれがある。
【0009】
以上のような事情に鑑み、本発明の目的は、個々のユーザに応じた対話を行うことが可能な対話システムを提供することにある。
【課題を解決するための手段】
【0010】
本発明の一形態に係る対話システムは、
ユーザの居住空間にある1又は複数のセンサと、
対話装置と、
を具備する対話システムであって、
前記対話装置は、
前記センサから出力されるセンサデータを受信するセンサデータ受信手段と、
前記センサデータに基づいて、前記居住空間内のユーザに係る状態を推定する状態推定手段と、
前記状態推定手段が推定した前記状態に応じた発話メッセージを生成するメッセージ生成手段と、
生成した前記発話メッセージを音声出力する出力手段と、
音声出力した前記発話メッセージに対するユーザの応答メッセージを音声入力する入力手段と、
前記応答メッセージに基づいて、前記状態推定手段にて推定した前記状態に対して音声出力する前記発話メッセージの要否又は頻度を判定する判定手段と、
を有する。
(【0011】以降は省略されています)
この特許をJ-PlatPat(特許庁公式サイト)で参照する
関連特許
セコム株式会社
自律移動ロボット
23日前
セコム株式会社
火災監視システム
1か月前
セコム株式会社
表示機能付き認証装置
23日前
セコム株式会社
生活見守りシステム及びプログラム
23日前
セコム株式会社
データ処理装置及びデータ処理方法
1か月前
セコム株式会社
生活見守りシステム及びプログラム
23日前
セコム株式会社
自律移動ロボットおよび制御システム
23日前
セコム株式会社
自律移動ロボットおよび制御システム
23日前
セコム株式会社
対話システム、対話方法及びセンタ装置
1か月前
セコム株式会社
センタ装置、対話システム及び対話方法
1か月前
セコム株式会社
端末所持者検知装置及び端末所持者検知方法
1か月前
セコム株式会社
飛行ロボットの画像表示装置及び画像表示方法
23日前
セコム株式会社
飛行ロボットの画像表示装置及び画像表示方法
23日前
株式会社デンソーウェーブ
通行管理システム
24日前
セコム株式会社
飛行ロボットの画像表示装置および画像表示方法
24日前
セコム株式会社
飛行ロボットの画像表示装置および画像表示方法
24日前
セコム株式会社
自律飛行ロボットの飛行制御システム及び飛行制御方法
24日前
セコム株式会社
飛行ロボットの画像管理装置、画像管理システム及び画像管理方法
23日前
セコム株式会社
飛行ロボットの画像管理装置、画像管理システム及び画像管理方法
23日前
セコム株式会社
飛行ロボットの画像管理装置、画像管理システム及び画像管理方法
23日前
セコム株式会社
飛行ロボットの画像管理装置、画像管理システム及び画像管理方法
23日前
セコム株式会社
データ処理装置、学習データ生成装置、データ処理方法及び学習データ生成方法
26日前
セコム株式会社
警備システム、携帯端末、プログラム及び警備方法
5日前
セコム株式会社
警備システム、携帯端末、プログラム及び警備方法
5日前
セコム株式会社
携帯端末、警備システム、プログラム及び表示方法
1か月前
個人
イヤーマフ
9日前
個人
監視カメラシステム
18日前
個人
スイッチシステム
3日前
キーコム株式会社
光伝送線路
19日前
WHISMR合同会社
収音装置
1か月前
サクサ株式会社
中継装置
25日前
個人
スキャン式車載用撮像装置
18日前
サクサ株式会社
中継装置
24日前
アイホン株式会社
電気機器
1か月前
キヤノン株式会社
撮像装置
2か月前
個人
映像表示装置、及びARグラス
4日前
続きを見る
他の特許を見る